节约是社会主义经济的基本原则之一。勤俭办一切事业,什么事情都应当执行勤俭节约原则。这是伟大领袖毛主席的教导,我们应当随时随地注意贯彻,业余无线电活动也不例外。下面介绍应用旧电源变压器装制普及型收音机的办法,事情虽小,也是在学习和贯彻最高指示当中,在指示启发下取得的经验。

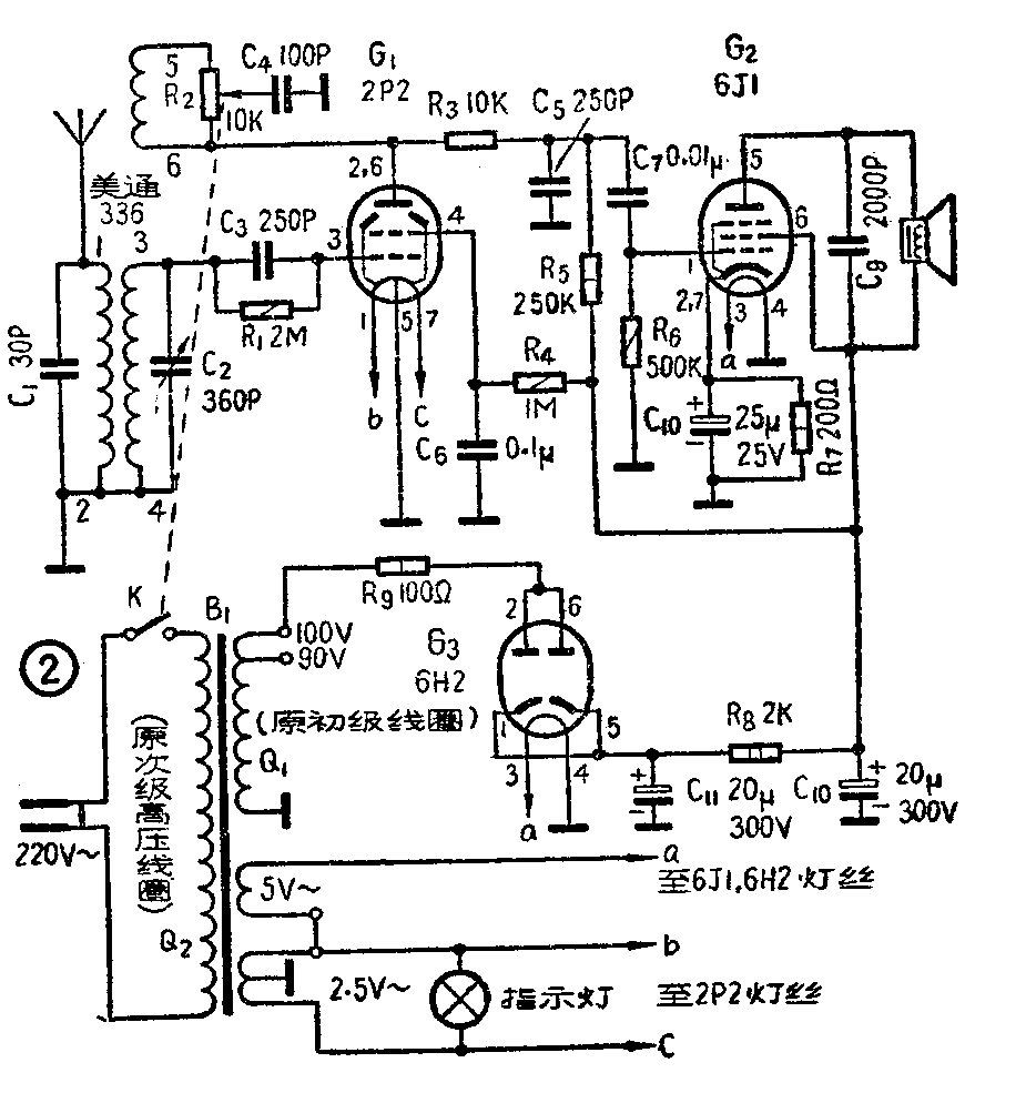
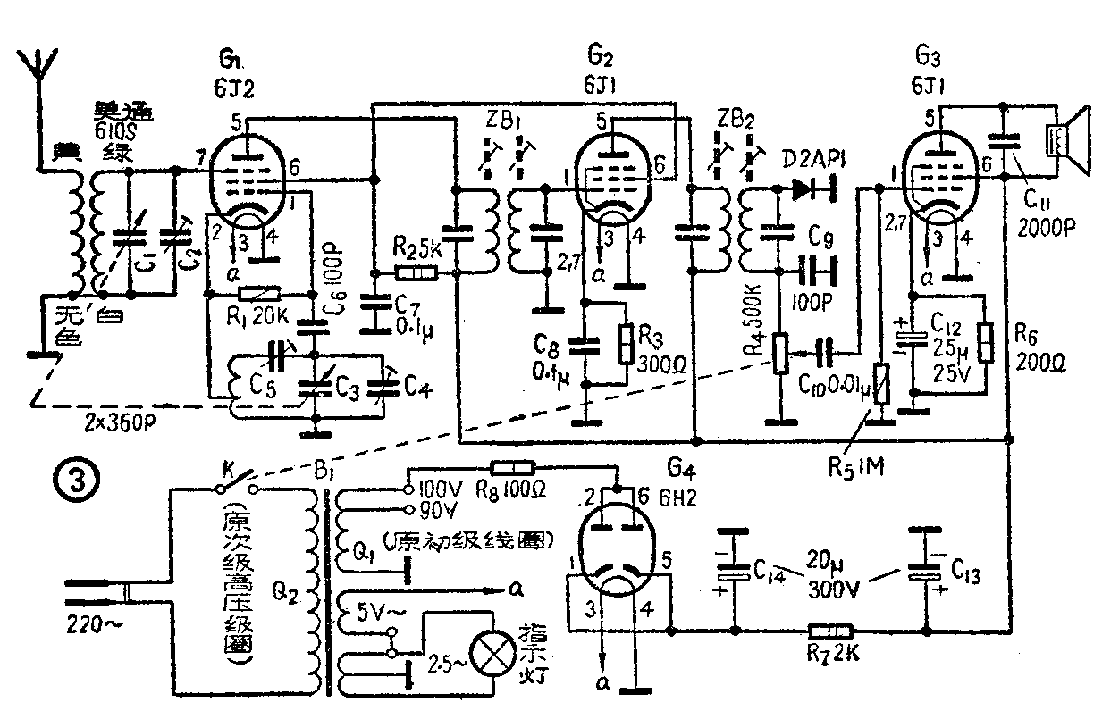
我们地区还存在有许多旧型号的收音机,由于线路陈旧、电子管效率低,已经不堪再用。但是其中的若干元件,例如电源变压器,多数还是完好的。这种电源变压器的结构一般如图1所示。它的初级原来仅适合用于110伏电源,现在当地电源电压改为220伏了,所以不经改接,也不能直接再用。变压器的次级还有一个250伏上下的高压线圈(图1中的Q\(_{2}\))。现把Q2改作初级接220伏电源,而把原来的初级线圈Q\(_{1}\)当作次级高压线圈,以供整流乙电使用,这样采用省电的国产小型管,便可以装成以下两种简单的收音机,实验表明,效果很好,经济实用。

1.再生式三灯机 电路及元件数值如图2。变压器的Q\(_{2}\)绕组用线较细,电流较小,而Q1绕组作为次级整流电压较低,在100伏以下,因此电子管的选择运用,十分重要,只有那些灯丝电流小、屏极电压低、耗电小的管子,才能保证机器工作正常而变压器又不致过负荷。这里再生检波管(G\(_{1}\))采用于电池式功率放大管2P2充当,因为它的工作屏压在60~90伏之间,阴极电流为5毫安左右,灯丝电压为2.4伏,而且灯丝有中心抽头。这样它就可以利用变压器原有的2.5伏档来燃点灯丝,并将中心出头接地,作为屏栅回路的公共零点,使栅极对灯丝各点平均来说交流电位为零,从而可以抑制直热式电子管用交流电燃点灯丝而引起的交流哼声。音频放大(G2)采用6J1小型五极管,主要取其灯丝电流小,只有0.175安,需要的工作屏压在120伏以下,阴极电流不大于11毫安。整流管(G\(_{3}\))选用6H2,也是由于它的灯丝电流小,只有0.3安,而且很适合于120伏以下的弱电整流,长期使用不致损坏。G2和G\(_{3}\)灯丝电压需要6.3伏,是由变压器原有的5伏绕组与2.5伏绕组的一半串联起来取得。串联时应当用万用表交流电压档或6~8伏小电珠,接在5伏绕组的a点与2.5伏绕组的中心抽头之间测量一下。如测得电压达不到6伏反而低于5伏,则应将与5伏串联的b头与c头对调一下。本机采用舌簧喇叭。如用永磁电动式扬声器,应当配用2P2管的成品输出变压器,或按本刊1963年第11期13页介绍的数据自绕。图中C1是为抑制串台而加的,可根据具体情况在20~50微微法之间选取,也可以舍去不用。

2.超外差或四灯机 电路及元件数值如图3。用6J2担任变频,也是取其灯丝电流小,所需工作屏压低。中放管可用6J1或6J2,6J1担任低放,6H2作半波整流。检被用半导体二极管一只。本机无自动增益控制,但经实验,无论在大城市,或在距强力电台较远的中小城镇使用,效果是很好的,灵敏度和选择性均可满足一般需要。具体制作和调整方法,以前有过介招,这里不再赘述了。(周国煜)