助听器是耳聋患者之友,通常由话筒、放大器、耳机三部分构成。声音由话筒输入,转换成电信号后经放大器放大,再由耳机还原为原来的声音。助听器的放大级数根据耳聋的严重程度而定,一般不超过四级放大。对于简易型助听器总希望放大级数最少而又能满足使用要求。采用碳粒话筒后,这一点是不难做到的。耳机最好选购耳塞式的,既轻小使用又方便。
市售的电话用的送话器就是典型的碳粒话筒,它具有高灵敏度等特点,但由于它的本身固有噪声大等弱点,限制了它的广泛应用。这种话筒的额定工作电压为3伏,电流为15到50毫安不一,随本身内阻大小而异。在助听器上代用时,工作电流当然不可能达到这样大,为了延长电池的使用寿命,不得不压低工作电流,但工作电流的改变又要影响到灵敏度的变化:电流太小将使灵敏度显著下降,同时噪声也大,当电流小到0.8毫安以下时尤其是这样。在试验中发现这种话筒工作在2~5毫安电流下性能尚良好;又根据助听器的特点,用单电池(1.5伏)供电时有2~3毫安的电流较好;双电池(3伏)供电时可以酌情提高一些。购买这种送话器时注意它有低阻、中阻、高阻之分,以便装配时正确选定电阻阻值的大小。
挑选耳机的关键在于它的阻抗和直流电阻的大小。阻抗(在1000赫时)大约以800欧为宜,太大则输出功率小,难于满足使用要求;大小又将降低电声转换效率,提高对放大器的要求,故大于1500欧小于200欧的在助听器上最好不用。
直流电阻在300欧以内对于把耳机直接接入晶体管的集电极电路是有利的,能充分利用电源能量。选购时可用三用电表测量,放在1千欧档,将两根表笔去触耳机的引出线,试听“哗啦”声的大小来判断效率的大小,声大的效率也高,声小的不好。若手头没有三用表,可用一节干电池串一个几百欧姆的电阻来代试也行。在助听器上通过耳机的电流以1.5毫安左右为宜。耳机阻值小的通过电流可大一些;阻值大的通过电流稍小些,但不宜过小,因为耳机的效率与电流大小也有关系。
应用上述器件试装一个单级放大简易型助听器,调好了可以供中、轻耳聋患者应用,用两级放大就更满意了,对简易型的级数再多就意义不大了。
下面介把几种电路,供试制参考。

图1(甲)的电路中仅用一个电阻R\(_{1}\),既是晶体管的偏置电阻,又是控制通过话筒的电流的限流电阻。一个元件同时起两种作用,它的阻值大小不易确定,必须通过试验同时兼顾两方面需要来选用,用单电池供电时大约在1千欧左右。
图1(乙)是在(甲)图上加了音量控制,控制电位器可用小型4.7千欧的一种。
图2(甲)是把图1中R\(_{1}\)的两种作用分开来。R1只控制话筒电流,其阻值很易确定。如用单电池供电,需要通过2~3毫安的电流,则R\(_{1}\)的数值如附表所列。
话筒阻值(Ω) 低阻 中阻 高阻
30~65 65~145 145~300
R\(_{1}\) 值(Ω) 470~680 390~470 300~390
偏流电阻 R\(_{2}\)与晶体管的放大倍数和负载(耳机)的大小有关。一般晶体管放大倍数愈高,负载愈小,则电阻R2的阻值一般也愈要大些,通常在几十千欧的数量级。隔直流电容器C的电容量不要小于0.5微法,大一点有益无害。有人试图把R\(_{2}\)取消,这对延长电池寿命有利,但听起来声音有断续感,一般不常用。
图2(乙)加了音量控制。为了扩展音量控制范围,这里的限流电阻R\(_{1}\)可以减小到100欧左右。当用高阻话筒时,可以省掉R1。

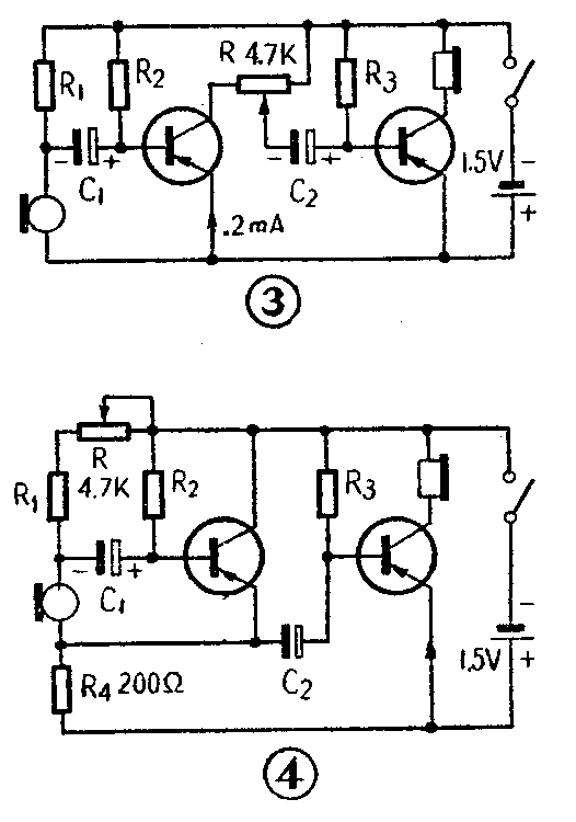
图3又多加了一级放大。关键在于第一级正常工作状态的选择。从噪声角度出发,晶体管的工作电流小好,但小电流将使管子的放大倍数急剧下降,同时将使管子工作在特性曲线弯曲部分,导致非线性失真。因此要兼顾噪声与失真两方面。对国产晶体管而言,这个电流不能比200微安更小,在300微安左右性能较好,若采用4.7千欧小型电位器,单节电池供电时只能在200~220微安。
图4的话筒接法区别于图3,放大倍数与图3同,但这种接法比图3更优越。尤其是在多级放大器中,不用降压滤波能稳定地工作,即不易产生由电源而引起的振荡。这里的R\(_{4}\)阻值要小些,才能保证通过话筒足够的电流。R1越小越好,甚至可以省略。(人静)