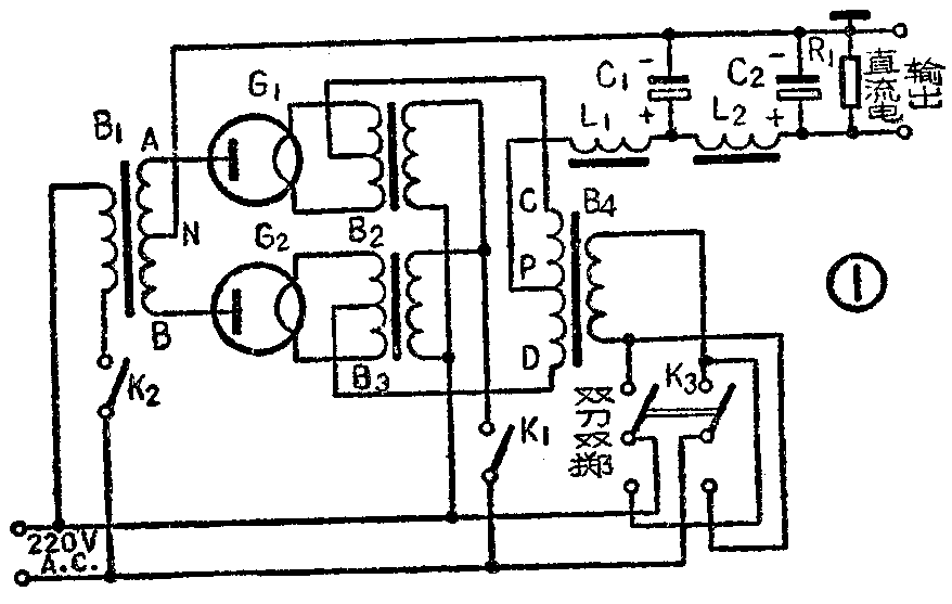
这个线路的特点,就是从一个整流器里,可以有四种不同的输出电压,任意选择应用。四种输出电压的获得,是利用两只变压器的电动势相加、相减或由两只变压器之一单独输出等方式达到的。
假使我们需要的电压,要比原有的整流器所输出的高一些或低一些,我们就可以无需另外设计或装置新的整流器,譬如说从1750伏提高到2000伏,我们只要按照这个线路加一只低压变压器,把所缺的电压补足就行。如果要降低的时候,也是一样。这比采用其它措施来调整,似乎要方便经济一些。若要同时有选用几种不同电压的可能性,那这个办法,就更具有一定参考价值。

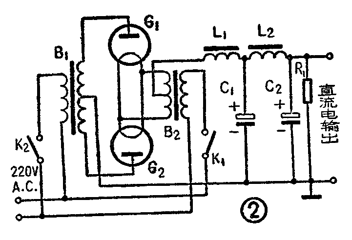
图②是常用的整流器线路,它的工作原理在一般无线电书刊中都有介绍,不在这里重复叙述。
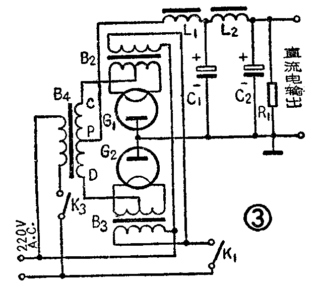
图③的线路,虽然较为少见,但有时为了减少屏路的危险性或其他原因,采用这种屏极接地的整流线路,只需将灯丝的电源供给分开就行。实际上,图③和图②的线路,基本上没有区别,不过屏极和丝极接线对调一下而已。
如在图③的屏极间,像图②一样,加接一个变压器,再在它的中点接地,即得图①的线路。这里要注意:不接地的一个变压器,它的绝缘要求较高,(在图①中,B\(_{4}\)的绝缘要求高于B1)所以应将绝缘好的接在丝极一边。关于取得四种不同输出电压的条件是:
a)于图①中,若开关K\(_{1}\)、K2和K\(_{3}\)都是闭合的。但双刀双掷开关K3\(_{4}\)接到电源上的方向可以变换,如果所选的一种联接,恰好使变压器B1副线圈A端与变压器B\(_{4}\)副线圈D端的极性相同,则B端与C端极性亦相同,此时负载电阻R1的两端即有最大的输出电压。因为如果于交流电某半周时,C端的极性为负,PC线圈和NA线圈的感应电动势在串联电路中的方向相同,而于另半周,即D端的极性为负时,PD线圈和NB线圈的感应电动势在串联电路中方向相同,所以合成的电动势为两变压器的电动势之和,R\(_{1}\)两端的输出电压最大。
b)如果开关K\(_{1}\)、K2和K\(_{3}\)都是闭合的,而开关K3掷到与(a)相反的另一方,使变压器B\(_{1}\)副线圈的A端跟变压器B4副线圈的C端的极性相同,即B端与D端的极性亦相同,则在交流电的两个半周中,两变压器的副线圈的电动势,在串联电路中的方向都是相反,因此合成的电动势等于两变压器的电动势之差,所以R\(_{1}\)两端的输出电压,比由一个变压器单独输出时的电压还小。
c)如果开关K\(_{1}\)、K3闭合,而开关K\(_{2}\)断路,图①的线路就变为图③,R1两端的输出电压,仅来源于变压器B\(_{4}\)的电动势。B1仅相当于增加一个滤波阻流圈。
d)如果开关K\(_{1}\),K2闭合,而开关K\(_{3}\)断路,图①便成为图②,R1两端的电压,仅由变压器B\(_{1}\)供给,而B4相当于增加的滤波阻流圈。
从以上说明可以看出,只要按上述四种情况控制开关,即可任意选用一种输出电压。这种控制输出电压办法的优点,和通常采用降压、分压电阻等办法相较,除较为灵活外,还在于电能耗损极少。因而维护起来,亦较简易。在节约方面,亦有一定意义。凡有这种特殊需要的,可供参考。(华增源)

