利用鱼群探测仪可以在茫茫的大海中找到鱼群,测知鱼群的密集程度和鱼群离海面的距离。另外,它还可以探测到海底的深浅和有无暗礁。因此,它在目前的渔业生产中起着很大的作用,深受渔民的欢迎,被渔民称做“海底眼”。利用鱼群探测仪探测到鱼群后再放网,可以使渔获量大大增加。
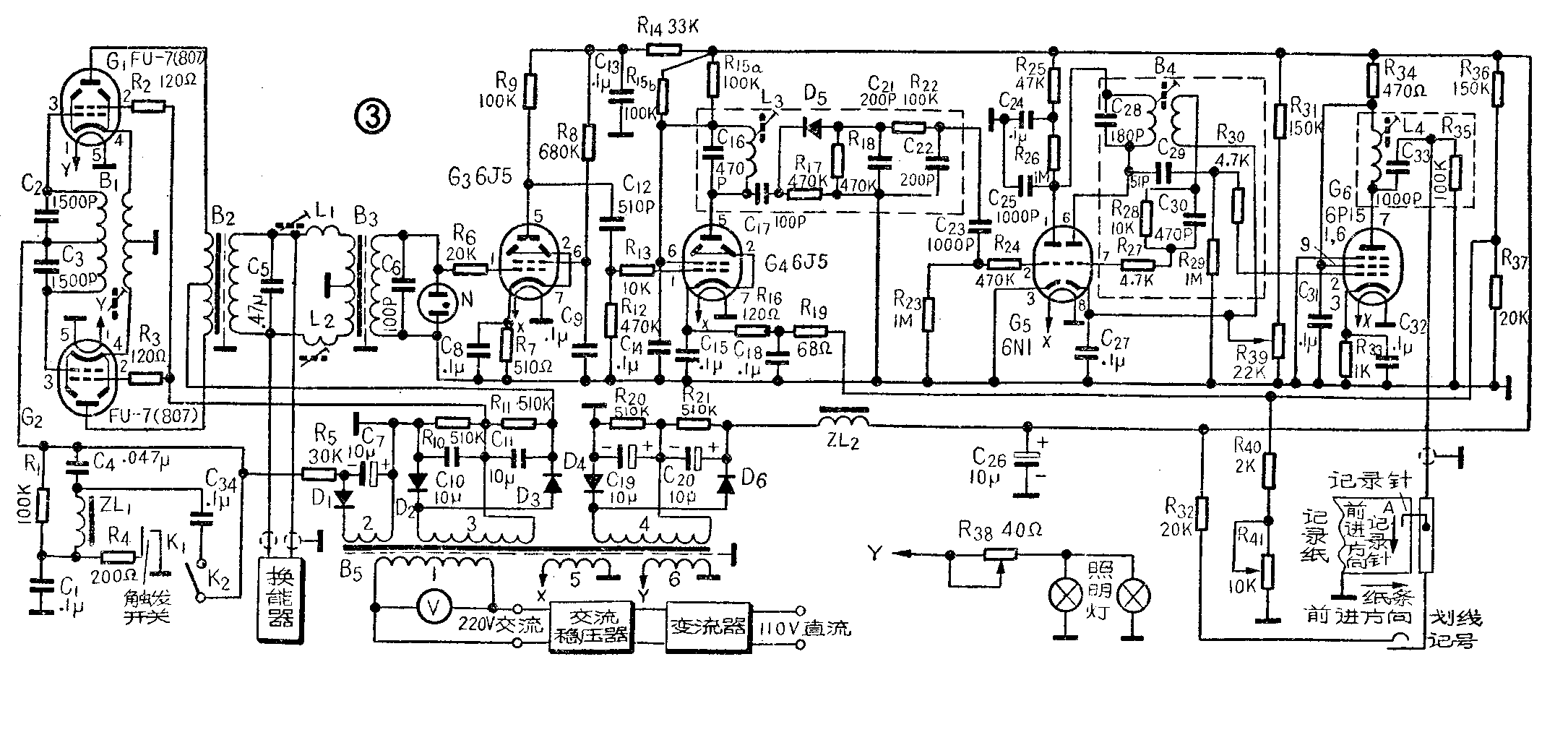
本文介绍上海中原电器厂出产的一种CYT—4型超声波鱼群探测仪。这种仪器的外形图见图1,其方框图如图2所示。超声频发射器产生超声频电脉冲,加到装在船底的超声换能器上,换能器即垂直向海底发射一个超声波脉冲。同时记录器中的记录针在纸上记下零位线。超声波脉冲在向下传播的过程中,如遇到鱼群或海底时,就被反射回来。通过换能器把反射回来的超声波脉冲变换成电脉冲,经接收放大器放大后,再通过沿记录纸面以恒定线速运动的记录针记录在纸上(用放电击穿的方法在记录纸上留下黑色烧斑)。因为记录针的移动速度是恒定的,所以根据零位线与目标记录之间的距离,就可以利用刻度标尺直接读出目标所在的深度。


1.超声换能器。用来把发射器产生的超声频脉冲变换成超声波脉冲射向海底;同时用来将海底或鱼群反射回来的超声波脉冲转换成电信号送入接收放大器。本仪器的换能器由具有磁致伸缩性能的镍片迭制而成,其谐振频率为48千赫。
2.超声频发射器。用来产生超声频电脉冲。它由两个大功率电子管G\(_{1}\)、G2(均为FU—7)构成推挽电子耦合振荡电路,产生等幅振荡脉冲。振荡频率由变压器B\(_{1}\)左边的线圈与C2、C\(_{3}\)构成的振荡回路来确定。振荡脉冲由两电子管的屏极输出,所以振荡频率较稳定。输出通过变压器B2加到换能器上,以获得良好的匹配。
平时,由二极管D\(_{1}\)整流而得的很大的负电压通过R5加到电子管G\(_{1}\)和G2的栅极,使两电子管截止,不能产生振荡。当记录器中的传动皮带拖着记录针转到零位时(图右下方记录纸中注有A点处),皮带上的触发块与触发簧片接触,也就是使图中的触发开关K\(_{1}\)闭合,使R4接地。这样,电子管G\(_{1}\)和G2栅极电位突增,开始产生振荡。随后皮带继续转动,触发块与簧片离开,即K\(_{1}\)断开,电子管栅压又逐渐降低,直至截止,从而使振荡停止。振荡的持续时间,也就是发出的超声频脉冲的宽度,决定于R1、R\(_{5}\)、C1、C\(_{4}\)、C34和电感ZL\(_{1}\)的数值。当打开K2除去C\(_{34}\)时(面板上“脉冲宽度”开关扳向左),脉冲宽度为1毫秒;当合上K2加入C\(_{34}\)时(面板上开关扳向右),脉冲宽度为2毫秒。
当发射器向外发射超声脉冲时,这一脉冲信号也通过变压器B\(_{3}\)加到接收放大器。放大器输出信号加到记录针上,就在记录纸的A处得一黑色烧斑。因为每次都是记录针转到A处时发出脉冲,而记录纸是逐步向右移动的,所以经过记录后,记录纸的上部就得出一条由黑斑组成的水平线,这条线称为零位线或发射线。
3.接收放大器。由于换能器所接收到的回波信号极为微小,在微伏数量极,所以必须经放大器放大到足以使记录纸击穿所需的电压。放大器是由电子管G\(_{3}\)(6J5)、G4(6J5)、G\(_{5}\)(6N1)、G6(6P15)所组成。G\(_{3}\)为阻容耦合放大器,G4为调谐在48千赫的谐振放大器,G\(_{5}\)左半个三极管为控制管,右半个三极管为屏极调谐、栅极反馈的振荡器,振荡频率调谐在70—100千赫。右半管的屏极电源从左半管的屏极取得。平时由于G5左半管屏极电流较大,因此右半管的屏极与阴极间电位差甚小,不能产生振荡。当有外来脉冲信号时,此信号被前二级(G\(_{3}\)、G4)放大,并由晶体管检波器D\(_{5}\)检波后,在G5左半管栅极上即出现一个负脉冲,使左半管屏极电流减小,因而使屏极电压升高,也即是右半管屏极供电电压升高,从而产生振荡。振荡脉冲形状由接收到信号的包络线所控制。G\(_{5}\)右半管的临界振荡点可由电位器R39进行调节。C\(_{23}\)和R23构成微分电路,其作用有二:一是可抑制噪声,二是使接收到的回波信号包络线变窄,从而可提高对鱼群的分辨能力。G\(_{8}\)为功率放大器,屏极调谐在和C5右半管相同的频率上,以便获得最大的输出。输出信号加在记录针上,当有输出时,记录针放电,在纸上留下黑色烧斑。
G\(_{3}\)栅路内的N为氖灯,是用来保护电子管G3的。当发射器发射时,有一很高的电压进入接收器,氖灯将其限制在氖灯的导通电压上,起到限幅作用。
B\(_{3}\)是输入变压器,其作用是使换能器与放大器获得匹配,以便在放大器中获得最大的输入电压和抑制外界干扰,它对鱼探仪抗干扰性能起着一定的作用。
电位器R\(_{41}\)是增益控制电位器,由面板上的“增益”旋钮来调节,利用它来改变G4的阴极电压(即栅偏压),以达到控制增益的目的。
由上述可见,这个接收放大器是采用触发振荡式的,即先将接收到的回波信号加以放大,检波成脉冲包络信号,去触发另一个不同频率的振荡器,经功率放大而输出至记录针。这种电路有两个优点:一是触发振荡器的增益高,以较小的电压去触发振荡器而能获得较大的振荡电压输出;二是经触发振荡器后,使接收放大器前后级频率不一样,从而减小了内部反馈现象,因此接收放大器可以有较高的灵敏度。当输入信号为0.2μV~0.5μV时,输出可达300伏以上(记录纸的击穿电压约120V~150V),而其输出噪声仅在1伏以下。
4.记录器。对鱼群和海底的记录是由记录器担任的,它以固定的重复频率控制着发射脉冲(即形成零位线),并使接收到的信号通过记录针记录在记录纸上。记录针以恒定的移动速度在记录纸上移动(图中所示是由上向下),因而所接收信号的烧痕与零位线的距离是和深度成正比,从而可在标尺上读出实测的深度。
记录器的传动是由一个恒定转速的电动机经变速箱使转速减慢,再去传动皮带而得到的。变速箱的减速比分成四档,即记录针可以有四种不同的移动速度,相应地可以有四种量程,可以利用面板上的“深度”旋钮来选用。这四种量程是:Ⅰ.0~38米;Ⅱ.0~75米;Ⅲ.0~150米;Ⅳ.0~300米。发射脉冲的重复频率,在量程Ⅰ时为312次/分;在量程Ⅱ时为156次/分;在量程Ⅲ时为78次/分;在量程Ⅳ时为39次/分。
记录纸由同一传动机构的另一组齿轮进行传动,并与触发次数同步。即每发出和接收信号一次,记录纸就向右移一步。记录纸的移动速度有停、慢、快三档,利用面板上的“纸速”旋钮来选择。各档的具体数据如下:
测深量程 Ⅰ Ⅱ Ⅲ Ⅳ
纸速 慢 18 9 4.5 2.25
(毫米/分) 快 36 18 9 4.5
记录纸宽205毫米,有效记录宽度为180毫米。若对某段记录有加以特别标注说明的必要时,可揿划线记号按钮。这时直流高压直接加在记录针上,可得一细长的竖线作为界限。同时通过划线可检查记录针与记录纸是否接触良好,以便对记录针的压力进行调节。
5.电源装置。本仪器需用220伏的交流电,通过变压器B\(_{5}\)变换成所需的各种电压。图中线圈1为初级线圈。线圈2的输出经D1整流,供给G\(_{1}\)、G2的栅偏压。线圈3的输出经D\(_{2}\)、D3整流,供给G\(_{1}\)、G2的高压。线圈4的输出经D\(_{4}\)、D6整流,供给其他电子管的高压。线圈5、6供给各电子管的灯丝电压。线圈6还供给照明灯的电压。通过电位器R\(_{38}\)(面板上的“照明灯亮度”旋钮),可以根据需要选择照明灯的亮度。
由于渔轮上的电源大都是110伏的直流电,所以需要通过变流器将110伏的直流电转换成220伏的交流电。本仪器是采用LD—200—1型变流器。考虑到渔轮上直流电源电压很不稳定,因此在变流器的交流输出端装有磁饱和式的交流稳压器,并采取措施使变流器输出频率恒定。这样,即使直流电源在80伏~130伏的范围内变化时,本仪器仍能正常地工作。
使用直流电源时,开关先从“关”拨到“启动”,等变流器运转后再拨到“工作”上,仪器即可正常使用。这个过程一般不得超过1分钟,否则变流器内的起动电阻易发热损坏。
本机的交流电源电压可由面板上的电压表(V)加以监测。
本机消耗功率,使用直流时约180瓦;使用交流时约90伏安。(上海中原电器厂)

