问:有些采用旁热式阴极接收管的收音机,为了进一步消除交流杂音,往往在灯丝和阴极间加一个直流电压,使灯丝为正,阴极为负,这是什么道理?

答:旁热式阴极的热丝上,虽然涂有绝缘物,和阴极绝缘,但不能保证灯丝不对阴极发射电子,因为灯丝经常伸缩变形,绝缘物难免没有裂缝,因而产生灯丝对阴极的电子发射,通过这种放射,灯丝的交流成分,就和阴极有了一定程度的交连。这在输出管,阴极是接地的,或有很大电容旁路通地,问题就不大。如果是一个前级管阴极上接有电阻,旁路电容又很小,那末,这部分交流成分,就降落在阴极电阻上,也就是接在阴栅之间,经过以下各级放大,即成交流杂声源。在灯丝和阴极间加接一直流电压,使阴极对灯丝的电位为负,这样,就对灯丝的电子放射,起到一定的抑制作用,从而减小了交流成分的影响。加接直流电压比较简单的方法,可以利用末级的自动偏压,如附图接法。图中用一个1K电阻把末极阴极自动偏压的正端接到灯丝一侧,由于灯丝源没有接地,末极偏压较其余各管偏压都要高,因此其余各管的阴极,对灯丝都带有负的极性了。这就是为什么旁热式阴极接收管的阴极和灯丝间加接一直流电压后,能降低灯丝交流杂音的原因。
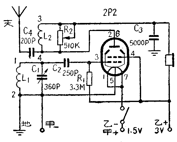
问:1965年第12期第24页介绍的“适合农村用的单管收音机”中,调节再生用的电位器是用510K的,乙电只有3伏,用这么大的电位器是否数值过大?用阻值低些的是否可以?对瓦数有无要求?

答:参看原电路图。在再生电路中和再生线圈并联用来调节再生的电位器R\(_{2}\),其作用是控制通过再生线圈L2中高频电流的多少,当电位器R\(_{2}\)调至最上端时,阻值最大,高频电流通过L2的也最多,这时再生最强;R\(_{2}\)调至最下端时,L2被短路,高频电流由电位器这条支路通过,而流过L\(_{2}\)的高频电流将极小,再生最弱或不起再生。在采用高压乙电的再生机中,R2一般用10K即可。在低乙电再生机中,电子管放大能力较低,再生较弱,R\(_{2}\)的数值用得大一些,使通过L2的高频电流多一些,对加强再生作用有好处。510K是作者实验时所用数据。如手头没有这么大的电位器,用小一些的也可以。如发现不起再生,可用增加L\(_{2}\)圈数或增加乙电电压的办法来解决,也可参考本刊1966年第7期“336、338线圈怎样用在低乙电再生机中”一文所介绍的方法。这只电位器对电子管的直流屏流关系不大,因被L2所短路,且在低乙电收音机中,屏流本来很小,故对电位器瓦数并无特殊要求,用一般电位器即可。
问:收音机中,功率放大管的输出功率大小,用什么简便的方法来测量和计算?

答:可用普通万用表交流1伏或3伏档按图测出扬声器两端的工作电压,例如为2伏,扬声器的阻抗设为3.5欧,则根据P=V\(^{2}\)/R公式可算出输送给扬声器的功率为
设输出变压器的效率为0.8,那么功率放大管输出的功率即为
问:市售300欧的舌簧式扬声器能不能接在有线广播上使用?
答:有线广播机和用户扬声器之间的配接方法有两种,一种是按电压配接,一种是按阻抗配接,这在本刊今年第5、6两期“扩音机扬声器配接要点”一文中曾有详细介绍。用户扬声器必须按规定配接,才能收到良好的效果,否则不但声音很小,有时还会烧坏扬声器,甚至影响整个广播网的正常工作。300欧的舌簧扬声器是指它的直流电阻而言,它对1000赫的交流阻抗约为800欧,一般要通过匹配变压器才能在有线广播上使用。
问:我买了一个新超外差式收音机,使用了一年左右,低频端的音量渐渐减小,但用手捏着天线时,音量便大增。应怎样修理?
答:这种现象是比较多的。主要原因是由于个别零件使用日久,受到环境温度、湿度、尘垢的影响,使它的电参数发生变化,影响整机灵敏度所致。用手捏天线端,等于加接一天线,增加了输入信号的强度,所以音量能增大。比较容易变值和影响较大的元件,一是中频变压器,由于它的磁心老化或微调电容变值而失谐,二是本地振荡回路元件,因损耗增加而使振荡减弱,或是变频管工作效率降低等等,都会使收音机灵敏度降低。这个机器,低频端音量先减小,可能就是本地振荡器低频部分振荡幅度减弱所致。可对波段开关的接触电阻,变频管特性和垫整电容器的质量等试行检查。