编者按:毛泽东思想一旦被群众掌握,就会变成无限的物质力量。我国有线广播网是宣传毛泽东思想,宣传、传达党和政府的政策、方针,组织人民群众的有力工具之一。尤其在农村,有线广播成本低,效果大,受到广大贫下中农的欢迎。在还没有电力网的山区等地,发展半导体有线广播放大站,对普及农村有线广播,具有很重要的作用。
这里介绍的北京市文化局广播处试制的500毫瓦的半导体放大器,虽然功率较小,但经过了一段时期的试用,效果尚好。它用电省,材料易购,制作方便,成本低,便于普及,故有一定价值。此机也还存在着若干问题,例如用一般高阻话筒时由于阻抗不匹配,灵敏度不够,以及易受雷击而烧坏管子等,希各地同志大家来研究改进,使我们的有线广播更好地为无产阶级政治服务,为广大的贫下中农服务。
一、简介
这里所介绍的500毫瓦小功率半导体放大器适用于无电力网地区的公社或大队、生产队。这种放大器电源容易解决(用一般手电筒用的一号干电池六节约可用20天到一个月左右),使用方便。在用于公社时,由于功率小,不宜直接带动各大队的喇叭,而应作为节目放大器,在通往各大队后再由大队中的同样放大器放大后再带喇叭,如图1所示。

这种放大器有“线路”、“收音”及“话筒”三种输入,由一个四刀三掷开关控制;输出有“监听”、8欧、16欧、225欧、300欧及450欧六种,以适应各种输出情况。如用高音喇叭时可带一、两个,如用舌簧喇叭时,可带30-40个。
二、电路分析

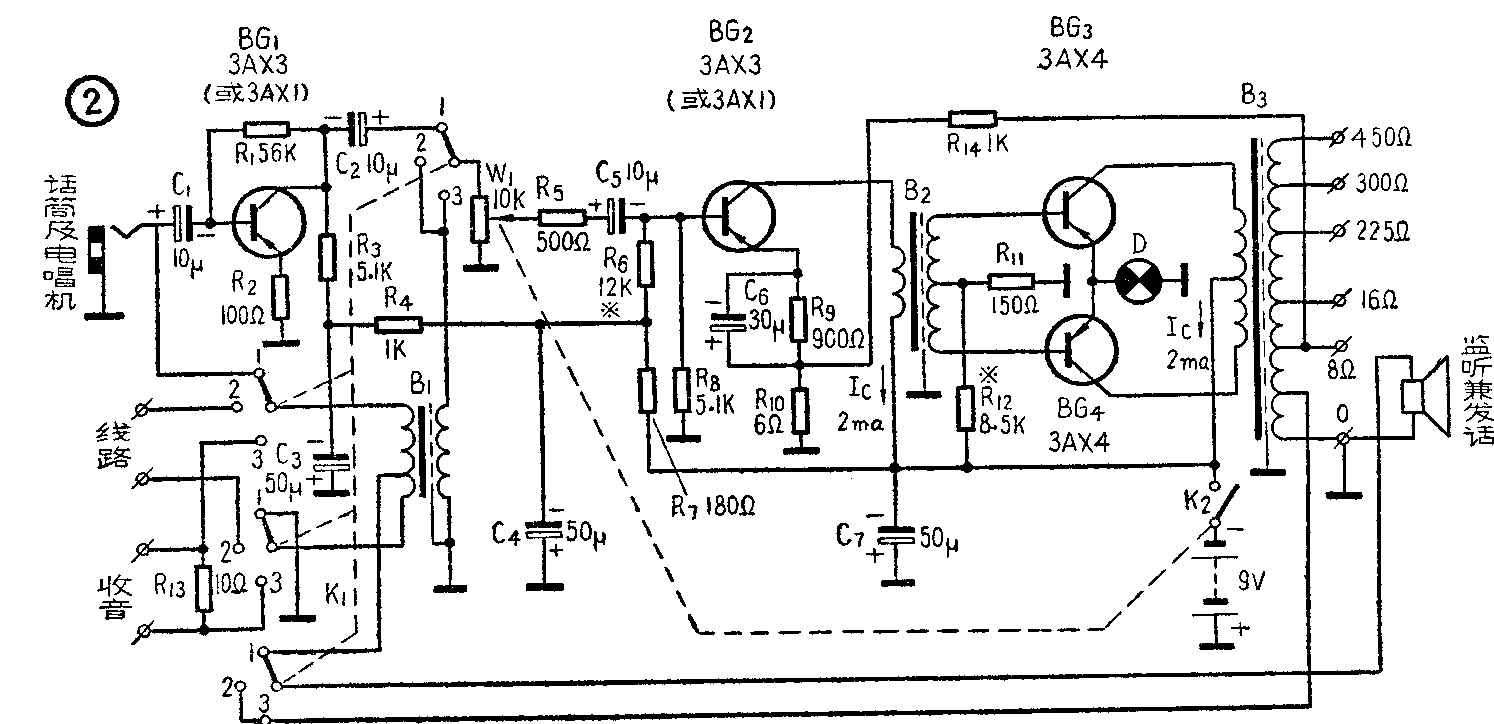
本机由四个半导体三极管组成三级放大,电路如图2。第一级为话筒放大,由BG\(_{1}\)(3AX3或3AX1)担任;第二级为激励级,由BG2(3AX3或3AX1)担任;末级输出由两个3AX4(BG\(_{3}\)和BG4)组成推挽电路。
在用话筒或唱机拾声器时,信号由“话筒及电唱机”插孔输入(K\(_{1}\)放在1位置),经C1加至BG\(_{1}\)的基极。R1为BG\(_{1}\)的偏流电阻,用以供给BG1的偏流,R\(_{2}\)是发射极电流负反馈电阻,用来稳定BG1的工作。R\(_{3}\)是BG1的负载电阻。
由于这级有R\(_{1}\)及R2的双重负反馈和稳定,故工作非常稳定。
C\(_{2}\)是交连电容器,电位器W1是音量控制器, R\(_{5}\)用来防止过负荷,并改善了音质。C5是隔直流电容器,用来防止BG\(_{2}\)的偏流短路入地。
R\(_{6}\)和R8是BG\(_{2}\)的偏流分压器,R9是BG\(_{2}\)的发射极稳定电阻,C6是R\(_{9}\)的旁路电容器,防止在R9上产生负反馈。R\(_{1}\)0与R14组成负反馈分压器,使由输出变压器次级8欧端来的负反馈电压的一部分加在BG\(_{2}\)的发射极电路中,使产生负反馈作用,用以改善音质。
B\(_{2}\)是交连变压器,也是推挽级的输入变压器。R11和R\(_{12}\)是BG3和BG\(_{4}\)的偏流分压器。2.5伏的小灯泡D作为BG3及BG\(_{4}\)的发射极稳定电阻,同时还有危险指示的告警作用。当BG3及BG\(_{4}\)的发射极电流过大时这个小灯泡就发红,就应及时停止使用,进行检查。在一般正常情况下这灯泡是不发红的。B3是输出变压器。有6个抽头,用以适应各种输出情况。
C\(_{7}\)、R7、C\(_{4}\)及R4、C\(_{3}\)为两节电源退交连电路,用来防止振荡。
当工作转换开关K\(_{1}\)放到“2”位置(线路)时,由于线路来的输入信号较高,故经过B1及K\(_{1}\)而直接送入BG2,不再经BG\(_{1}\)。用半导体收音机转播节目时,应将转播用收音机中的喇叭断开,而将它的输出变压器次级接到放大器的“收音”输入端子上。这时10欧的电阻R13就作为收音机的负荷。同时K\(_{3}\)放于“3”位置。
当K\(_{1}\)放于“1”位置时,是准备发话的,这时如果在“话筒及电唱机”插孔中插入话筒时,即可发话;如果不插入,监听喇叭就经过K1而接到B\(_{1}\)的初级抽头上。再经B1初级的自耦升阻而加至BG\(_{1}\)的基极。这时监听喇叭就可当话筒使用。
三、装配及调试注意事项
全机主要零件的安装位置见图3及图4。

装配时要注意零件安装位置及布线,否则易产生振荡。B\(_{1}\)2\(_{3}\)三个变压器相距要远些,且要互相成垂直,以免寄生耦合,布线要尽量短捷,避免太长的平行。有时由于BG1内部反馈过大或放大率太高,也易引起振荡,这时可以换一个管子试试。
BG\(_{1}\)的工作状态由于有双重稳定,偏流可以不加调整。BG2的工作点用选择R\(_{6}\)的方法将它的集电极电流调至2毫安左右。BG3及BG\(_{4}\)的集电极电流可用选择R12来调整,使在无信号输出时约为2-3毫安左右。如果两管对称且放大率较高,电流可调得小一些,如果两管对称差一些,为避免失真,电流可调得稍大一些。
在选管时,BG\(_{1}\)如用3AX3(较理想),只要它的β大于30就可以,如用3AX1时要用β较大的。BG2的要求不很高,一般β大于30的就可见了。BG\(_{3}\)及BG4的要求较高,一般要用3AX4,且β要大于50的较理想。
由于BG\(_{3}\)及BG4的工作电流较大,故在它的外壳应装上散热器(图5)。

四、主要零件数据
转播用输入变压器B\(_{1}\):用心柱为10×10毫米硅钢片,交错叠插。初级用直径0.1毫米的漆包线绕3000匝,70匝处抽头(指监听喇叭为3.5欧时,若用其他阻抗的监听喇叭,则最好重新设计)。次级用同样漆包线绕1000匝。
推挽级输入变压器B\(_{2}\):用心柱为16×16毫米的硅钢片心,各片也是交错插叠。初级用直径为0.15毫米的高强度漆包线绕1500匝;次级用直径0.17毫米的高强度漆包线双股并绕500匝,串联后(两线圈头尾相接)各边为500匝。
输出变压器B\(_{3}\):用与B2相同的铁心,初级用直径为0.27毫米的高强度漆包线双股共绕160匝,串联起来,各边为160匝;次级共绕453圈,在4匝(监听用)、60匝(8欧)、85匝(16欧)、320匝(225欧)、370匝(300欧)及453匝(450欧)处抽头。其中0~85匝用直径0.46毫米的漆包线绕制;自85匝至370匝用直径为0.32毫米的漆包线绕制;自370匝至453匝用直径为0.27毫米的漆包线绕制。
各变压器绕好后应该仔细测试,看匝间有否短路,否则会大大影响机器效率。
工作转换开关K\(_{1}\):可用一般收音机用的三波段开关。
监听喇叭:可用3.5欧的永磁电动喇叭,口径一般以125毫米的较为方便。
BG\(_{3}\)反BG4的发射极稳定、告警灯D可用一般手电筒用的2.5伏小灯泡。如果可能的话,最好用特制小电流2.5伏泡子,这样告警作用可更灵敏,且有保安作用。
其它零件如电阻电容等要求不高,可用一般电子管收音机用的大型零件。当然,如果要做成小型机,就要用超小型零件了。
所有电解电容器只要有25伏以上的耐压就可以。C\(_{3}\)、C4、C\(_{7}\)的容量大一点较好,一般用50微法至100微法即可。其它交连电容器如C1、C\(_{2}\)、C5等用5~15微法都可,但漏电不要太大。C\(_{6}\)的要求也不严,只要用30~100微法间就可以。
五、主要技术指标
1.输出功率:500毫瓦
2.频率特性:100~10000赫,小于3分贝,50~20000赫,小于4分贝。
3.谐波失真系数:500毫瓦输出,1000赫时不大于10%
4.输入电平:话筒-1毫伏(阻抗匹配时), 转播-100毫伏。
5.电源消耗:无信号时-6毫安左右,500毫瓦时——约110毫安左右。
6.信号噪声比:大于40分贝。
六、使用注意事项
此机的输入都是低电平的,不要将高电平的线路接到本机线路输入端子。
用收音机转播时,机中R\(_{13}\)是10欧的,适合于一般半导体收音机的输出阻抗,如果所用的转播收音机的喇叭不是10欧(或8欧)的时候,最好换一个R13,使与所用收音机的喇叭音圈阻抗相同。
话筒最好用600欧的,如SQ3- 2型,如果要使用一般高阻(20000欧)话筒时,最好另加一个5比1的降阻变压器(可用一般半导体收音机用的输入变压器代替),使与BG\(_{1}\)的输入阻抗相匹配。
在有雷电时间要将输入、输出线路都与机器断开,否则会将BG\(_{1}\)、BG3及BG\(_{4}\)击穿。
使用时,如果发现小灯泡D发红,这说明BG\(_{3}\)、BG4集电极电流太大,要立即停机检查,否则会使BG\(_{3}\)、BG4烧坏。(本刊根据北京市文化局广播处供给的资料编写)