在当前自动化生产控制设备中,电子继电器的应用范围越来越广。这是因为它在工业生产中能做各种自动控制工作。例如自动控温、水位、断水自动报警、光电控制、自动定时及自动计数等。它不仅能减轻人们在工作中的劳动强度,提高劳动生产率,同时还有效地避免了在生产中造成不必要的事故。
用半导体管构成的电子继电器,还具有电子管不能相比的体积小、使用寿命长、控制灵敏,用电省和电源接通立即工作等优点。
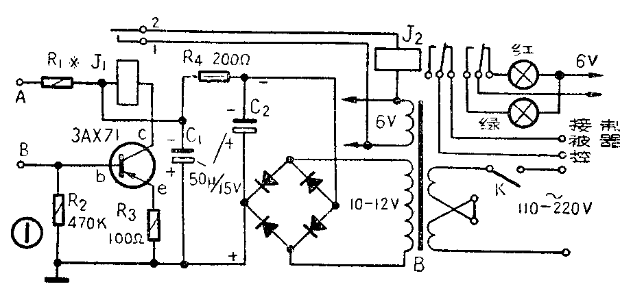
工作原理 图1是半导体管电子继电器控制线路。从线路上可以看出,它用一只三极管担任电子继电器放大。集电极上的反向电压和发射极上的正向电压,则由硒整流器把12伏的交流电压变换成直流电压,经C\(_{1}\)C2R\(_{4}\)组成的滤波电路来供给。R1是偏流电阻,维持一定的偏流,让三极管的工作点稳定。

在平时由于AB两端处于开路,基极上没有工作偏流,集电极电路内也就没有电流,继电器J\(_{1}\)就不工作。当AB两端接触时,基极就通过电阻R1加上一个工作偏流,集电极电路内就有电流(集电极电流大小则由R\(_{1}\)控制)。这一电流流入J1继电器线圈内,使接点1,2闭合,接通J\(_{2}\)继电器线圈的电源,J2工作,从而接通控制电路,使被控制器工作,这也就达到了自动控制的目的。
控制方法:1.自动控温:一般用水银导电表(也有的用双金属片温度控制器),将导电表调节到预先所要控制的温度范围,然后将导电表的两引出线分别接在AB两端,当被控制的温度(例如室温或液温),超过水银导电表控制温度范围时,由于导电表内的水银上升而使AB两端接触,从而接通报警电路起到超温报警或切断加热器,停止加温。
2.水位上升和断水报警:在AB两端接出两根导线,安置在欲控制的水位处作为两电极,如图2。当水位上升到a点时,使AB两端接通,于是继电器J\(_{1}\)工作,从而经控制电路发出水位上升的告警信号。反之,也可制成断水报警。

3.光电控制:将光导管(光敏电阻)接在AB两端。在无光照明时,虽然光导管接在AB两端,但由于光导管的暗阻很大(10兆欧左右),所加到基极上的偏流是极微小的,则集电极电路内的电流也很小,继电器J\(_{1}\)不工作。当有光照时,光导管的亮阻就很小,这就使基极上加上一个足以使集电极电路内的继电器J1工作的偏流,继电器J\(_{1}\)的1,2接点闭合,接通J2继电器的电源,从而使控制电路工作。
用光导管制成的光电控制器用途很广。可用来光电计数和烟雾报警等装置中。同时用晶体管制成的光电控制器,比电子管的灵敏,控制距离也较远。
以上所举仅仅是些具体实例,我们可以根据自己不同的用途,制成不同用途的控制器。
零件的选择:半导体三极管用3AX71,也可用其它型号的低频管。继电器J\(_{1}\)可直接用2000~3000欧姆的高灵敏继电器。继电器J2采用低压6伏的交流继电器,也可用110伏或220伏的交流继电器,只要把继电器线圈改接到变压器的初级线圈110或220伏电源就可以了。硒堆可采用尺寸为12×12毫米的硒片,由四片组装成全波桥式。电源变压器任何型号都可以,只要次级有10—12伏、6伏的数值就行。
调整方法:这里的调整主要是半导体三极管偏流的调整,使半导体管有一个稳定的工作点。调整时,AB两端连接,用500千欧的电位器和10千欧的限流电阻串接到R\(_{1}\)上的位置,在集电极电路内串接一只0—15mA的电流表如图3,接通电源,调节电位器,使集电极电流调至大于继电器的吸动工作电流(例如继电器的吸动电流是6mA,则集电极电流应在7—8mA左右)就行了。然后将电位器与10K欧的限流电阻从电路上焊下,用欧姆表测量一下调整后的阻值,再用相同阻值的固定电阻代之。如果没有电流表,直接调至集电极电流能使继电器J1工作也可以。

如果用交流电源供电不便,可直接采用干电池来供电,如图3。(上海市长宁区科协供稿)