我校无线电小组,研究试制了一种简单的半导体两管机,由于它的灵敏度高,音量大,造价低廉,试装了十几部,很受农村社员们欢迎。
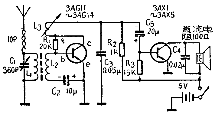
本机电路如附图,它的特点是用高频三极管作再生检波,省却了一只二极管。零件少,安装容易。由于用了外接天线,故对高频管要求不高,可用处理品管子,磁性天线也可用50毫米的。在河北省中部地区,可收到中央、河北、天津、山东等十多个电台,分隔清楚。

调谐线圈L\(_{1}\)用多股丝漆包线绕制,圈数由磁棒长度而定,磁棒长140毫米时, L1约为55圈;磁棒长50毫米时,L\(_{1}\)约为65圈。次级线圈L2为5~7圈。天线耦合绞线电容的长度应本着灵敏度高但又不影响选择性的原则进行调整。
再生线圈L\(_{3}\)单独绕制,约5~10圈,安装在距磁棒热端(接天线端)约10毫米处,可转动线圈以调节再生。如能在面板上安一旋轴与再生线圈相连,则调整更为细致。
偏流电阻R\(_{1}\)、R3可通过调整决定,改变电阻使高频管集电极电流为1~2毫安,低频管集电极电流为10~15毫安。
电解电容器C\(_{2}\)、C4容量大小关系不大,但高频旁路电容C\(_{3}\)不宜太小,否则将影响音量,实验证明,以用0.05微法较好。
喇叭采用低阻抗(直流电阻约100欧)舌簧式,效率高,但音质较差。如改用动圈喇叭,则需添一输出变压器,音质将更柔和动听。