南京无线电厂职工突出-政治,面向农村,贯彻执行为农民服务的方针,最近生产了一种性能好、价钱低的熊猫牌B-302型半导体收音机。这项产品从设计到诞生,在工厂的部分职工,特别是设计人员当中,思想认识是经过了一段斗争提高的过程的。早在1964年,工厂领导就提出了要设计生产为广大劳动人民所喜爱的普及型半导体机。当时,设计人员口头上接受了这项任各,但是他们脑子里想着的,却是要怎样在技术上表现出“有水平”。那时他们考虑的,只是追求达到更高的技术指标,和精致美观的外型等方面,没有从适合广大劳动人民生活水平的实际情况出发,因而试制出来的“普及型机”,成本高、用电费,不切实用,一直没有正式生产。
去年在社会主义教育运动中,工厂收到群众提出不少的批评意见。大家尖锐地批评他们能够设计出技术指标高的高级收音机,为什么不能设计面向农村价廉物美的普及型收音机,究竟应该只为少数人服务,还是要为多数人服务?他们学习了毛主席的有关著作,重新认识为谁服务这个问题,思想认识逐步提高,明确了设计生产高级半导体机是必要的,但是生产性能好、价钱低,符合广大劳动人民需要的普及型半导体机,在当前却更重要。为此他们曾分别到许多社、队和销售部门访问,搜集了农民对收音机的要求和意见,就这样,通过认真调查研究,深入了解以后,这种产品就很快地设计试制出来,现在已经成批生产了。
这种普及型收音机是具有两只高频管、一只低频管的超外差式一波段便携式半导体机。机箱用塑料压制,体积大小与饭盒相近,外形尺寸为221×121×56毫米,全机重量(包括电池)约1.2公斤。它的造型朴实大方。机内采用印刷线路,牢固可靠,而且便于大量生产。扬声器为4寸永磁式,发音宏亮。线路结构比较新颖,采用来复式中放和滑动甲类低放电路,使整机具有良好的灵敏度和选择性,并具有省电的特点,曾在国内若干地区进行试听,效果良好,特别适合于广大无交流电源的农村地区使用。
电路工作原理
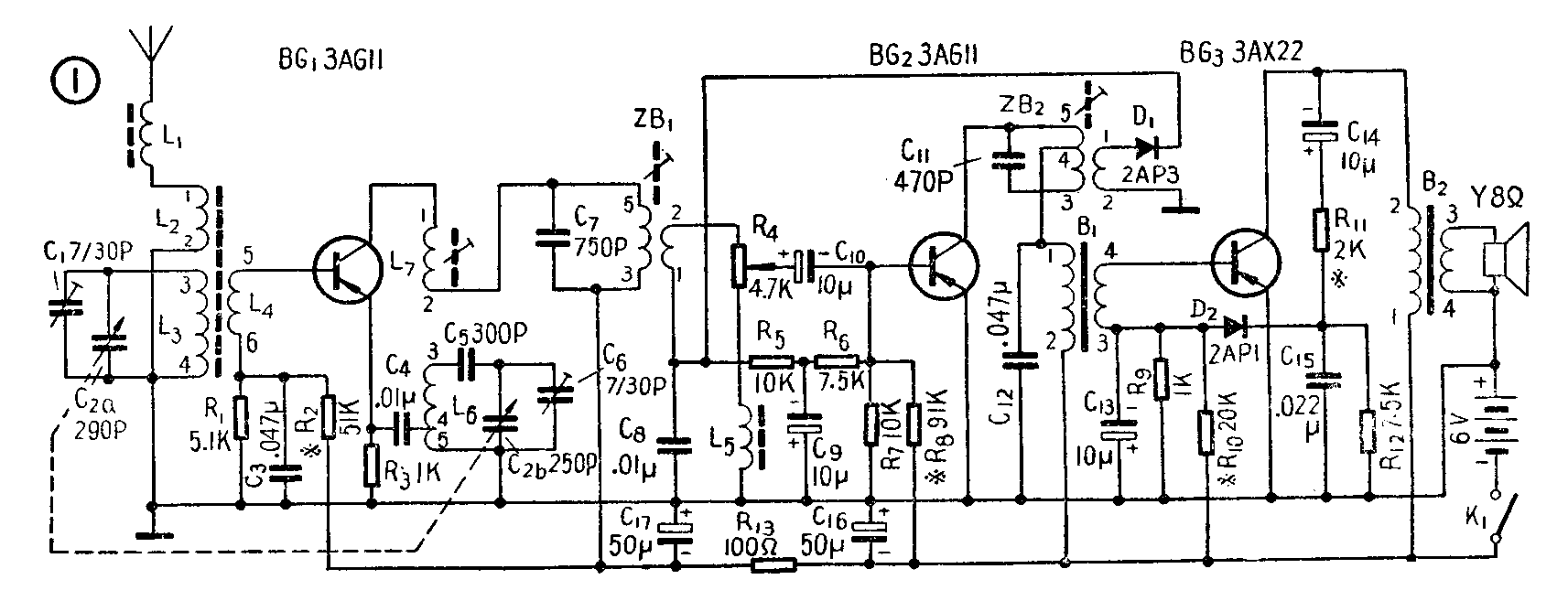
本机采用超外差式电路(见图1),由BG\(_{2}\)作中频放大兼来复低频放大,BG3作功率放大,D\(_{1}\)作检波兼自动增益控制,D2作功放级的自动偏流的整流器。全机总增益约为100分贝左右。

高频信号从磁性天线感应到L\(_{3}\)、C2a及C\(_{1}\)组成的调谐回路,经选择后经L4电感耦合至BG\(_{1}\)的基极。本机振荡电压由发射极注入。通过BG1变频后的中频电压,经输入中频变压器ZB\(_{1}\)选择后,送至BG2的基极进行中频放大,放大后的中频信号经输出中频变压器ZB\(_{2}\)送至二极管D1进行检波。检波出来的音频信号又返回BG\(_{2}\)的基极进行来复低放。此时放大后的音频信号,以输入变压器B1作负载,加到功放管BG\(_{3}\)的基极进行功率放大,最后经输出变压器B2推动扬声器放送广播节目。
电路特点
本机有外接天线接线柱,与天线线圈L\(_{2}\)之间串联有一只电感量为500微亨的线圈L1,在接用外接天线时(8米以上的长天线),使天线回路谐振在收听波段的低端,以弥补低端灵敏度的不足。磁性天线的谐振线圈L\(_{3}\)分为两个线圈串在磁棒的两头,可以提高Q值,并改善方向性。
中放部分第一级中频变压器采用较大电容量的槽路电容器(750微微法),目的在于减少漏到中放级的振荡电压,以改善强信号的承受能力。
音量控制电位器R\(_{4}\)不但控制了送到BG2进行来复低放的音频信号,而且同时控制了输入到中放级的中频信号,这样可只增大音量控制范围,而且可以克服信号输入时由于BG2的发射结直接检波所引起的失真。由于本机中频放大只有一级,而且音量控制电位器与输入中频变压器及半导体管BG\(_{2}\)之间采用了较短的走线,因而不致产生反馈再生等不稳定的作用。
低频放大采用变压器耦合,故增益较高。为了改善、检波失真,在电位器R\(_{4}\)下端串接有电感量为60微亭的阻流圈,在关小音量时可使中频信号少关掉一些,音频多关掉一些,保持检波器工作在线性检波范围之内。
功放级采用“滑动申类”放大,也就是自动偏流线路(工作原理参见本刊1964年第9期“自动调整工作点的功率放大电路”一文),使功放级的工作电流随输入音频信号大小的变化而相应变化,提高了电路效率,降低了无信号电流消耗。这样使四节二号电池的使用时间,比采用固定偏流的使用时间增长将近一倍。
主要性能指标
频率范围:不窄于535—1605千赫
灵敏度:5毫瓦输出、信噪比大于20分贝时,不劣于3毫伏/米
选择性:偏调±10千赫衰减≥12分贝
额定输出功率:30毫瓦
音量控制范围:大于36分贝
中频波道衰减:大于18分贝
镜像波道衰减:大于26分贝
整机电失真:300—3000赫≤15%
整机电频率响应:200—2000赫,不均度≤10分贝
电池消耗:无信号时≤8毫安
额定输出时≤28毫安
电源电压:额定值为6伏,当降至4.5伏时灵敏度不劣于标称值的3倍,而且没有自激现象。
元件数据
磁性天线(见图2):采用φ10×170毫米的MXO—400型磁棒,L\(_{2}\)和L4均用φ0.12毫米的单丝漆包线在直径为φ11毫米的浸蜡纸筒上单层密绕8圈,L\(_{3}\)用φ0.07×7毫米单丝漆包线分在两个纸筒上各密绕35圈。

振荡线圈(见图3和附表),在φ11的磁芯骨架上,先用φ0.12毫米单丝漆包线,在两个槽内分两段各绕6圈为L7,然后用φ0.07×3的单丝漆包线绕6圈抽头,再继续绕至总圈数为100圈(在两个槽内分两段各绕50圈)为L\(_{6}\)。


输入中频变压器ZB\(_{1}\)(见附表),先用φ0.12毫米单丝漆包线分两段各绕6圈为次级,然后用φ0.07×3单丝漆包线分两段各绕48圈为初级。
输出中频变压器ZB\(_{2}\)(见附表),先用φ0.12毫米单丝漆包分两段各绕6圈为次级线圈,然后用φ0.07×3单丝漆包线绕24圈抽头,再继续绕使总圈数为120圈(分两段各绕60圈)作为初级。输入和输出中频变压器均有隔离罩接地。
输入变压器B\(_{1}\)(铁心尺寸见图4),是用φ0.09毫米的高强度漆包线,初级绕2100圈(电感量约3亨,直流电阻约220欧),次级绕700圈(直流电阻约95欧)。

输出变压器B\(_{2}\)(见图5)、初级以φ0.16毫米高强度漆包线绕580圈(电感量约0.25亨,直流电阻约27欧),次级用φ0.41的线绕90圈(直流电阻约为0.8欧)。

阻流圈L\(_{5}\),在φ4的铁粉芯上用φ0.07×7单丝漆包线绕70圈。引线是两根φ0.5铜线,依靠线圈本身,在绕时由线圈线扎在磁芯上,线圈绕成后,将出头焊在引线再封蜡即可。
扬声器 采用“飞乐” YDO.5—401—Bi型,直径为100毫米,音圈阻抗为8欧的动圈式扬声器。
半导体管的选用 为保证整机灵敏度,中放管3AG11应采用β=50~100的(3AG21及其他类似的半导体管可以代用)。由于本机中放级没有中和,故该管的Y\(_{12}\)参量以不大于20微姆欧为佳,否则易产生不稳定现象。用作变频的3AGll,其Iceo不宜过大,试验证明I\(_{ceo}\)过大的3AGll用于本机的变频级是不稳定的。用于功放级的3AX22,β应大于40,否则“滑动”就滑不起来,或者是“滑动”的效果不大。此外该管的Icbo应小于10微安,否则随着温度的上升,将引起电流消耗急剧增加,以致有超过集电极损耗允许值而烧坏半导体管的危险。
装配和调整
为改善低频音质,印刷电路底板是反装在机箱里的,打开后盖时可见印刷线条,检查和修理都很方便。
各级半导体管工作电流如下列,校试时可作参考。
变频级——I\(_{c}\)=0.45~0.6毫安,调节电阻为R2
中放级——I\(_{c}\)=1.5~1.7毫安,调节电阻为R8
功放级——无信号时I\(_{c}\)=3~6毫安,调节电阻为R10额定输出时I\(_{c}\)=19~22毫安,调节电阻为R11
频率覆盖范围以在520~1660千赫之内为宜,要移动低端电台位置应调L\(_{5}\)磁芯,移动高端电台则调C5。
统调中的统调点为560、1000及1500千赫,低端同步可调L\(_{3}\)两段线圈之间的距离位置,R增减电感量,高端同步调C2,1000千赫的统调是依靠拨片来实现。
在山区或边远地区收听时,若感灵敏度不够,可加接8米以上的外天线。机箱后盖的安装螺丝钉兼作外接天线的接线柱。
电池为四节二号干电池串联使用,每天使用3~4小时,可用一个半月左右。
本机末级采用省电的滑动甲类放大电路,所以修理时不要空载,即在接通电源时,扬声器不要断开,以免电流过大而损坏半导体管。(南京无线电厂供稿)