这里介绍的半导体管化遥控收发设备是为在盐滩结晶池中耙盐时,作为遥控1.3~7.5千瓦电动牵引机的电磁开关而设计的。它具有下列特点。
1.用半导体管、小型元件装配,整机小巧,便于流动使用。特别是发射机由人携带操纵。包括1.2毫米厚的簿钢板机壳和6节一号电池在内,全机重量不超过3公斤。
2.接收机可由市电供电(也可改用直流供电)。
3.在空旷地区使用时,有效控制距离可在1公里。
4.使用载波频率20兆赫~30兆赫,调制频率250赫~600赫,故可多套设备划分通道,编组同时使用。基本上能防止工业干扰与天电干扰。
5.温度稳定性较高,可在温度-17℃~+40℃的环境下使用。
6.耗电省,不必考虑散热问题。便于在结构方面采用全密封措施来防水、防潮、防盐雾,使之适于在气候恶劣的环境下使用。
因而,凡是需要在短距离内作单一动作遥控的场合,均可使用这种设备。
发射机
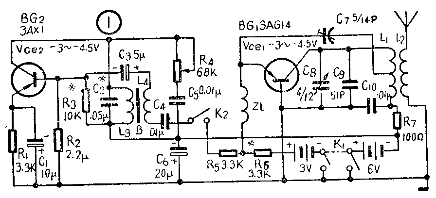
电路 为了满足抗干扰的要求,发射机除使用高频三极管3AG14作高频振荡输出级外;还使用低频三极管3AX1作低频振荡调制级。其电路如图1所示。

高频振荡输出级采用共基极自感反馈式电路,以求在较高的工作频率下有较好的稳定性,同时由半导体管的杂散性引起的对电路的影响也较小。振荡槽路中的C\(_{7}\)、C10是高频通过、直流隔断的电容器,同时C\(_{1}\)0与R7还构成退耦电路,防止与低频振荡槽路发生耦合。阻流圈ZL一方面阻止经由C\(_{7}\)反馈到BG1发射极的高频电流旁路,另方面做为由R\(_{6}\)调整的工作点偏流与低频调制电流的通路。
低频振荡调制级采用共发射极反馈耦合式振荡电路。振荡频率由L\(_{3}\)、C2组成的振荡槽路以及L\(_{4}\)、C5决定,用R\(_{4}\)作频率微调,微调范围±30赫,R4阻值愈大,C\(_{5}\)与C2的并联作用愈小,频率升高;反之,则频率下降。为了在电源电压变化、温度变化的情况下,有较高的稳定性,直流偏置电路的稳定系数取1.5,故R\(_{1}\)的数值较大。R3是调整BG\(_{2}\)工作点的偏流电阻。
低频振荡电流由BG\(_{2}\)的基极端引出,经R5和ZL加到BG\(_{1}\)的发射极,这样只要BG2输出较小的功率,高频振荡信号即能获得临界调制。发射机的输出功率与调幅度用C\(_{7}\)来调整。
元件的选择和制作 因BG\(_{1}\)的工作频率较高,为了保证振荡频率的稳定,故选用截止频率fa高于120兆赫的高频管3AG14。其共基极短路电流放大系数h\(_{21}\)≥0.985,集电极反向电流Ico≤5微安。由于BG\(_{2}\)的工作频率低,故采用低频管3AX1,其参数h2l≥0.985和I\(_{co}\)≤10微安。
振荡线圈L\(_{1}\)用φ1.6毫米镀银铜线,绕在φ14毫米,刻有线槽的高频胶木(或有机玻璃)骨架上,槽距3毫米,顺时针绕9匝,电感量L=0.75微亨。测量频率20兆赫,谐振电容量89微微法时,品质因数为380;测量频率30兆赫,谐振电容量40微微法时,品质因数为330。L1绕在线圈骨架上,虽然不如空心线圈有更高的品质因数。但可不必担心由于机械振动会引起电感量变化,造成发射频率不稳定。这一缺点是必须避免的。L\(_{1}\)的抽头由试验决定,其最佳位置以C7调在10微微法上下,振荡输出稳定为准。线圈L\(_{2}\)亦用φ1.6毫米的镀银铜线,绕成φ20毫米的空心线圈,共绕4匝,匝距5毫米,套在L1的外边,使两线圈呈紧耦合。
低频变压器B的初次级变压比为1.5:1,绕在EI型D420.35硅钢片的铁心上,铁心截面积8×8平方毫米,初级线圈L\(_{3}\)用φ0.1毫米漆包线绕2460匝,电感量≥6亨;次级线圈L4用φ0.1毫米漆包线绕1320匝。
电阻一律选用1/4瓦,误差在10%以内的炭膜电阻。电容器须选用稳定性能好的,C\(_{8}\)宜用空气介质的,其余在高频电路中的电容器要用瓷介质或云母介质电容器。低频电路中的宜选用瓷密封纸介电容器。
高频阻流圈ZL是在φ8毫米线圈骨架上,用36\(^{#}\)纱包线蜂房绕法,顺时针每匝两折计绕45圈,电感量50微亨;或在1/4瓦高阻值的炭膜电阻上,用36#纱包线顺时针乱绕55圈。
装配与调整 机箱宜用铁质或铝质薄板制作,其体积(当内装一号电池6节时)为220×210×20立方毫米。铜质鞭状天线装在机箱上,其长度为0.4~1米。此时的控制距离为120~1000米。
因本机基本上是一次性调整使用的,所以作为高频振荡频率调整的C\(_{8}\)、低频微调的R4以及决定高频输出功率与调幅度的C\(_{7}\),均不在机箱外装控制旋钮。
双刀单掷电源开关K\(_{1}\)固定在机箱上。单刀单掷开关K1为发射机发送调幅高频信号开关,可视需要做成手持式的,用引线通到机箱内,或固定在机箱上。
元件排列方面应注意高频线圈的位置,要远离机壳;高频部分的接线应能保持固定,采用镀银裸铜线;接线板要用高频绝缘性能好的材料制作如有机玻璃等。电池卡必须能保证电池接触良好。
整机装成后,首先确定BG\(_{1}\)和BG2的工作点。BG\(_{1}\)与BG2集电极工作电流均选在0.7~l毫安,其偏流电阻分别为R\(_{6}\)、R3。
低频振荡频率的调整如下。自C\(_{4}\)K2的接线端与整机机壳端引出接线,接在示波器的Y轴输入端上。音频信号发生器的输出端接在示波器的X轴输入端上。仪表接线方框图如图2。音频信号发生器调整在选定的频率信号。控制R\(_{4}\)在中间位置,调整C2、C\(_{4}\),使在示波器上显示出一个完整封闭图形(即李沙育图形),此时低频振荡频率即为选定的频率。再控制R4在最大值与最小值位置,来考查低频振荡频率的可调范围。

高频振荡频率(载频频率)与调幅度的调整,使用高频微伏计。按图3接线。按选定的载波频率调整C\(_{8}\);再调整L1抽头位置与C\(_{7}\),使频带宽度在±0.5兆赫以内,低频调幅度M=100%,且输出稳定。

调整好的发射机,在静态下的整机消耗电流小于2.5毫安。在3/4额定电池电压下亦能正常工作。一号电池每天连续工作12小时,能持续使用一个月以上,故耗电极省。(施宛愚)