一、用途与特点
JS-6型晶体管试验器有十四种用途,是一种半导体化、积木化、印刷电路化的小型多用仪器。它能以直读的方式测量出NPN型或PNP型半导体三极管的五种常用参数,并可如一般万用电表测量电路中的直流电阻,交直流电压,直流电流。此外它还可以用作满量程5毫伏的交流毫伏表,可以作输出幅度可调的1000赫信号发生器以及额定输出的直流电源。它具有体积小,重量轻,不用市电,操作简单,携带方便等特点,可以作为器件生产与应用单位的检测设备,可以用来调试半导体收音机和各种晶体管电路,特别适用于野外电子设备的现场维修和在实验室中作为通用设备。
仪器的电路结构,简单新颖。全机用四只普通半导体三极管,组成信号发生器和交流毫伏表两个独立单元。全部电源由一组6伏电池供给,它除用作上述电路的直流电源外,还兼作被测管的直流偏置电源和电阻测量的专用电池,当被测半导体管由NPN型转换为PNP型时,它能作相应的偏置变换,而其他电路的电源极性不变。电路的关键部分是积木化插接式,便于维修更换。各项测量的结果均由一只表头直接指示。表盘用透明塑料压制而成,视野宽广,刻度清晰,表壳还经过工艺喷涂,消除静电感应。另外,电路中备有过荷保护装置,超过规定量程时能起自动保护作用,保证仪表安全。仪器在使用时有直立与倾斜二种位置,不用时表头自行短路,可以避免移动时的机械损伤。
二、电路工作原理

晶体管试验器的电原理图如图1所示,各项参数的测量,通过K\(_{1}\)及K2两只多层波段开关转换实现。各项参数的测量及各部电路的作用原理如下:
1.I\(_{cbo}\)的测量 Icbc为半导体三极管发射极开路时集电极反向截止电流(亦称反向饱和电流),为判断管子稳定性及质量的基本参数之一。当开关K\(_{1}\)拨至“1”的位置,则电路简化如图2所示状态。此时发射极开路,电池与电表(50微安)串接在集电极与基极间。被测管插入后,表头的指示即为Icbo的读数,NPN或PNP的极性由开关K\(_{4}\)加以选择。本参数的最大量程为50微安。

2.I\(_{ceo}\)的测量 Iceo表示当基极开路时流过集电极的反向截止电流(亦称穿透电流)。它能表示在共发射极电路中管子的稳定性能。当开关K\(_{1}\)拨至“2”的位置,电路简化如图3。电池与电表串接在集电极与发射极间。被测管插入后,表头指出Iceo的读数。NPN与PNP之极性由K\(_{4}\)选择。当K1拨至“2”时。加入了一个分流电阻R\(_{47}\),故量程扩展至500微安。
3.I\(_{c}\)的测量 Ic表示半导体三极管的集电极电流。当开关K\(_{1}\)拨至“3”的位置,电路简化如图4。被测管插入后,电路接成为共发射极电路,集电极电压由电池E供给(6伏),基极偏流由电阻R14及电位器R\(_{15}\)加以控制。调节R15即可达到改变集电极电流I\(_{c}\)的目的,Ic的数值由表头直接指示出来。被测管的极性由K\(_{4}\)选择。这一测量不仅可以判断管子的性能,同时也为下一步测量准备好直流工作点。当开关K1拨至“3”时,由于并联加入了分流电阻R\(_{46}\),故Ic量程为0~5毫安。

4.交流信号的校准 当开关K\(_{1}\)拨至“4”位置时,电路简化如图5,此时振荡器输出频率为1千赫、电压为1伏的音频信号,由R7、R\(_{8}\)组成的分压器中取出5毫伏的交流信号直接输入放大器单元进行校准,而表头CB此时亦通过K1而接入检波电路,作为5毫伏满档的电压表指示器。由于振荡器输出是固定的,电压为1伏,R\(_{8}\)两端的电压降为千分之五伏,亦即5毫伏,此信号电压应使CB满刻度。如CB不能满度,则调节放大器单元的R\(_{23}\),改变放大量使之满度,这样便完成了校准目的。这一校准的目的在于提高下述交流参数测量的精度。
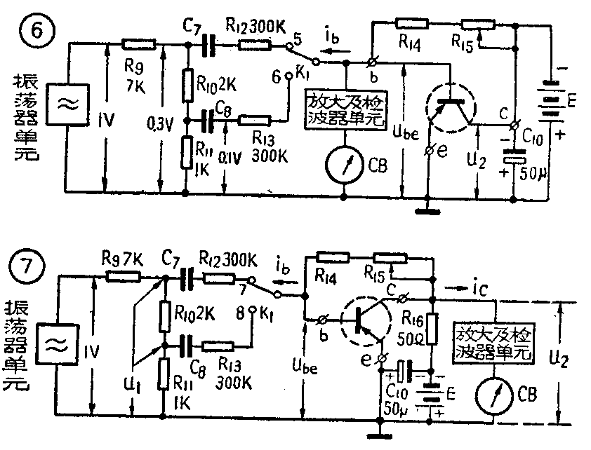
5.h\(_{ie}\)的测量 hie表示半导体管工作于共发射极情况下,当输出端短路时交流输入电压u\(_{be}\)与输入电流ib之比值,这一比值称为共发射极输入阻抗。当开关K\(_{1}\)拨至“5”及“6”位置时,电路简化如图6。因为hie=\(\frac{u}{_{be}}\)ib|u\(_{2}\)=0,短路条件由C10对交流旁路而达到,故须测出u\(_{be}\)及ib方可得出h\(_{ie}\),而在此当K1拨至“5”时,由于R\(_{12}\)远大于半导体管输入阻抗,故ib=0.3(伏)/300(千欧)=10\(^{-}\)6安,为一恒定值,因此h\(_{ie}\)=ube/i\(_{b}\)=ube/10-6=u\(_{be}\)×10\(^{6}\);当ube为5毫伏时,h\(_{ie}\)=5×10-3(伏)×10\(^{6}\)=5×103(欧)=5千欧。而ube为4、3、2或1毫伏时,则对应为4、3、2或1千欧。当K\(_{1}\)拨至“6”时,量程扩展三倍。由此可知当接入被测管后,hie的数值便由CB直接指出。

6.β的测量 β为共发射极条件下,输出端短路时半导体管的电流放大倍数,为半导体管的一项重要交流参数。当开关K\(_{1}\)拨至“7”及“8”位置时,电路简化如图7,因为β=ic/i\(_{b}\) |u2=0;短路条件亦由C\(_{1}\)0实现,而当K1在“7”时,亦因R\(_{12}\)远大于半导体管输入阻抗,故有ib=u\(_{1}\)/R12=10\(^{-}\)6安;i\(_{c}\)=u2/R\(_{16}\);
β=i\(_{c}\)/ib=\(\frac{u}{_{2}}\)/R16i\(_{b}\)=u2;R\(_{16}\)·10\(^{6}\)
=\(\frac{u}{_{2}}\)5010\(^{6}\)=u2;5×105;
当u\(_{2}\)=5毫伏时;则β=5×10\(^{-}\)35×105=100。其余类推。当K1拨至“8”时,β将得到300的量程。由此可见β和h\(_{ie}\)的刻度值均可直接在CB上标出,迅速方便地测出结果来。

7.电阻测量 当K\(_{1}\)拨至位置“9”,K2拨至“1”(R×10)或“2”(R×100),此时仪器可以测量直流电阻,电路简化如图8,测量电阻实际上是测量通过被测电阻R\(_{x}\)上的电流,然后用欧姆的标度在CB的表盘上表示出来,R45为表底电阻,R\(_{43}\)为零点调节,R41及R\(_{42}\)为变换量程的分流器,Eo为从E抽出之1.5伏电池,当K\(_{2}\)转为其他位置时,Eo即行断开,可以使E\(_{o}\)保持较长的使用寿命。
8.直流电压测量 当K\(_{2}\)拨至3,4,5位置时,此时仪器可以进行10,250,500伏三个量程的直流电压测量,电路简化如图9。由于表头CB有一定的内阻,电流通过时就有一定的电压降,所以用不同的电阻与电流表串联起来,然后接在直流电路两端上去测量,按照通过电表的电流和电阻的关系,则可测出电路上的电压值,并将CB表盘直接以电压标度表示出来。R31~R\(_{33}\)为分压电阻,亦为倍率电阻。其数值由R=(V/I)-Rm决定,V为所测电压,I在此为50微安,R\(_{m}\)为CB之内阻。
9.直流电流测量 当开关K\(_{2}\)拨至6、7、8位置时,仪器可用来测量满度为1,10,100毫安三种量程的直流电流。此时电路简化如图10。由于CB为一磁电式直流电表,当然可以进行电流的测量,但CB本身为50微安的电流表,量程有限。为了扩大量程,所以表头上还并联有电阻分流器(R38~R\(_{4}\)0),6,7,8三抽头使分流器分为三段,各段的阻值分配系按量程扩展的倍数成反比例减小,其值由下式决定:
R\(_{s}\)=(R31+R\(_{32}\)+R33)=\(\frac{R}{_{m}}\)(I/Im)-1
R\(_{m}\)为CB的内阻,Im在此为50微安,I为扩展后的量程电流。
10.交流电压的测量 当开关K\(_{2}\)拨至9,10,11位置时,仪器可用来测量量程分别为10,250,500伏的交流电压,此时电路简化如图11,由于CB为直流表,交流电压要经过整流后方可测量,因此接入二极管D1及D\(_{2}\)组成的半波并串联式整流电路,其分压电阻由R34~R\(_{36}\)组成。由于D1及D\(_{2}\)为半导体二极管,具有比氧化铜更好的检波特性,故可以满足400赫以下的交流电压测量。
11.振荡单元 系由半导体三极管BG\(_{1}\)(3AX12)与电容器C1,C\(_{2}\),C3及电阻R\(_{1}\),R2,R\(_{4}\)组成的相移振荡器,利用从BG1之集电极取得经过180°相移的正反馈而产生正弦振荡,其振荡频率(当R\(_{2}\)=R4;C\(_{1}\)=C3时)由f=\(\frac{1}{2πRC}\)决定。本仪器选定为1,000赫。为了保持振幅不随负载而改变,采用变压器B\(_{1}\)耦合输出,不仅可以保持交流信号有良好的匹配,而且能避免由于测量电路的转换而影响振荡器的稳定。此振荡器安装在一块长方形的印刷电路底板上,构成一个独立的积木化插接式单元(参见封底彩图)。其信号电压可在0~1伏范围由R6进行调节,除供给交流参数测量用作信号源外,并可由CZ\(_{1}\)插孔直接输出,作为音频信号源或用作检测收音机的信号注射器。

12.放大及检波单元 由BG\(_{2}\)、BG3、BG\(_{4}\)三只3AX12三极管组成放大部分。BG2为一发射极输出器,这样可以获得80千欧以上的输入阻抗。BG\(_{3}\)、BG4分别组成二级放大器。经放大后的交流信号由变压器B\(_{2}\)交给D3、D\(_{4}\)进行倍压检波。R29及CB为检波负载,并由此组成一个满量程为5毫伏的交流毫伏表。全部元件亦安装在一块印刷电路底板上,成为第二个积木化单元。R\(_{23}\)为调节放大量的电位器,安装在仪器的面板上。毫伏表部分除用来测量交流参数外,当K1拨至“10”位置时,并可由CZ\(_{3}\)插孔引入外部交流信号进行小信号的交流电压测量,或用作信号寻迹器。
13.直流电源 用本仪器所附的插头,插入CZ\(_{2}\)即可输出6伏直流电,作为调试半导体收音机的电源设备。
14.50微安电流表 当需要测量50微安以下的微弱直流电流或调整高频放大电路的基极偏流时、可将K\(_{1}\)拨至“11”位置、用仪器所备之附件夹子插入CZ4插孔即可。
仪器内振荡器及放大器两单元所用之直流电源均直接接至电池E,而被测管之偏置电源极性及CB表的极性则由K\(_{4}\)控制转换。C10与C\(_{11}\)串联构成一无极性的电容器,以便适应NPN及PNP两种短路状态下的旁路要求,C9的作用是为了在NPN或PNP情况下获得一个公共的交流地电位。R\(_{17}\)系代表CB在集电极直流回路中的等价电阻。以保持参数转换时Ic之值基本不变。

本仪器之保护电路,系用一齐纳二极管(D\(_{5}\))并联在CB两端,利用齐纳管的正向特性而获得保护作用,由图12(A)可知,当D5两端的正向压降u\(_{正}\)<0.6伏时,D5内阻很大,电流全部流过CB及R,当u\(_{正}\)≥0.6伏时,D5内阻很小,通过很大的电流。在此我们选择电阻R的阻值使得55微安电流流过CB表时,在A、B二点的压降恰好为0.6伏,那么当进行前述各项测量时,如遇过荷情况,则A、B两点电压只要一大于0.6伏,D\(_{5}\)便好比一个闸门被打开了,大部分电流都从D5流过,使通过CB的电流不致过大,保证安全。
三、使用方法
1.使用前调整CB表的调零器,使指针在标度的零位上,电源开关K\(_{5}\)放至“关”位置,附在Ic调节电位器R\(_{15}\)上的K3亦应在“关”状态。
2.电流、电压、电阻测量,电源开关K\(_{5}\)置于“开”,转换开关K1拨至第9档(AVO)位置。
(1)直流电阻:将仪器所附之红黑两色试笔插入Z\(_{n1}\)及Zn2两插孔处K\(_{2}\)旋至R×10或R×100档,并将试笔短路,CB表的指针向满度偏转,调节“Ω”调整器(R43)使之指在“Ω”标度的0位置上,再将试笔分开,接至待测电阻两端,R×10量程为满档10千欧,R×100为满档100千欧。如试笔短路时,调节电位器不能使指针到“0”位置,则须更换电池。
(2)直流电压:K\(_{2}\)旋至所需量程,试笔按极性接至电路两端,即可由CB指出电压数值。
(3)直流电流:将K\(_{2}\)旋至所需量程,试笔按极性串入电路,即可由CB指出毫安数值。
(4)交流电压:将K\(_{2}\)旋至“~V”各档,方法同上。
(5)50微安测量:将K\(_{2}\)旋至任意位置,K1拨至面板之“0”档上,将带夹子的插头,插入面板左上方的“50μA”插孔内,夹子串入被测电路即可。
(6)直流电压输出:将上述插头插入右上方的“6V”孔内,其他同上。
3.半导体参数测量:将K\(_{2}\)拨至R或mA测量之任意一档,进行下列测量:
(1)I\(_{cbo}\):K1置I\(_{cbo}\)位置,将PNP/NPN开关拨至相应位置,插入被测管CB立即给出结果(满档50微安)。
(2)I\(_{ceo}\):K1置I\(_{ceo}\)位置,其他同上(满档500微安)。
(3)I\(_{c}\):K1置I\(_{c}\)位置,旋动Ic调节旋钮,使CB表指在所需位置(满档为5毫安)。
(4)校准:K\(_{1}\)置“校”位置,此时CB应向满度偏转,调节面板上之校准调节旋钮,使CB表正好满度,此时毫伏表之灵敏度为5毫伏。
(5)h\(_{ie}\):插入被测管,NPN/PNP拨至对应位置,先将K1旋至I\(_{c}\)将工作点加在0~5毫安范围内任一给定点上,再旋至hie(5K)或h\(_{ie}\)(18K)任一档上,此时CB表直接指出hie的大小,在测量前后可以重复一次“校准”。
(6)β:K\(_{1}\)置β100或β\(_{3}\)00任一档,方法步骤同hie。CB表直接给出β值的大小。
4.作交流毫伏测量或用作信号寻迹,将仪器所附之插头插入面板右上方的“~mV”孔即可。
5.作音频信号输出或作信号注射器用,将插头插入面板左上方的“~”孔即可。
四、注意事项
1.当作AVO测量或I\(_{cbo}\)及Iceo测量时,I\(_{c}\)调节之旋钮必须旋至“关”的状态。
2.测试过程中不要盲目转动K\(_{1}\)或K2两开关。
3.仪器应定期进行校准,方法为将一标准毫伏表接入仪器“~”之插孔内,此时标准表应恰好指在1伏处,如不能达到或超过1伏,可用解锥伸入仪器后背的左边暗孔中调节R\(_{6}\)使之达到1伏。
4.必须在电路上测量电阻时,应去掉外电路的电源,如有电容器应先予以放电。
5.仪器不用时应将电源K\(_{5}\)拨至“关”位置。(操申生)