金属带材轧机的轧制速度很高,若用千分卡来检验产品质量,不能适应生产的需要,也保证不了产品质量。我们根据生产上的需要,制造了能够快速,连续检验带材厚度的非接触式电子测厚仪。
这种测厚仪的主要特点是:它把带材的厚度变换为电感的变化,因而不必直接与带材接触,所以不会因检验而损伤带材;测量精度高,能测1毫米厚以下的带材,厚度误差超出1丝时,仪表就有指示,带材越薄,灵敏度越高。
该测厚仪由电感传感元件、阻容耦合放大器、电子管电桥、8千赫振荡器、电源等五部分组成,图1是它的方框图。

电路说明
电路如图2。电子管G\(_{4}\)为电容三点式振荡器,产生8千赫的交流信号作测量电源,通过电容器C10,一路送到G\(_{3}\)作平衡电桥用的标准电源,它的大小由电位器R13来调节。

另一路信号加到串联的电感线圈L\(_{1}\)与L3上。从L\(_{1}\)感应到L2,从L\(_{3}\)感应到L4。L\(_{1}\),L2,L\(_{3}\)与L4是四个一样的电感线圈。L\(_{1}\)与L2之间介有标准厚度的金属带,L\(_{3}\)与L4之间放有被测金属带。L\(_{2}\)与L4是反向串联的。当被测金属带的厚度与标准金属带的厚度相同时,电子管G\(_{1}\)的栅路中没有信号输入。这是因为此时L2 与L\(_{4}\)中的感应电压相等,相位相反,互相抵消的缘故。当被测金属带厚度与标准金属带厚度不等时,L2与L\(_{4}\)中的感应电压就不相等,在G1的栅路内就有信号。L\(_{2}\)、L4并联一3000~6000微微法的电容器C\(_{1}\),当被测金属带的厚度误差超过允许公差时,L2与L\(_{4}\)的合成电感与电容器C1调谐在8千赫左右。输入到G\(_{1}\)栅路内的信号经G1放大后进入电子管G\(_{2}\)。经屏极检波后输入到电桥,破坏电桥平衡,在微安表上指示出厚度情况。表针指示的幅度可由电位器R5来调节。微安表的量程由电位器R\(_{8}\)来调节。微安表的零位即电桥的平衡由电位器R13来调节。
L\(_{6}\)是高频阻流圈,防止高频信号窜入电源。由于仪器比较灵敏,所以对电源的要求也较高,要求电源稳定。为此,交流电源经整流滤波后,用两只稳压管G5、G\(_{6}\),稳定电源的直流输出。如果没有稳压装置,微安表指针将随电源变动而摆动,影响准确测量带材的厚度。
零件制作

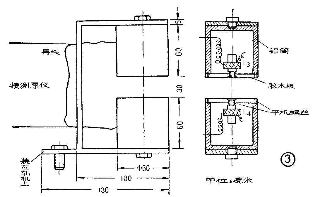
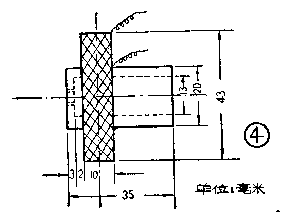
测量头如图3所示,是两个相对的圆铝筒,装在轧机上,使金属带在铝筒之间行走。筒内分别装有线圈L\(_{3}\)及L4。L\(_{3}\)或L4是绕在胶木管上的蜂房式线圈,用0.15毫米径的丝包漆包线绕2000圈,电感为64毫亨,其外形如图4。同样的两只圆筒,内装L\(_{1}\)和L2,为比较测量头装在仪器内部(见图5),在两圆筒之间置一标准样板(带材)。


振荡线圈L\(_{5}\)是与L1~L\(_{4}\)同规格的线圈。
高频阻流圈L\(_{6}\)是平绕在外径30毫米中空胶木棒上的平绕线圈,用0.15毫米漆包线平绕3000圈。
从仪器引到测量头的导线须用金属隔离线。
使用与调整
调节R\(_{13}\),当G1无输入信号时使微安表指零。
将一标准样板放在L\(_{1}\)与L2之间。然后再将被测金属带(合乎标准的)放置在L\(_{3}\)与L4之间,调节电位器R\(_{5}\),调到指针不动作时为止。
被测金属带处在L\(_{3}\)、L4中间,将产生涡流,如果被测金属带厚了,涡流就大,这时产生的感应电动势就大一些,使表针指正。如果被测金属带薄了,感应电动势也就小一些,使表针指负。从而从表针的指向可判断出金属带是厚了还是薄了。
测量磁性金属带(如钢带)时,应在感应线圈L\(_{1}\)~L4的胶木管中填满铁粉。测量非磁性金属带时,切不可装铁粉。
测量磁性材料时,振荡频率比测量非磁性材料时的约高出三分之一左右。改变频率时以改变电容为宜。
测量不同规格的金属带时,不必更换L\(_{1}\)、L2间的样板,旋动蜗杆改变样板在线圈图所处的角度就可以,这是因为样板在线圈中的角度不同,产生的涡流大小也不同。
该仪器比较灵敏,一般对\(\frac{1}{50}\)的比例来讲可有10微安的指示,就是说在测50丝厚的带材时,若误差为一丝就指示出10微安的电流读数。灵敏度可由R\(_{5}\)及R8调节,按需要而定。(丛树信)