业余制作超外差式半导体机,除半导体管外,最贵的元件要算一套售品中频变压器和振荡线圈了。如果收音机无需使用体积很小的元件,这套线圈可以利用电子管机元件改制,费用可以大大节省。下面介绍的改制方法是经过实验的,实际用以装成过两部使用不同型号变频管的收音机,效果都很好,成本不及售品的十分之一。今特提出来供爱好者们参考。
这套线圈包括三只中频变压器和一只中波波段振荡线圈,用“津无901”型中频变压器(图1)的磁芯骨架改制。这种中频变压器目前市场很容易买到,售价低廉,购买两只便可改制上述线圈全套,方法如下:

振荡线圈中的回路线圈(图2中的1~3),用0.06毫米(46号)漆包线四股绞合起来绕制。反馈线圈(图2中的4~5)用0.09毫米(43号)漆包线单股绕制。三只中频变压器的初级和次级用线均为0.09毫米漆包线。各线圈圈数如附表,均按图2所示乱绕,先绕初级,后绕次级。中频变压器的初级谐振电容配用200微微法固定电容器(901型原用120微微法的拆下不用)。如果用线没有相当号数的新漆包线,也可将原线圈上的旧线拆下重绕。

这套线圈的外壳,可以根据收音机的体积做成为小型或超小型的。小型的用废电解电容器铝壳改制(图4),回路谐振电容可以放在壳内。超小型的用废日光灯起动器(别火)的铝壳制作(图3),这时回路谐振电容就要放在壳外了。

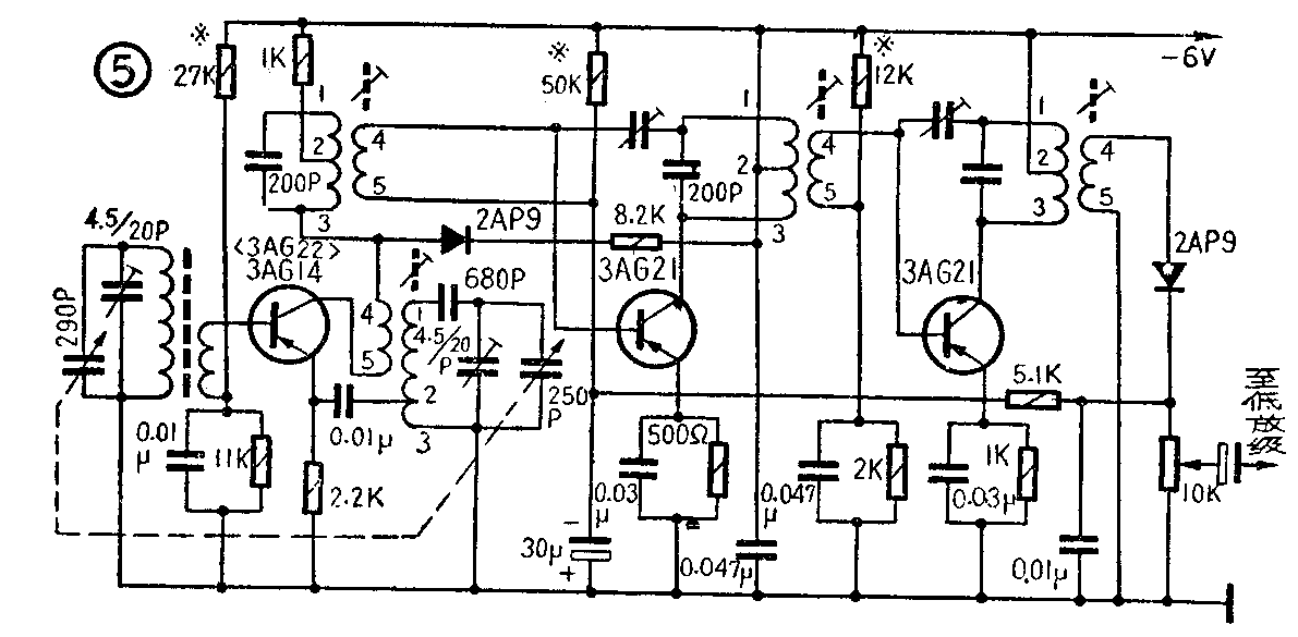
改制线圈的实际应用电路如图5,装用时外壳必须妥善接地(电源正极),各级半导体管的工作点电流如附表所列。(史振藩)
(附表)
圈数 集电极
名称 管号 电流
1-2 2-3 4-5 (毫安)
中波 3AG14 75 4 10 0.5
振荡线圈 3AG22 68 5 10 0.6
第一级 同上 150 60 10 同上
中周
第二级 3AG21 160 50 8 0.6
中周
第三级 3AG21 160 50 25 0.9
中周