这是上海市徐汇区少年宫“电子俱乐部”的作品之一,它形象化地说明了光电控制作用的原理。通过这种自动模型的制作也锻炼了少年业余无线电爱好者的实际制作能力,并掌握了一种简单的以机械和电子设备相结合进行自动控制的方法。
“自动炮”模型的炮身装在活动的炮座上,开启电源后炮身就会来回地旋转着寻找“目标”。当前面距离3米左右的碉堡里出现一个光源“目标”时,炮台上会马上自动发射“炮弹”,击中“目标”,“目标”当即倒下,发出响亮的铃声,同时放出红光,表示“目标”爆炸。
一、控制原理
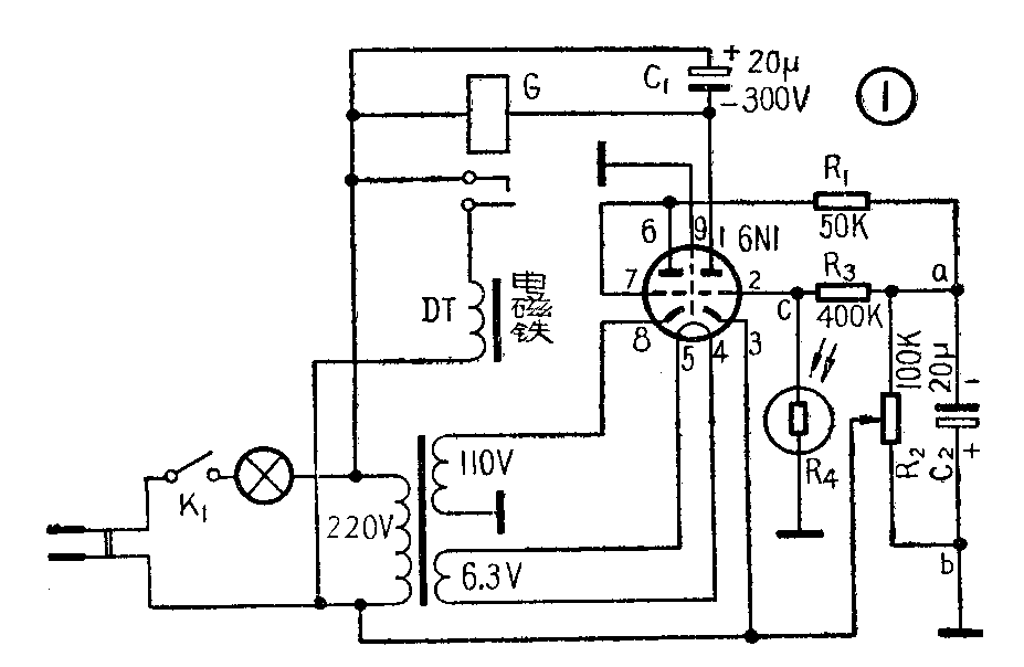
“自动炮”的电路见图1。全机只用一只6N1双三极管,\(\frac{1}{2}\)担任整流,1;2为电子继电器。整流部分是这样的:R\(_{1}\)、R2为固定分压器,因为光导管两端电压不宜过大,否则容易失效,经过这两电阻分压后,a、b两点间电压为70~80伏。

R\(_{3}\)为限流器,使通过光导管R4的电流小于0.1毫安。C\(_{1}\)为滤波电容器,用以滤去交流成分,使继电器G不会因交流成分通过而抖动。开启电源,调节可变电阻R2使继电器刚能释放,此时栅极上负电位稍高于阴极,屏极电流接近于0,所以继电器G释放。R\(_{4}\)为227B硫化镉光导管,暗电阻为2×10\(^{7}\)Ω以上,当被光线照射时,内电阻降为5×104Ω以下,使通过光导管的电流增加,c、b点间电压降低,对阴极来讲,栅极上负电位降低,趋向于正电位,其屏极电流增加,使继电器G动作,接通电磁铁电路。电磁铁就吸动发炮的执行机构,“炮弹”便发射出去了。
二、结构和制作
整个炮身及炮座结构见图2。炮座是一个可转动圆盘,上面装发炮部件。炮筒B是长120毫米、直径13毫米的铜管,内放一根弹簧,一头焊牢,在炮管上近60毫米处开一小洞,上面装一个钩子C。炮弹是一根长9厘米的木棒,上面装一个碗形橡皮头,“炮弹”向里装进炮筒时压紧弹簧,然后用钩子勾住弹簧前面部分。钩子又和电磁铁DT的吸铁片相接。当电磁铁被吸动时,钩子C便将弹簧放开,“炮弹”被放射出去。

F是一个凹面镜,由目标射来的光线经过它聚焦反射到光导管E上。凹面镜直径120毫米,它的位置距光导管约90毫米。
炮座传动部分详见图3。由一个1.5伏磁钢小电动机M,通过齿轮减速后带动装在木箱上的炮座圆盘A作来回旋转。圆盘直径170毫米。减速齿轮可利用废旧时钟上的齿轮,减速快些或慢些无妨。马达电源由电源变压器的6.3伏交流电源整流后供给。J是一个有双切换触点的6.3伏交流继电器,用来改换电动机的电流方向,使它轮换地作正、反方向转动。K\(_{4}\)为电动机电源开关。D为整流元件,用一片60×60毫米硒片。6.3伏交流电源整流后得到的直流电压,经过继电器接点和R5降压后,约有1.5伏电压加到电动机上。

K\(_{2}\)为撞接开关。在炮座圆盘上打有两根小木条。当圆盘转过约半圆周时,先假定小木条1撞击开关K2,使它闭合,继电器J电路接通,吸合动触点,使电动机电路内有一定方向的电流流过。电动机转动,带动拉线使圆盘向回转,小木条1离开K\(_{2}\),转到一定位置时,小木条2撞击K2,使K\(_{2}\)打开,J内没有电流流通,动触点放开,接到另一组静触点上,使电动机电流换向,电动机反转,又带动圆盘在回转,以后将重复上述过程。如此圆盘就带着炮身左右来回转动起来。
射击目标做成一个碉堡的形式,碉堡的窗孔内射出光线。碉堡型像板用三合板制作,尺寸约为300×250毫米。板下面装绞链,使碉堡板可以向后倒下。未中弹时它竖立着,并用小铁板支住,不致向前倒;这时它和接点a接触(见图4示意图),接通白灯,碉堡有光线射出。中弹时,碉堡倒下,接通接点b,红灯亮、铃响,表示碉堡炸毁。

电源变压器可利用两灯以上收音机用的电源变压器,自制可按图5所示规格的铁心,迭厚25毫米,初级用直径0.274毫米漆包线绕2200圈;次级110伏线圈用同样漆包线绕1170圈;次级6.3伏线圈用直径0.61毫米漆包线绕68圈。

继电器G可用3000~5000欧直流灵敏继电器。电磁铁用220伏的交流中间继电器,自制可参考图6。铁心尺寸如图示,可利用相当的变压器铁心改制,它的一端要嵌入一个用厚铜皮做成的短路圈,这样可以避免电磁铁剧烈颤动。电磁铁线圈用24号漆包线绕满窗口为止。

三、调整
装置完工后将光源目标和发炮器位置固定。然后调整炮筒高低和凹面镜与光导管距离,使凹面镜聚成光点,正好射在光导管上而炮又能击中目标。最后调节电路中R\(_{2}\),使光照时继电器吸,不照时放开。这样就可开动小马达让炮座自动来回转动,寻找目标进行轰击,“自动炮”就制成了。(郑祥泰)