电阻真空计是热传导真空计的一种。它是利用在低真空下,气体的热传导与压强无关;在中等真空下,气体的热传导开始与压强有关;在高真空下,热传导与压强成正比的关系而制成的。当加热着的电阻丝周围的气体压强改变时,电阻丝热量耗散情况也改变。在真空度由高变低时,被气体携走的热量增多,电阻丝的温度下降,从而电阻值变小,反之,则电阻值增大。用电阻作传感器件的真空计叫做“电阻真空计”。

基本工作原理,如图1所示。接到真空系统的测量规管F是电桥的一个臂。今设真空度为5×10\(^{-}\)4毫米汞柱时,F的电阻值等于R\(_{2}\),这时a,b二点的电位相同,微安表无电流流过无指示。当系统的真空度变为1×10-2毫米汞柱时,气体热传导变大,F的阻值就变得小于R2,a、b间产生一电位差,微安表指示出相应的电流值。我们根据微安表的读数就能知道系统的真实度。
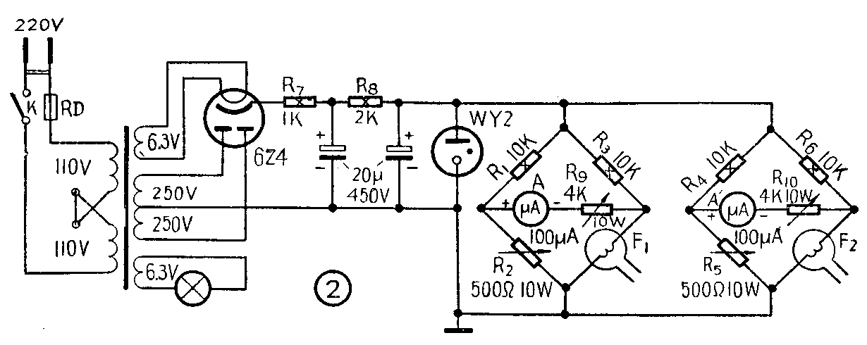
我们制作的电阻真空计的测量范围是1至5×10\(^{-}\)4毫米汞柱。整个仪器的电路如图2所示。电源变压器为五灯收音机用的变压器,两个规管F\(_{1}\)和F2分别测量真空系统的两个部位的真空度。规管是用220伏25瓦电灯泡改制的,如图3所示。新灯泡先燃点30分钟,以除去钨丝表面的氧化物或石墨。在灯泡的顶部熔一个洞,选择和灯泡玻璃同类型的玻璃管熔焊在洞口上,制成后的形状见图3。为了减少扩散泵和其它热源的热辐射对灯丝湿度的影响,把规管装在金属制的隔热罩中,再接到真空系统上,连接方法见图4。

电阻真空计的调整步骤如下。1、把真空系统抽到5×10\(^{-}\)4毫米汞柱,调整R\(_{2}\)、R5使微安表指零,用漆把电阻封住,以防滑动而改变阻值。2、真空系统放入大气,调整R\(_{9}\)、R10使微安表指在95微安,然后将电阻的滑动点封固。3、利用麦式气压计校准微安表的指示值,绘出曲线。这样,从微安表的指示值就可以读出真空系统被测部位的真空度了。

这种仪器的优点是:(1)可以连续读出真空度。 (2)由于规管的工作电压低及温度低,无明显的放气现象。缺点是受周围温度的影响。(王铁城)