使用电子管装成的电压表、电阻表,由于有很高的输入阻抗,并且可以加装放大器,故有灵敏度高和消耗待测电路里的电流极小的优点。此外还因输入电容较小,提高了测量交变电压的频率,可以测量频率从50赫到30兆赫以内的交变电压,在无线电测量方面用途很广。这里介绍的一台繁用表,只用两只电子管,可以用来测量交变电压、直流电压与电阻。它耗用材料很少,制作简便,适合业余爱好者自制。
一、工作原理
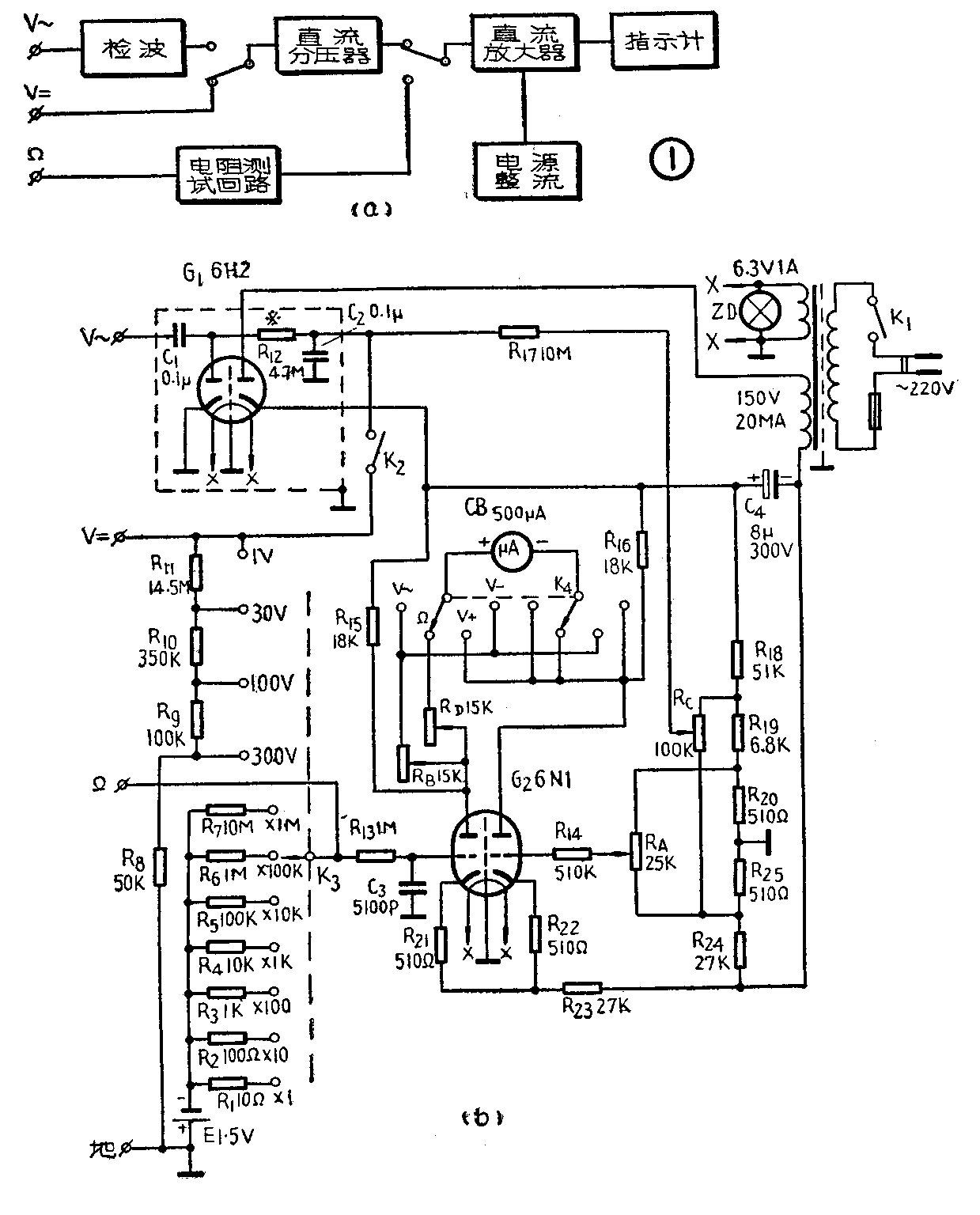
用一只双二极管6H2的一组二极部分担任检波,另一组二极部分担任电源整流。用一只双三极管6N1担任平衡桥式直流放大器。一只灵敏度为500微安磁电式表头作测量指示计。它的方框图见图1(a),电原理图见图1(b)

①直流电压表(直流放大器):开启电源以前,先校正电流表CB的机械零点,将单刀单掷开关K\(_{2}\)开路,然后接通电源开关K1。将V\(_{=}\)与地两端短路,单刀十一掷分头开关K3掷于与待测电压相适应的量程位置,双刀四掷分头开关K\(_{4}\)掷于V+(或V\(_{-}\))位置。调整电位器RA(V\(_{=}\)零点调整),使电子管6N1的两个栅极对地的电位相等。此时两个三极管的内阻作为电桥的两个臂,而其屏极负载电阻作为电桥的另两个臂而达到平衡,电流表CB不偏转,指示为0。当待测电压的两极分别加于V=与地两端后,此电压即经分档分压器加于电子管6N1的左边三极部分的栅极上,该三极管的内阻变化,引起屏回路电流变化,电桥失去平衡,电流表CB上有电流流过,指针偏转,偏转角度与待测电压的大小成正比,于是达到测量的目的。
电位器R\(_{B}\)用作调整V=灵敏度,校对时在输入端加满度量程电压,调整RB使电流表CB指针达到满度。它只在仪器校准时作一次调整之用。

分档分压器的总电阻阻值即是本电压表的输入阻抗。此电阻阻值不应小于5兆欧,一般在5~20兆欧之间选择。本表选用15兆欧。关于分压器各分压电阻阻值的计算,当给出输入电阻的电阻值、最低满度量程的电压值后,按下列公式求得(设分压器如图2):
R\(_{3}\)=E1(R\(_{1}\)+R2+R\(_{3}\))E3
R\(_{2}\)=E1(R\(_{1}\)+R2+R\(_{3}\))E2-R\(_{3}\)
R\(_{1}\)=E1(R\(_{1}\)+R2+R\(_{3}\))E1-(R\(_{2}\)+R3)
其中:E\(_{1}\)为最低满度量程电压值;E2、E\(_{3}\)为其余各分档满度量程电压值。
由于阴极电路有较深的负反馈作用,仪器的工作性能较为稳定,当电源电压变化±10%及电子管有一定程度的衰老时,仪器的正常工作不会受到影响。
②交流并联式峰值二极管电压表(探极):
用电子管6H2的一个二极部分作交流电压并联式峰值检波,其检波原理为:利用电容器C\(_{1}\)的充电经与二极管并联的高阻值电阻(R8+R\(_{9}\)+R10+R\(_{11}\)=15兆欧)的放电作用,达到检波目的。当待测交变电压在正半周时,C1通过二极管(此时二极管内阻约2千欧,远小于与其并联的电阻)充电;在负半周时二极管的内阻无限大不导电,C\(_{1}\)通过电压表的输入电阻放电,又因该电阻很大,C1来不及完成放电,于是在电阻两端产生一电压降,此电压降的值与待测电压的振幅成正比。此电压随后控制直流放大器。
二极管检波的输出电压是峰值。为了使其变为有效值与直流电压的量程刻度相一致(除1伏档外),要在分压器电路中串入电阻R\(_{12}\)。根据电压峰值与有效值的换算计算,R12应为分压器总电阻的\(\sqrt{2}\)倍,但由于其他元件、导线等的影响,实际阻值要小于计算值,应在校对的选用。
电位器R\(_{C}\)用作控制抵偿电源整流的起始电流之用。
③电阻表:将K\(_{4}\)掷于Ω档,K3掷于适当量程位置,此时在直流放大器的输入栅极电路外加了一个电阻测试回路——一个与电阻R\(_{1}\)或……R7串联的已知固定电压E(1.5伏)。由于6N1左三极部分的栅负压增大,其内阻相应增大,于是电桥失去平衡,有电流流过电流表CB,调整电位器R\(_{D}\)使指针满度(相当于调整一般万用电表上的倒欧姆表的零点)。当在Ω输入端接入待测电阻Rx时,R\(_{1}\)或……R7上的电压降改变,引起直流放大器屏路电流改变,电流表CB读数改变。指针偏转的规律是:R\(_{x}\)的电阻值愈小,指针反向偏转的角度愈大,反之阻值愈大,反向偏转的角度愈小。
④电源整流:电子管6H2的另一组二极部分担任半波整流。根据这种电子管的整流特性,屏极交流电压为150伏,屏极直流电流8毫安,故电源电压采用150伏。
二、安装要点

若采用的电流表CB的表面尺寸为4寸时,机箱尺寸为240×180×100立方毫米。机箱材料可选铁质或木质的。面板安排情况参考图3。这是当不另装控极时的安排。
装制时元件的选用,布局的安排,可视个人具体情况来考虑,但要注意下列几点:
1.当要求测量高频电压的频率在150千赫以上时,必须将交流二极管电压表装在探极内(如电原理图中虚线内部分)。
2.当不装控极测量较高频率时,V\(_{2}\)与地的输入端外接引线不要长于100毫米。当装探极时C1的两端引线必须尽量短,探极的外皮与高压、灯丝引线要有良好的绝缘。
3.电容器C\(_{1}\)、C2、C\(_{3}\)应选用质量高的,最好用云母或瓷介质的,而且C1、C\(_{2}\)的工作电压要大于500伏,体积愈小愈好。
4.全部电阻必须无感,可选用1/2瓦碳膜电阻。其中分压器及电阻测试回路中所用电阻的阻值要尽可能正确,误差应尽可能小。6N1屏极负载电阻R\(_{15}\)、R16,阴极电阻R\(_{21}\)、R22的阻值要尽量相等。
5.电子管管座必须用瓷质的。
6.开关K\(_{2}\)、K3、K\(_{4}\)的绝缘电阻愈大愈好,K3、K\(_{4}\)应当用瓷质的。
7.电子管电压表的输入部分与其他线路间的隔离需要尽量完善。
上列措施是保证电压表具有高的输入阻抗和低的输入电容所必需的。
电源变压器可按下列数据自绕。铁芯采用EI19型D41硅钢片,迭厚28毫米。初级线圈用φ0.17漆包线绕1540圈;次级高压线圈用φ0.08漆包线绕1152圈,灯丝圈用φ0.61漆包线绕54圈。初次级间应加静电屏蔽层。
三、校准刻度
将装好的繁用表的电流表CB的机械零点调准零位后,开启电源预热10~15分钟(最好经过老化四小时后进行),再进行下列调整校准。

1.直流电压刻度:只须校准1伏及30伏两量程的分度位置,直流电压100伏、300伏及交流电压30伏、100伏、300伏诸档即分别同于该两刻度。具体的程序是:将直流电压输入端短路调整电位器R\(_{A}\)使电流表CB的指针指示在零点。并将K2开路,K\(_{3}\)置于1伏档位置,K4置于V\(_{+}\)位置。然后将图4的标准电压输入繁用表的V=输入端调整W使标准表的读数为1伏。调整电位器R\(_{B}\)使电流表CB指示满度(校准其他档刻度时不再调整)。再调整W使标准表的读数分别为0.1、0.2……0.9伏,相应地在电流表CB的表盘上绘出各分度的位置。
校准30伏档刻度的程序与以上同。
2.交流电压刻度:校准程序参照以上。只是利用220伏市电在标准表上的读数,来调整繁用表中的R\(_{12}\),使电流表CB上300伏档刻度上的读数与标准表相同即可。

不过1伏档的刻度与直流电压刻度不同,应按图5电路输入标准电压,按上列步骤校准刻度。此刻度在表盘上单独列出。
3.电阻刻度:电阻的刻度中心值为10,要用无感电阻箱校准,画出刻度。具体程序与以上雷同。(施宛愚)