在要求不太严格的恒温设备里,多采用水银接点温度计或金属电阻温度计作感温元件,由于这些感温元件本身的惰性,不能用在高灵敏度的温控设备里。我们根据恒温要求较严格的温按设备的需要,试制了以半导体元件——热敏电阻为感温元件的恒温控制器。
由于半导体感温元件的体积小,因而热容量小,热惰性也很小,并具有一般水银温度计所不可比拟的热敏性。因此我们试制的这种恒温控制器,当温度变化0.05℃~0.2℃时,执行机构就能工作。又由于我们采用了桥式电路,可在-20℃~+120℃的范围内作恒温控制。
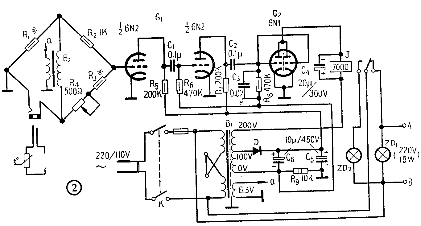
电路介绍


图1是恒温控制器的方框图,图2是电路图。控制器主要由热敏探温棒、交流电桥、电压放大、相敏放大、执行机构和电源等部分组成。
热敏探温棒为一带有塑料被复层金属隔离引线的笔式珠状热敏电阻,具有很高的热敏性。

热敏电阻具有随温度增高而其阻值迅速下降的特性(见图3),即具有负的电阻温度系数,在室温下,其值α=-3~-6%/℃,而其接线金属铂的α值仅为+0.37%/℃,利用热敏电阻的电阻温度特性,可将温度这一非电量变化转换为电量的变化,以便进行精确的测量和控制。
图4电桥的平衡条件为
R\(_{T}\)·R2=R\(_{1}\)·R3
若将热敏电阻置于某定温环境中,调节R\(_{3}\)可使电桥平衡,当温度有微小变化时,热敏电阻的阻抗也发生相应变化,电桥平衡被破坏,电表中即有电流流过。经过校准,则可从电表的指示直接观测出温度变化情况。反之,若根据温度变化调节R3,使电桥达到平衡,并定出对应R\(_{3}\)的温度值,则从R3的刻度上可读出温度变化情况。
我们用一只6.3V/5V小型变压器B\(_{2}\)给电桥供应交流信号。电桥输出直接接放大管G1的一个栅极。G\(_{1}\)(6N2)为双三极管,作两级电压放大使用,其输出接入双三极管6N1并联运用的相敏放大器的栅极。
相敏放大器为自动控制中常使用的一种电路,其屏极接交流电源,只有在屏极交流电压为正半周时,电子管导电;负半周时,电子管截止。相敏放大器的特点在于其相敏性,即屏流的平均值仅随输入信号的相位变化,而与输入信号的大小无关。当栅极输入电压与屏极电压同相时,屏流平均值最大。若相位相差一个φ角,则屏流平均值也减小,直至φ=180°时,屏流平均值达到最小值。若φ>180°,则屏流平均值又开始增大,直至φ=360°时,屏流平均值达到最大值。
以直流电阻7000欧的高灵敏度继电器为相敏放大器的负载,它也是控制设备的执行机构。
如前所述,环境温度的变化会引起热敏电阻的阻值变化。当热敏电阻的阻值减小或增大时,均会破坏电桥平衡。由于电桥电源与相敏放大器的屏极电源均选用了50赫的交流电源,并考虑到其间的相位关系,因而只有在热敏电阻的阻值减小(即升温)电桥不平衡时,相敏放大管屏流的平均值才增大到足以使继电器动作的地步。而在热敏电阻的阻值增大(即降温),电桥不平衡时,相敏放大器的屏流并不增大,不会引起继电器动作。也就是,只有在温度升高时,继电器吸动,温度降低时,继电器释放。
220伏交流电源经继电器J的常闭接点,通过接线柱A、B供电。当环境温度低于规定温度时,由A、B接线柱供电加热,同时绿色“正常指示”灯ZD\(_{1}\)亮。当温度超过规定温度时,继电器吸动,切断加热电源,同时红色“超温指示”灯ZD2亮。
如此,通过半导体感温元件,相敏放大器和执行机构的连动反应,即可达到恒温自动控制的目的。
调整
仪器装好接通电源后,绿色“正常指示”灯应亮。用解锥伸入感温器插口,使其短路,这时绿色“正常指示”灯应马上熄灭,红色“超温指示”灯亮。取出解锥(电桥感温器臂断路)时,绿灯再亮,红灯灭。如果红、绿灯的亮灭程序相反,即说明电桥交流信号的相位与相敏放大器的屏压的相位不配合,这时应把小变压器B\(_{2}\)的次级(或初级)的接线反接。
电阻R\(_{1}\)与R3应根据热敏电阻的阻值与温度控制范围来决定。其决定方法如下。
设RT\(_{1}\)为热敏电阻在温控低温极限时的电阻值,RT2为热敏电阻在温控高温极限时的电阻值。根据电桥平衡条件,应该有
R\(_{1}\)=R2R\(_{4}\)(RT1-RT\(_{2}\))
R\(_{3}\)=R4·R\(_{T2}\)/(RT1-R\(_{T2}\))。
例如:温控范围选在30°~60℃之间,测得R\(_{T1}\)=40K℃~Ω,RT2=14.3KΩ,则根据上式可计算出R\(_{1}\)=51.4KΩ,R3=0.278KΩ。
实际上可选取接近而稍大于R\(_{1}\)计算值的电阻为R1,如52KΩ的;选取接近而稍小于R\(_{3}\)计算值的电阻为R3,如270Ω的。

以上我们极简略地叙述了热敏电阻式恒温控制器的原理,如果事先用标准温度器校准可变电阻R\(_{4}\)的位置刻度,恒温控制器还能用作快速感温的温度计。图5是仪器的外形图。(陈亚东)