用两个半导体三极管可以做成一级来复再生和一级低放的两管机。来复式电路因为一管兼作高频和低频放大,再多加一级低放,就可以用扬声器放音。
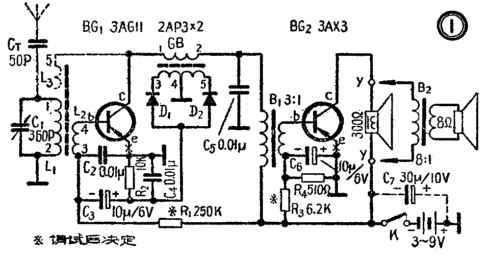
图1就是这种两管机电路。来复式检波部分,和以前介绍过的来复式电路相同。现在在它输出到耳机的端子上改接一个低频放大级的输入变压器B\(_{1}\),变压比为3∶1,前一C6是BG\(_{2}\)输入电路的隔(直)流电容器和音频的通路,要用较大的容量。音频信号被BG2再度放大之后,在集电极电路输出,推动扬声器发声。R\(_{3}\)和R4是固定BG\(_{2}\)工作点的偏置电阻。电容器C7是用以防止电池快要用完时,电池内阻增大而发生的噪音。

扬声器是供半导体收音机用的低阻抗小型舌簧扬声器(线圈直流电阻300欧),它的灵敏度比较好,但音调较尖。如果要得到较好的音质,可以改用小型动圈式扬声器,并配合一个小型输出变压器B\(_{2}\),在图上yy处换接。采用音圈阻抗为8欧的扬声器可以有较高的灵敏度,扬声器的口径可按收音机盒子的容许容积选择,输出变压器应和扬声器的音圈阻抗相匹配,售品输出变压器上面一般都注有配合扬声器阻抗的欧姆数。
收音机的实体接线见图2,装配方法和一般的单管机大致相同,高频变压器GB的制作方法见本刊1965年第9期第26页。再生回输线圈L\(_{3}\)可以先不接上,单由高频变压器和磁棒的耦合来取得再生,工作可以较为稳定。调试时如果发现灵敏度不足,然后再在磁棒上加绕2~6圈作L3,就会有较强的再生。磁性天线的线圈都是用七股的丝包漆包线绕制,L\(_{3}\)有一端空着不接。高频变压器的位置和再生有关,最好先放在离磁棒较远的地方,它们的磁心互相垂直。磁性天线不应靠近扬声器,以免受到磁化,减低效率。输入变压器B1也要远离扬声器和磁棒,在使用输出变压器B\(_{2}\)时它应和B1互相垂直放置,以免引起感应。

半导体三极管BG\(_{1}\)是用高频管3AGll(П401),也可以用其它型号的高频管代换;BG2是低频管3AX3(П6B),其它各种型号的低频管也可以代用。
装配时如果是用原有的单管机加装低放的,换用机壳之后,要是原来的零件没有更动,BG\(_{1}\)的集电极电流就不需要再行调试,只要选择R3,调好BG\(_{2}\)的工作点就可以了。假如全部都是新装配的,最好是先装低放级,调试好了BG2的集电极电流后再装检波级,然后调整BG\(_{1}\)的集电极电流和再生状态。低放级调试的方法比较简便,用一个10~50千欧的电位器代替R3,在图上有×处接入一个0~10(或50)毫安的直流电流表,将电位器的阻值由大到小调整到电表的读数为8~10毫安左右,这个电流调得大,音量可以大些,但失真的程度也随着增加,可在最后试听时校正。这里测量的是发射极电流,因为它与集电极电流相差不多,在发射极测量较为方便。然后是换入相当阻值的电阻作R\(_{3}\)。检波级的调试是用500千欧的电位器代替R1,电表改接BG\(_{1}\)发射极的×处,将电流调到0.8毫安左右后,确定R1的阻值用电阻换上去。此后就是试行接收广播段内高端和低端的电台,可以稍为变动高频变压器的位置或角度来照顾两端的灵敏度和音量,如果高频端的灵敏度不足,还可试行掉换高频变压器的初级线圈1、2两端或是按上面说的加入再生线圈L\(_{3}\),但要注意它的绕制方向要和L1相同,绕反了再生反而减弱。又如低端出现叫声或断续振荡,则是高频变压器次级的圈数太多了,应将3、4和4、5之间的两个线圈各减去数十圈再试,两段线圈减去的圈数应该相同。合适的再生是高端和低端电台的音量都能兼顾而又没有再生叫声。
在收听近地电台时,收音机用3伏电池已能工作,电池如增加到6伏或9伏,音量可以更大。但是改变电池电压后,R\(_{1}\)和R3的阻值就要重新调整。
这个收音机的灵敏度和一般的单管机电路相同,但在近电台二、三十里内使用,可以不用天地线,远地则要在图上的虚线部分接上一根普通天线,通过电容器C\(_{T}\)接在输入电路上。(冯报本)