用一只半导体二极管和两只三极管做成一具简单的电场强度计,可以作许多有用的测量,例如测量某电台在一定地点产生的电场强度,测量和比较航模遥控用的发射机在一定距离内的电场强度,从而确定包括天线系统在内的整个发射机是否正常,以及绘制发射天线的辐射图形,作电波传播、反射和吸收的演示等等。
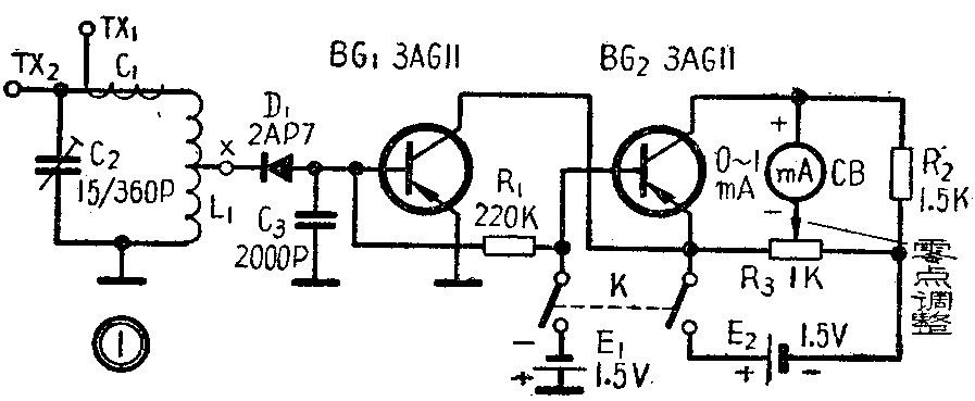
原理:图1是用于中波广播段的电场强度计电路图。它的原理很简单,是由一级单调谐回路,半波检波,经过两级直流放大组合而成,最后由直流电流表指示信号强度。在天线插孔TX\(_{1}\)或TX2接上天线后,电台信号便由天线传至由C\(_{2}\)与L1构成的调谐回路,经二极管D\(_{1}\)检波后,其交流成分经由C3短路到地,其直流成分则加到三极管BG\(_{1}\)的输入端进行放大。R1为偏置电阻,它使BG\(_{1}\)管处于较好的工作点上。这只电阻也可以不用,主要是随所用BG1管的特性而定,其大小以使基极能有50微安上下的偏流,使本级既能得到较大的增益,又能工作稳定为准。BG\(_{1}\)和BG2都接成为发射极接地放大器,BG\(_{2}\)的输入阻抗是直接作为BG1的集电极负载。由于发射极接地放大器的输入与输出电流是反相的,故BG\(_{2}\)是倒接向BG1的,因此BG\(_{2}\)管电路也就不能接地了。BG1和BG\(_{2}\)只是作直流放大用,故任何半导体三极管,只要β值大一些,特性比较稳定的都可以用。笔者用的是两只现有的3AG11管。

CB是一只0~1毫安量程的直流电流表,可用万用表相应的电流档,若能有量程更小的电流表,如0~100微安的则更好。为了抵消电流表中流过的起始电流,也就是无信号时的电流,由电阻R\(_{2}\)和电位器R3以及BG\(_{2}\)管的输出阻抗共同构成一个电桥,在无信号时调节R3至电桥平衡,此时CB表两端电位相等,无电流流过,故指示为零。
制作:L\(_{1}\)可以利用一般的再生式或矿石机线圈。若要自制,可在直径25毫米的纸筒上用0.13~0.15毫米径(38号)漆包线密绕140匝,在70匝处抽头,全绕距约为22毫米,电感量约为260~280微亨。它与一只360微微法的单连空气可变电容器配合,可在整个中波广播段范围(550~1650千赫)内工作。电池E1和E\(_{2}\)是两只1.5伏的干电池。本机工作时耗电仅1.5至3毫安,故用4号或5号小型电池即可。
C\(_{1}\)为作衰耗用的电容器,容量约在5微微法以下,实际是用一段单股塑胶线由TX1插座引出,在TX\(_{2}\)至L1的连接线上绕3~4匝而成的,其容量可在校准时加以调节。
全机装于一只18×13×8.5厘米的木制盒内,面板零件排列可如图2。

校准:我们知道,二极管检波器只有在输入信号大于1~2时才具有直线性的特性,即所谓“直线性检波”。在信号小于0.5~1伏的情况下,其输入输出关系是非线性的,近乎平方律的特性,即所谓“平方律检波”。而一般天线信号,除接近电台附近或使用很长的天线外,多远小于0.5伏。故检波器输出的直流电流与场强对天线信号间的关系是非线性的,所以电流表与天线信号间的关系也是非线性的。因此用电流表作场强计指示时,它的刻度需要利用信号发生器来加以校准重画。其方法是将高频信号发生器接到场强计的TX\(_{2}\)处,使场强计的输入回路和信号发生器信号谐振。由于场强计测出的是电台载波在某一点产生的场强,故信号发生器只用不经调制的载波即可。调节信号发生器至场强计的输出,并记录场强计表头的相应读数,由10毫伏至100毫伏,每隔10毫伏作一次记录,然后将各点在座标纸上连成平滑的曲线如图3所示,这样就可以使用了。本机在TX2处接天线后,测量范围为10至100毫伏。再将信号发生器接到TX\(_{1}\)处,在某一信号处调节TX1引出的绞线(也就是调节C\(_{1}\))至具有三倍的衰耗为止。例如在TX2处信号发生器输出30毫伏的信号,CB上的电流指示为50微安,则现在将信号发生器置于90毫伏处,调节绞线使电流表仍指示50微安,这时就得到了三倍的衰减,亦即本场强计在天线TX\(_{1}\)处时量程为30毫伏至300毫伏。以上是采用现有的1毫安表头的情况。若采用100微安表头,则可测信号下限更可扩展至约3毫伏处。

超短波电场强度计:将图1中的输入回路,即图中“×”符号以左的部分,按以下方法换成图4的回路,即成为测量超短波的电场强度计。

1.57~65兆赫波段(如北京电视台使用的第二频道波段)。这时输入回路应照图4(a)制作,L\(_{2}\)用1.0毫米(20号)裸铜线空心绕4匝焊牢在一只支架上,绕成后线圈直径为15毫米,匝间间隔为2毫米。L1为天线耦合线圈,用同号线空心绕1匝,也焊在同一支架上与L\(_{2}\)的热端平行靠近,两线圈间距亦为2毫米。C2为5/30微微法的瓷介微调电容器。使用时在L\(_{1}\)的A、B两端各接一根1米长的天线成V字形。如用于第五频道(92—100兆赫波段),L2可绕为3匝。
2.28~29.7兆赫波段(如航模遥控使用的业余波段)。L\(_{2}\)增至9~10匝,线圈制法及零件排列同上。在高频段中零件的排列位置对参数的影响甚为显著,故L2的确实匝数,要由实验决定。C\(_{2}\)仍可用5/30微微法的。因使用垂直天线,所以L1下端接地。
以上两波段中所用的C\(_{2}\)都应装在面板上,以便调节。
应用:笔者在广播波段使用此场强计作过一些实验。例如在某地空旷地面上,用全长1.4米的垂直天线,测得中央台第二套节目720千赫的信号为140毫伏,而走进室内测得的场强只有125毫伏,在靠近砖墙处则只有44毫伏了。这说明砖墙对电波的吸收作用。但在靠近室内电灯线处测得为200毫伏,比室外还大。这可能是由于电力线在其沿途吸收了电波而在室内形成二次辐射的缘故。后将电灯线移开,读数果然就又显著下降了。
这具场强计所测出的是天线信号强度,还不是实际场强,所以测得数值还需换算。实际的电场强度E与天线信号U之间有如下的关系:
E=U/l\(_{有效}\)
式中l\(_{有效}\)为场强计天线的有效长度在广播段垂直天线的长度远小于波长,可认为有效长度为实际长度之半,即l有效≈\(\frac{1}{2}\)l。例如上面用l=1.4米的天线,则l\(_{有效}\)=1;2(1.4米)=0.7米。若测得信号强度为140毫伏,则E=140/0.7=200毫伏/米。(景新)