在召开电话会议时,要求每一个会议参加点都能够发言,能够使所有的会议参加点和坐在电话会议室里的人,都能听到各个参加点的发言。这些要求使用普通电话机是难以实现的。我们根据需要,把原来的电子管式会议电话机,改成了半导体会议电话机。经过使用,效果良好,并能用在无交流电源或交流电源不可靠的地方。
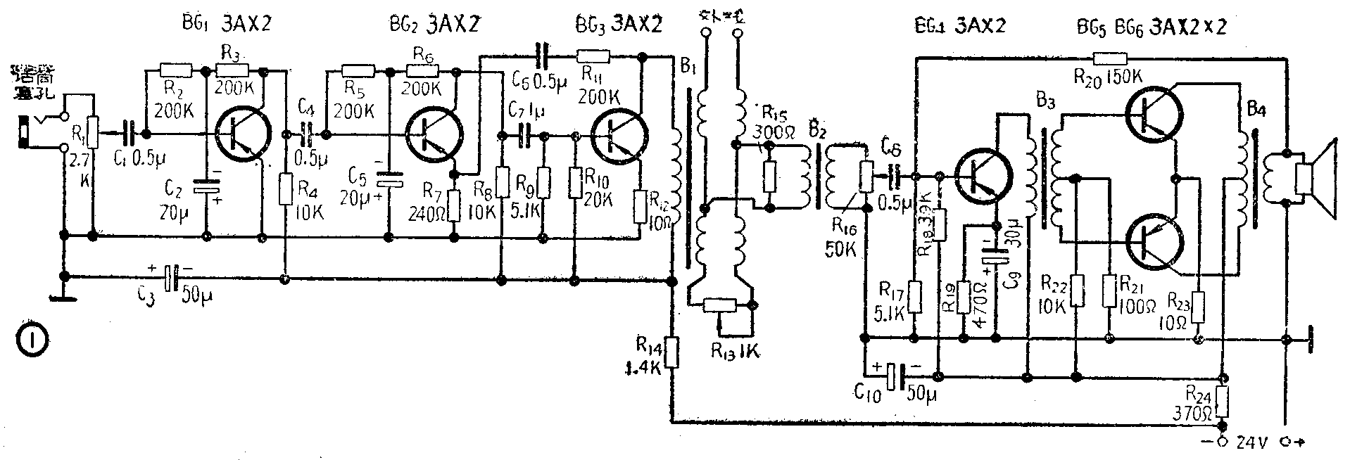
此会议电话机用直流24伏供电,其电路如图1。送受话的平衡是靠混合线圈B\(_{1}\)来完成的,送话信号能传输至外线而不传向受话电路。

送话电路由三级甲类放大电路组成,其增益为61分贝时,约有8分贝的二级电流负反馈,故有音质好,失真小,线路阻抗变动对输出电平的影响小等特点。BG\(_{1}\),BG2的偏置电路采用电压反馈自偏,BG\(_{3}\)采用电流反馈自偏,因而稳定性较好。
受话电路为二级放大电路,末级为乙类推挽放大,若增益调到45分贝,它有6分贝的电压负反馈。偏置电路均为电流反馈自偏。
电路元件
BG\(_{1}\)~BG6均为3AX2半导体三极管。B\(_{1}\)2可用电子管会议电话机的混合线圈及输入变压器,也可以自绕,其方法如下。
混合线圈的绕制:
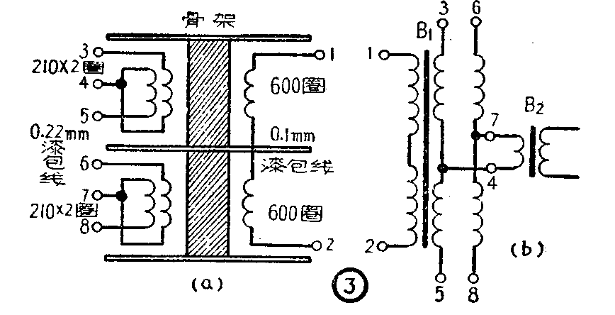
用E\(_{42}\)磁性瓷芯,取0.75毫米厚青壳纸,比照瓷芯尺寸,做一个如图2形状的骨架,在骨架两格内照图3绕线圈,先绕①~②线圈后用双线并绕③~⑤和⑥~⑧线圈,为了使分布电容一致,每层线圈间和初次级间要垫薄蜡纸,每圈紧贴无隙;双线并绕不应使一线松缓,更不应使用线径不一致的线并绕,因为这样会造成电阻、电感参数的不一致。


线圈绕好后,按图4用夹板将磁性瓷芯固定,然后把线圈浸在热蜡里驱潮(蜡不能太热),待蜡锅内没有气泡溢出时拿出线圈,再把70%的石蜡和30%的松香熔化在一起,用它把线圈灌固在图5的铁盒内,然后把引线焊牢在胶板的空心铆钉上。


一般来说,绕好的线圈问题不大,为了保障性能良好,最好在线圈浸蜡之前,先作一下绝缘、直流电阻和平衡的测量。其方法简述如下:
1.绝缘测试
用250伏兆欧表测量线圈①⑤端子和⑤⑧端子,绝缘不应低于50兆欧,磁心与各线圈之绝缘不应低于50兆欧。
2.直流电阻测试
①②间的电阻不大于200欧。③~④、④~⑤、⑥~⑦、⑦~⑧四线圈直流电阻都相等。
3.平衡测试
③⑥间和⑤⑧间各接一600欧无感电阻(阻值必须一样),自①②端送入800赫4伏信号,在④⑦端接一高阻听筒,应听不到声音或声音极微小。
以上三方面若一项有问题,都要降低混合线圈质量或者不能用,所以必须拆下重绕。
此混合线圈外线端和平衡电位器端均应接配600欧阻抗。
受信输入变压器绕制:
此变压器可用6P1P用输出变压器,原初级不动,改作次级,原3.2欧的次级圈拆下,改用0.09mm漆包线绕1800圈(可乱绕)作初级线圈,接在混合线圈B\(_{1}\)的④⑦端子上。
B\(_{3}\)4用E\(_{3}\)0磁性瓷心,按图6数据自制。扬声器用8欧0.1瓦的高效扬声器。话筒应该用低阻抗的(600欧左右的)。

测量与调整
1.各半导体管的工作点应按下表的集电极电流调整,调整时把直流电流表串入集电极电路(末级推挽串入输出变压器中心抽头处)变更相关偏流电阻值,达到规定要求。
2.送话放大器按图7接线测试。将800赫3毫伏音频信号送入话筒塞孔,外线并接600欧无感电阻、毫伏表和示波器。调整电位器R\(_{1}\),使毫伏表指到1.41伏,波形应为正弦波无失真现象。然后变动音频振荡器频率由300到3000赫且保持输入电平不变,波形应无失真,输出电压最大和最小指数为电压不均匀度,其值为:
20lg\(\frac{U}{_{大}}\)U小≤4.3分贝

撤除输入信号,600欧电阻接入话筒塞孔,毫伏表指数即为送信杂音电压(U\(_{杂}\)),杂音防护度应为:
20lg\(\frac{U}{_{杂}}\)1.41≥52分贝
3.受话放大器的测试接线如图8。将800赫390毫伏音频信号由外线送入,扬声器音圈并接毫伏表和示波器,调整电位器R\(_{16}\)使毫伏表达到890毫伏,此时应无波形失真,频率特性测试与送信频率特性测试相同。然后撤除外线输入信号,接600欧无感电阻,毫状表指数为受信杂音电压,杂音防护度应为:
20lg\(\frac{U}{_{杂}}\)0.89≥62分贝

4.混合线圈平衡度测试。将送话输出固定在1.41伏位置,受话输出固定在890毫伏位置,自话筒塞孔送入800赫3毫伏信号,外线并接600欧,调正平衡电位器R\(_{13}\),使扬声器输出电压最小(U小),此即平衡最佳点,其平衡度应为:
20lg0.89U\(_{小}\)≥55分贝

5.升温试验。将200瓦灯泡直照各晶体管,靠近晶体管放一温度表,待温度表升到40℃时,测试送受信输出电压,与室温测试时的数值比较,相差应小于1%。(史振藩)