自动控制温度的电烙铁
这里介绍的,是一种低压电烙铁,它利用铁磁性材料的居里点来自动控制烙铁头的温度,其构造如图。烙铁头的尾部装有用镍铁合金做的片状热敏元件,用来把后面的永久磁铁吸在它的上面。永久磁铁带动后面的开关,闭合接点,接通电源。当烙铁头达到一定温度时,由于镍铁合金的分子热运动,它的磁导率大大降低,暂时变成非铁磁性材料(铁磁性材料失去磁性的温度叫做居里点),永久磁铁与镍铁合金间的磁作用力消失,借弹簧的作用,永久磁铁自镍铁合金弹开,断开电源,不再加热。不同成分的镍铁合金有不同的居里点,因而,可根据需要,制成不同温度的电烙铁。(李元善编译)

新型晶体管
一般半导体管罩内的空隙很大,有人利用硅胶化合物来填充空隙,并取消金属外壳,制成了直接用硅胶化合物密封的半导体管(如图)。这种晶体管的特点是重量轻,体积小。一个功率为10瓦,截止频率为150兆赫的半导体管仅重2.5克,为同类半导体管的四分之一。试验证明,这种外壳的温度性能也不错,能保证半导体管在-55℃~+200℃的温度下工作。(陆耀明编译)

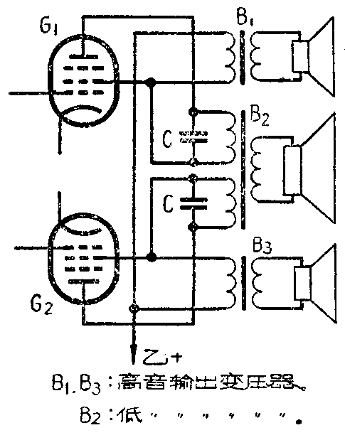
立体声放大器
这是一个立体声输出电路。低音输出变压器的两组初级线圈分别接在两个输出管的屏极和帘栅极之间。在这些线圈上并连有电容器C,其阻抗随频率而变。
这种电路连接,对高音频来讲,是两个独立的三极管单管放大器;而对低音频来讲,是一个五极管推挽放大器。因而,这种连接的优点是,能保证低音频有足够的输出电平,因在高音频段,五极管用作三极管,输出畸变也较小。(张元发编译)

石英晶体温度计
石英晶体对温度颇为敏感。温度改变时,石英晶体的谐振频率也跟着改变。最近利用这一效应制出了高灵敏度的石英晶体温度计。如对石英晶体进行某种特殊的精密切割,就能使晶体的谐振频率与温度成线性关系。环境温度每变化1℃时,频率将改变1000赫。利用这种关系,温度测量可以准确到0.001℃到0.0001℃。而目前其它最灵敏的温度计,其准确度只能达到0.01℃。(陆耀明编译)
热磁装置
铁氧体和其它铁磁性材料一样,它的磁导率也随温度变化。当温度上升时,其磁导率下降。利用这一特性,可做一铁氧体圆环,在环内放置一个可以绕枢轴回转的磁铁棒。当圆环上各部分的温度都一样时,各部分的磁导率也都一样,磁棒无论停在那里,磁路的磁阻都一样,所以磁棒能停留在任一位置上。当有热量落到圆环上时,靠近热源一边的温度高,磁导率低,背向热源一边的温度低,磁导率高,磁棒就要转向一个使磁阻最小的位置停留,这个位置就是磁棒方向和热源方向垂直的位置。

这种热磁装置的指热性,可以用来做太阳跟踪设备的控制元件,或用来自动启闭百叶窗。(唐伟良编译)
利用微波电力驱动的模型直升飞机
国外有一家研究所最近试制了一架利用地面发出的微波电力来驱动的模型直升飞机,它可以漂游在距地面约50尺的空中。

这架模型直升飞机有一个由电动机转动的6尺长的机翼,机翼下面装有一具形似玻璃毯子的整流天线,它是由数千个半导体二极管组成的,用来接收和整流地面发送的微波电力。接收下来的微波电力经整流后,驱动一直流电动机,维持飞机漂浮。
现在所用的地面微波输出功率是5千瓦,将来如能提高到100倍,就能使飞机上升到5万尺,那么就可以利用它来探测高空气象或作无线电中继通信。(唐伟良等编译)