半导体单管机采用来复再生式电路已经能够获得令人满意的音量,如果在原有的基础上稍加改进,音量还可以加大,这里介绍一种全波检波式电路,可以得到更好的效果。
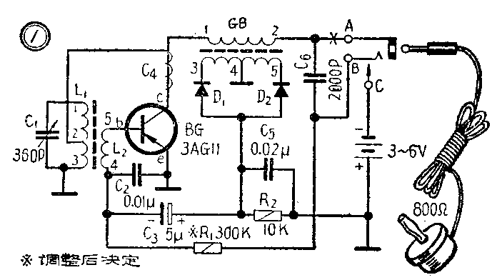
图1是一个全波检波的电路。经过放大后的高频电流通过绞线电容器C\(_{4}\)回输产生再生,同时在高频变压器GB上使它的次级圈感应出高频电压, G\(_{B}\)的次级圈是有中心抽头的,信号的正半周和负半周轮流经过二极管D1和D\(_{2}\)检波,检波后的脉动直流电流都以同方向流过检波负载R2,在它上面产生音频电压降,再经过C\(_{3}\)加到半导体管BG的基极回路内作音频放大。检波后残余的高频成分被C\(_{5}\)所旁路,不让它回到基极回路而引起有害的自激振荡,一般来复式电路常常由于这种原因而使它的效率受到限制,而在这种电路里,可以使上述影响大为减轻,容易调整得好。另外,这种电路采用的高频变压器是升压的,检波后的音频电压也有所提高。

高频变压器要自己制作。较为简便的方法是用带磁心的高频阻流圈改制,将它原来的线圈作为初级(1—2),在两边各套上一对硬纸板做的圆板,每边各绕上一半次级线圈,每边的圈数约为初级线圈的1.2~1.5倍,绕多了虽然检波电压可以高一些,但是会影响稳定度。以市售上海天桥牌的2.5毫亨高频阻流圈为例,次级线圈每边可用线径约0.1毫米的漆包线或单丝漆包线各绕350圈(≈1.2倍),两线圈串连起来,它的外形见图2,各线圈同一方向绕制。

装配时零件的排列和实体接线参考图3。绞线电容器C\(_{4}\)是用一根线径约0.2毫米的漆包线绕在集电极至高频阻流圈的接线外面,约十来圈,以后还要调整。带电源开关的插口的改装方法可参看本刊今年第6期第20页。半导体管和零件的选用以及调整方法和一般的半导体单管机相同。调整时,用一个470千欧的电位器串连一个100千欧的保护电阻代替R1,在图上有×处串入0~5毫安的直流电流表,将电位器从阻值最大处开始逐渐调小到使电表指示为0.8~1毫安左右为止,然后换入阻值相同的电阻作R\(_{1}\);其后是分别接收中波段高端和低端的电台加以比较,调整C4的圈数使高端和低端的电台音量都能兼顾而又没有再生叫声,调试低端电台时,可靠改变高频变压器的放置角度来帮助改善。这个收音机再生过度时不会发出尖叫,只有低频的汽船声或“卜卜”的断续振荡声,这时要减少C\(_{4}\)的圈数,有时将GB的1-2两个接头对调也能解决;如果音量很小或是没有再生时,除了增加C\(_{4}\)的圈数外,还要检查L2的线端有没有接反。当再生适当时,音量大而声音清晰。最后试听一下调谐电路是否能够接收整个所需要的频率范围,否别需要将磁棒上的线圈位置加以变动调整。

这个收音机在电台周围二、三十里内的一般收音环境里,可以不用天、地线收音,远地则要加一根普通天线串连一个约50微微法的电容器后接到C\(_{1}\)的定片接线端。它的音量是相当大的,电源用3伏己很响亮,用到4.5~6伏时声音就有点震耳朵,在近电台处用到9伏,可以用高灵敏度的舌簧扬声器放出清晰的声音。但要注意,当换用不同电压的电池组或是阻抗不同的耳机(或扬声器)时,R1的阻值应重新调整。(冯报本)