扩音机的扬声器配接不当,不但会使声音失真,达不到额定输出功率,严重的还会损坏电子管、输出变压器及扬声器等。本文将从几个不正确连接的例子来说明扬声器的正确配接法,并附带说一说导线和线间变压器的用法,供读者参考。
常见的几种不正确接法
例1 在40瓦扩音机的“0”和“8”欧接线柱上,接一只8欧10瓦扬声器,如图1。

这样接法,阻抗是配合了,但扬声器的功率低于扩音机输出功率。有些同志会以为我们接上的扬声器是多少瓦,得到的也将是多少瓦的电力,就像电灯上接用的灯泡一样。这样想法是错误的,这只扬声器得到的不是10瓦而是40瓦的电力,我们来看一看“0”和“8”欧两接线柱之间的输出电压就可知道。输出电压是根据下列公式(1)算出:
E=\(\sqrt{P×Z}\)………………(1)
式中E是输出电压值,P是扩音机的功率输出,Z是扩音机输出阻抗。在这里输出电压E=\(\sqrt{4}\)0×8=18伏。可是8欧10瓦扬声器需要的电压只是9伏,因此过荷了,扬声器很易损坏。
假如我们确实只有一只10瓦扬声器或只须配接一只10瓦扬声器,这时如要和40瓦扩音机配接的话,就须连接上假负载电阻,来凑足瓦数,使阻抗和瓦数都能配合,正确接法如图2。

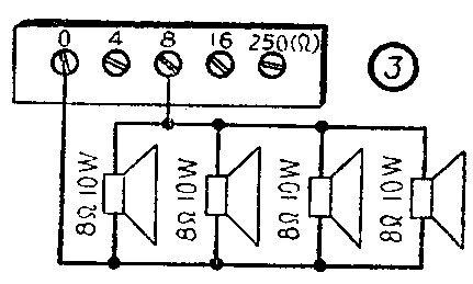
例2 在40瓦扩音机的“0”和“8”欧两接线柱上,并联接上4只8欧10瓦的扬声器,如图3。这种接法阻抗不匹配。有些同志会曲解为只要欧姆数相同,都可并接在注有这一欧姆数的接线柱上。这样联接后,几只扬声器并联,它们的总阻抗便不是8欧,而是8欧的四分之一,是2欧,阻抗就不匹配了,容易损坏电子管和扬声器。正确接法应如图4,先把扬声器每两只串联一起,然后再并联起来,总阻抗仍为8欧。


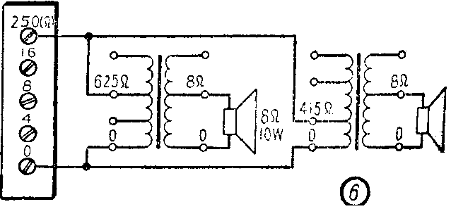
例3 在25瓦扩音机的“0”和“16”欧接线柱上,串联两只扬声器,一只是8欧10瓦的,一只是8欧15瓦的,如图5。

这种接法看来阻抗已配合了,扬声器功率也足够。但实际情况不是这样的,我们知道在串联电路里各点电流强度相同,也就是说8欧10瓦和8欧15瓦扬声器通过的电流同值,两扬声器的阻抗又同是8欧,因此,两扬声器所得到的电力相同,都是扩音机输出电力的一半,即12.5瓦。这样8欧10瓦的扬声器就要过荷了。
扩音机配接具有不同功率和阻抗的扬声器,在一般情况下都须配用线间变压器。线间变压器的初级阻抗可根据公式(2)算出。
Z\(_{1}\)=\(\frac{P}{P}\)1×Z……………(2)
式中Z\(_{1}\)为线间变压器初级阻抗,P1为扬声器功率,P为扩音机的输出功率,Z为扩音机输出阻抗。
接8欧10瓦扬声器的线间变压器的初级阻抗应为\(\frac{25}{10}\)×250=625欧,接8欧15瓦扬声器的线间变压器的初级阻抗应为25;15×250=415欧。接法如图6。

如果线间变压器没有这一抽头,可接在相近的抽头上,以接在阻抗较大的相近抽头较为合适。
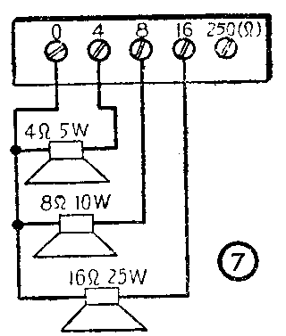
例4 在40瓦扩音机上,分别接上16欧25瓦,8欧10瓦,4欧5瓦扬声器,如图7。

乍看起来,似乎阻抗已匹配,功率也足够;但进一步分析一下就知道完全不对了。假定输出变压器的初级阻抗设计为6000欧,如果在次级“0”和“4”欧的接线柱上接上阻抗4欧的扬声器,这时输出变压器的初级阻抗 刚好是6000欧;如果再在“0”和“8”欧的抽头上连接上阻抗8欧的扬声器,这时输出变压器的初级阻抗便不是6000欧,而是6000欧的二分之一3000欧;如果又在“0”和“16”欧的接线柱上接上阻抗16欧的扬声器,初级阻抗便变成2000欧;这时阻抗就完全不匹配了。从扬声器所受的电压来看,也可看出这样接法是错误的,对电子管和扬声器都有害。正确接法参考例3。
此外,有些同志常在扬声器功率不足时用电灯泡作为假负载来凑足,这样措施也不妥当。因为电灯泡是钨丝制成的,它的阻值在冷和热时能相差10倍左右,在灯泡忽暗忽亮的瞬间,输出变压器的初级阻抗变化很大,会发生失真和影响电子管寿命。所以,最好是用线绕电阻来配合,如图2。
导线和线间变压器的用法
许多同志喜欢用双根软线作为连接扬声器的导线,这样装置起来方便一些。市场上出售的双根软线有2×12/0.15毫米,2×16/0.15毫米,2×23/0.15毫米,2×41/0.15毫米,2×40/0.193毫米等许多种。这几种规格的软线的阻值约为:
规格 长度 单报阻值
(米) (欧)
2×2/0.15毫米 100 7.5
2×16/0.15毫米 100 6
2×23/0.15毫米 100 4
2×41/0.15毫米 100 2.2
2×40/0.193毫米 100 1.5
装置扬声器用哪一种规格的导线好呢?有些同志认为用2×12/0.15毫米的导线就完全可以了,因为用2×12/0.15毫米的导线来装置500瓦的电灯泡都完全没有问题,那么用它来装一只5瓦的扬声器不是绰绰有余吗?但是我们不妨计算一下,假如有一只4欧5瓦的扬声器,距离扩音机30米,用2×12/0.15毫米绞合胶质线连接,根据上表可算出导线阻值为7.5欧×0.3×2=4.5欧。可是扬声器的阻抗只有4欧,结果是大部分能量消耗在线路上了,同时总阻抗不匹配,还要引起失真。
究竟用哪种规格的导线好呢?要看具体情况而定,要求总阻抗不超过扩音机的输出阻抗10%。在一般情况下,使用线间变压器时,导线可以用得细一些;直接输送,导线要粗一些。例如有一台40瓦扩音机,并联四只8欧10瓦扬声器,扬声器装在离扩音机300米的地方,扩音机输出阻抗为250欧,用2×12/0.15毫米的绞合胶质线连接。这时线间变压器的初级阻抗应为250×4=1000欧,导线电阻共7.5欧×3×2=45欧,只占输出阻抗的4.5%,合乎要求。如果不经过线间变压器直接输出,假设扬声器距扩音机30米,这时用2×12/0.15毫米的导线就嫌太细了,须改用2×40/0.193毫米绞合胶质线。
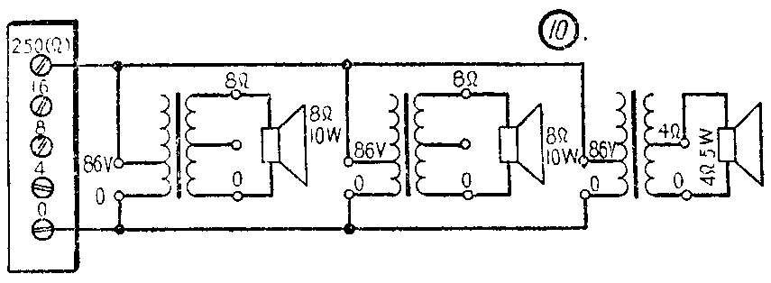
使用这种变压器时,可根据公式(1)算出扩音机输出电压和扬声器所需电压,再把导线接在线间变压器相应的抽头上。例如在一台25瓦扩音机上,装8欧10瓦扬声器两只,4欧5瓦一只,用高阻抗输送,使用温州产线间变压器,接法如图10。扩音机的输出电压为\(\sqrt{25×25}\)0=79伏,接在线间变压器相应的86伏抽头上。(陈邦柱)


