空气压缩机又称气泵,它是由电动机、压气机和贮气柜三部分构成的。使用的时候,只要接通电动机电源,电动机则带动压气机向贮气柜中送气。当贮气柜中的气压达到最大容许值时,又必须断开电动机电源,停止送气。使用一段时间后,则贮气柜中的气压就降到最低工作值,这时再接通电动机电源,继续送气。在工厂中需长时间连续使用时,工作人员必须随时注意气压的大小,而接通和断开电动机电源。我们制作了一台空气压缩机的自动控制设备,它能在某一规定的最大最小气压数值时,接通或断开电动机电源。该机结构简单,连续使用效果很好,现介绍出来供大家参考。
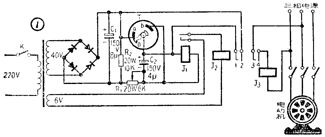
全机电路见图1。T为带有滑动接点的气压表。J\(_{1}\)为高灵敏继电器,直流电阻为3千欧,动作电流为5毫安,接点容许最大电流为1安。J2为交流6伏中间继电器。J\(_{3}\)为电机的电磁开关。当接通电源开关K时,变压器次级高压经整流、滤波后得出约45伏的直流电,此直流电经限流电阻R1 及继电器J\(_{1}\)构成回路。C2的作用是防止J\(_{1}\)抖动,其容量不大。 调整R1使J\(_{1}\)动作,要求动作电流不超过5毫安,否则可以调整继电器弹簧的松紧及磁铁与衔片的距离。J1吸动后J\(_{2}\)、J3也相继吸动,电机运转,贮气柜中气压开始上升,气压表指针也向上移动。由于这时J\(_{2}\)的一组接点1、2已串接在J1的回路里,所以当气压表的指针超过滑动接触点a点后,J\(_{1}\)仍保持通电,电机继续运转。指针移动至b点时,J1的两端被短路,因此J\(_{1}\)释放,这时J2、J\(_{3}\)也相继释放,电机停止运行。这时指针与滑动接触点b点通过的电流约在8毫安左右。电机停止后,气压表指针开始逐渐下降,待降至a点时,J1又接通电源而吸动,J\(_{2}\)、J3也跟着吸动,电机运转。如此周而复始便能达到自动控制气压的目的。其中a点为最低工作气压值,b点为最高工作气压值。注意b点定的不要太高,可作为安全阀使用。带滑动接触点的气压表没有成品出售,但是用普通气压表加装接触点相当简单。由于通过接触点的电流仅为5~8毫安,因此可直接利用气压表指针与普通钢片接触即可。先把一块2~3毫米厚的有机玻璃,按气压表上刻度线的弧度与长度切割成一条圆弧形,宽约10毫米。然后用0.5毫米厚的紫铜皮剪两小段圆弧,曲度同有机玻璃,一段(0~a点)可以长一些.另一段(b段)可短一些,可在两厘米左右。将两块铜皮焊上导线后,用烙铁加热烫入有机玻璃内,其位置根据需要与刻度对应。注意铜片烫入后要与有机玻璃上端面成一平面,铜片边缘被烫出的有机玻璃先用刀片细心修平,然后再用布轮抛光一下,最后用两个螺丝将其固定在气压表表盘上。将指针稍向下弯曲,使与铜片保持一定的压力,以便得到良好的接触。因通过指针电流小,压力也不大,指针移动缓慢,所以经长时间使用,接点也未因产生电火花而氧化,磨损也极轻微。整个气压表接点装配可参考图2。


选择元件时,应考虑到使用环境一般较恶劣,连续工作时间长,所以各零件应尽量选用质量较好的,如电容用铝壳的,电阻选用瓦数较高的。电源变压器铁心截面积及所用漆包线线径,也都要设计得富裕些,如用三灯收音机电源变压器改绕就很合适。次级高压可用直径为0.15毫米的漆包线,次极低压可用1毫米的漆包线。整流器采用24×24毫米\(^{2}\)的硒片,共8片接成桥式。当然,也可只用半导体二极管或小功率整流电子管代用。(郝沽生)