超短波电疗法亦叫超高频电场疗法,它是把30~300兆赫的超高频电场作用于患部,导致组织发热而起到治疗作用。它的主要优点是:热的作用深透,可使内脏发生明显的充血反应和温升;有选择性,对不同的组织,其加热程度不同;热的作用持久。因而,近年来这种电疗法已被广泛采用。
常用的超短波电疗机有两种,一种是大型的,输出功率为200~350瓦,另一种是小型的,输出功率为40~50瓦。这里介绍的,是一部自制设备,输出功率达125瓦,能满足一般治疗需要。
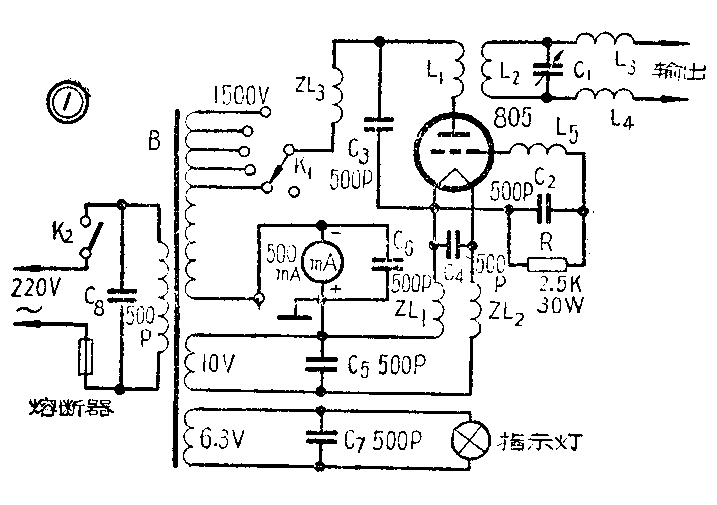
电路说明 这部电疗机的工作频率为37.5兆赫,波长8米。电路如图1所示,由电源、振荡和输出三部分组成。

电源部分由电源变压器B,输出调节开关K\(_{1}\),电源开关K2,高频阻流圈ZL\(_{1}\)、ZL2,高频旁路电容器C\(_{4}\)~C8,以及毫安表等组成。变压器屏极绕组有5个抽头,由K\(_{1}\)控制,调节屏压1100伏至1500伏。毫安表串接在电子管屏极电路中,用来指示振荡屏流。C6,C\(_{7}\),C8用来防止高频电能轻电源线发射,干扰其它电器设备,并使毫安表和指示灯免受高频影响。在振荡管灯丝电路中.还装有由ZL\(_{1}\),ZL2,C\(_{4}\)和C5组成的阻波器,阻止高频电流进入变压器使绕组发热。
电疗机所用振荡电路是一自激式超高频振荡电路,由电子管805、振荡线圈L\(_{1}\)、回授线圈L5、栅漏电阻R、高频阻流图ZL\(_{3}\)、旁路电容器C3等组成。电源变压器直接供给电子管屏极以光流电压,利用电子管本身的整流特性完成整流工作,而取得所需要的直流电压。图1的振荡部分可改画成图2。振荡槽路是由L\(_{1}\)与L1本身的固有电容C组成的。利用L\(_{5}\)与L1的互感进行自激振荡。R为栅漏电阻,用以产生自给偏压。C\(_{2}\)为栅极旁路电容器,使R上的偏压下滑。ZL3用以阻止高频电流流过变压器绕组。C\(_{3}\)构成高频电流通路。

输出部分由输出线圈L\(_{2}\)、L3、L\(_{4}\)及调谐电容器C1组成。靠L\(_{2}\)和L1的互感交连,把高频电能传给输出回路。当电疗机接到大小不同的电极和人体的不同部位时,输出电路的电容会发生变化,所以每次使用,都必须调整C\(_{1}\), 使输出回路与振荡回路匹配,以获得最大的能量输出。
元件说明 变压器为E形铁心,其截面为25厘米\(^{2}\)。初级用19号漆包线线396匝,灯丝绕组用14号双纱包线绕20匝,电源指示灯绕组用30号漆包线绕12匝,高压绕组用30号漆包线绕2700匝,并分别在1980、2160、2340、2520匝等处抽头。
C\(_{1}\)为可变空气电容器,最大容量为50pF左右。这只电容器的容量,可按试验凑配,能使输出回路调谐即可。
C\(_{2}\)直流耐压2500伏的陶瓷电容器。
C\(_{3}\)直流耐压7500伏的云母电容器。
C\(_{4}\)-C8直流耐压500伏的云母电容器。
治疗电极 可以配用国产D516式短波电疗机及55-2式超短波电疗机的各式电容电极。也可以自制,其方法如下:
1.用铜网或铜片剪成需要的尺寸,四角呈圆形,以避免电场的尖端作用。
2. 铜网与长1米的多股绝缘导线焊接。
3.铜网两面用1毫米厚的云母片和5毫米厚的有孔毡垫包起来,用丝线缝合固定,然后装入漆布套或布套即成。
元件布局 电疗机的工作频率很高,引线的自感量和电路的分布电容量不可忽视,因此,在装制前,对各零件的布局,接线的长短等。均应周密考虑。防止因不必要的交连而引起寄生振荡。
电源变压器装在底板的一端,振荡部分的元件装在底板的另一端,当中装电子管。高频阻流圈及旁路电容器等装在底板的背面。这种布局的好处是:电源部分与振荡部分的距离较远,各元件间的接线最短。
为了使L\(_{1}\)与L2的交连紧密和减少线圈所占据的空间,把L\(_{2}\)套在L1里面。L\(_{3}\)是担当振荡回授的,把它放在靠近L1处。为了使高频电能的损失小和散热好,用长25厘米、宽2厘米、厚0.2厘米的铝条作电子管屏帽接线,其它各元件间的接线,也应尽量用粗而短直的。所有固定元件用的绝缘垫也要用高频损耗小的,如陶瓷质的。
输出调整 在机器输出端,接上一对300平方厘米的电极,并排放置,先不接入人体负载。接通电源,灯丝预热半分钟后,转动调节开关K\(_{1}\),把屏压加到1500伏,调整C1,使毫安表指示最大,用氖管靠近电极,如氖管发光,说明已建立振荡。毫安表的最大指示应为150毫安,非调谐时应为80毫安。如果屏流过大,可减少L\(_{5}\)的匝数或增大匝距,用减少回授的办法来降低屏流。如果屏流过小,可作上述相反的调整。此外,改变栅漏电阻的阻值,亦可改变机器的输出,R以2500欧至3000欧为宜。
附表
线圈 导线 匝数 绕 制 方 法
L1 外径5毫米铜管 2 空心线圈,线圈直径100毫米,匝距20毫米。
L2 外径5毫米铜管 3 空心线圈,线圈直径50毫米,匝距5毫米。
L3,4 直径3毫米铜线 3 空心线圈,线圈直径25毫米,匝距5毫米。
L5 直径2毫米铜线 3 空心线圈,线圈直径30毫米,匝距5毫米。
ZL1,2 直径2毫米双纱包线 55 密绕在直径35毫米的胶木管上。
ZL3 直径0.41毫米漆包线 140 密绕在直径25毫米的瓷管上。
使用方法 让病人躺在木床上,根据患部的深浅来放置电极。电极的放置方法有以下几种:人体置于两电极之间,如图3a所示,这种放置方法能使热作用于深部组织;并置法——两个电极置于人体的同一侧面,如图3b,此时热的作用比前一种浅;单极法——只用一个电极,另一电极亦须接在输出端上,但可置于离病人稍远的地方,这种放置方法的热作用最浅,主要用于治疗皮肤病。

可根据治疗的需要来调整输出,屏压越低,输出越小,屏压越高,输出越大,因而可靠K\(_{1}\)来控制输出功率。
使用这种电疗机有几件应该注意的事情:治疗部位附近不要有金属物件,皮肤和衣服不要潮湿,人体突出部位要用毛巾垫平,否则将引起烫伤。
在关机时,应先去掉高压,再断电源,否则易损坏电子管。(方景明)