扩音机的使用,目前在厂矿企业、机关学校、农村公社等各方面日益普遍。但是许多单位的机器,常会出现损坏或是放音不佳的情况,因而不能充分发挥机器的效能和作用。这些情况多数都是由于扬声器未曾配接适当所引起的。关于扩音机配接扬声器的方法,本刊已经有过介绍(见1963年第5期及1965年第1期),现在再补充谈谈这方面有关的问题。
一、功率要配接适当
各种扩音机的输出能力大小不一,一般是按它的额定输出电功率(例如50瓦、100瓦、250瓦等)来区分。扩音机加接的扬声器也有许多种,它们所能承受的电功率各有不同,有的小至1瓦,也有的大至25瓦、50瓦。接至扩音机时,接法无论是串联、并联或是串并联,其功率总和最好是和扩音机的额定输出功率相等。例如扩音机的额定输出功率为50瓦,那么它所连接的扬声器功率总和也应当是50瓦,这样扩音机的工作效率才最好。如果不能完全相配,可以让扬声器电功率的总和稍大,但是不要过小于扩音机的输出。因为过小的话,加于扬声器的电力将超过其额定值,结果会因声音太大而使扬声器音圈损坏。一般情况,作为扩音机实际负载的扬声器网,其功率总和最大不应超过扩音机额定输出的20%,最小不应低于80%。如果不符合这一要求,应当按照情况,考虑更换功率较小或较大的扬声器。扬声器总功率低于输出功率很多,就必须增接假负载,以求达到与扩音机额定输出功率相配合。
二、阻抗要配接适当
在定阻输出式的扩音机上配接扬声器,另一个必须考虑的重要问题是阻抗匹配,也就是要使扬声器音圈的阻抗能与扩音机的输出阻抗相配合。扬声器音圈的阻抗一般是很低的,只有几欧到几十欧。而扩音机放大器功率输出级电子管屏回路的负载阻抗却很高,通常在2000~20000欧之间。为使最大音频电能能够有效地输送到扬声器上而且失真度很小,在输出级与扬声器之间必须通过一只输出变压器,使数值是殊的不同阻抗得到配合,也就是将屏回路的高电压小电流,变为音圈上所需的低电压大电流。这只输出变压器每部扩音机里都有,上面有许多接头,一般标志着2、4、8、16、50、100、125、150、200、250、500欧等不同的阻值,可在不同情况下配接各种扬声器。其中100欧以上的各接头,系供扬声器装设距离较远时加接线音变压器(或称线路变压器、输送变压器、用户变压器等)之用。其余阻值较低的各接头,只要扬声器阻抗和功率都相当,可以直接和它连接应用。扬声器的阻抗与输出变压器上的接头阻值有出入时,误差上下不超过10%的,可以视为正常,不致产生不良影响,但在相同的上下差距中,应当把扬声器接到输出变压器阻抗较低的接头上,这样可使电子管获得较佳的负载,电力也能够较充分地输送出去。
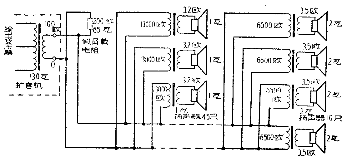
三、配接实例
有一部130瓦扩音机,在其输出变压器上的接头有100、150、200、250欧,根据需要打算连接1瓦扬声器45只和2瓦扬声器10只。扬声器距离播音室较远,线路较长,均须使用线间变压器。那么应当怎样配接才能够效率最好?
首先,我们计算出这些扬声器的总电功率为65瓦,仅为扩音机额定输出电功率130瓦的一半。如果没有增加更多扬声器或更换大功率扬声器的可能或必要,那就必须增接假负载65瓦,才能符合扩音机的130瓦额定输出。
其次,在配接之前,要查清楚这些扬声器的音圈阻抗是多少欧的。例如1瓦扬声器的音圈阻抗是3.2欧,2瓦扬声器的是3.5欧。在选用线间变压器时,1瓦扬声器使用的线间变压器次级线圈阻抗就应当是3.2欧的;2瓦扬声器变压器次级圈阻抗应当是3.5欧的。至于线间变压器的初级圈阻抗究竟是多少欧,要看扩音机输出变压器次级接头上的电压大小来考虑。现在扩音机的额定输出电功率是130瓦,我们准备把这些扬声器配接在输出变压器的100欧接头上,那么根据下列公式计算,可以得出在输出变压器100欧接头上的输出电压来:
E=\(\sqrt{PZ}\)。
式中E是输出的电压值,P是扩音机的功率输出,Z是输出阻抗。在这里E=\(\sqrt{13}\)0×100=114伏。
然后,线间变压器初级圈应有的阻抗,就可以根据下式计算:
Z=E\(^{2}\)/P。
这样,1瓦扬声器所使用的线间变压器初级圈阻抗应当是:Z\(_{1}\)=E\(^{2}\)/P1=114×114÷1≈13000欧。2瓦扬声器所使用的线间变压器初级圈阻抗应当是Z\(_{2}\)=E2/P2=114×114÷2≈6500欧。按照这样计算,1瓦扬声器的线间变压器可以使用初、次级阻抗比大约是13000:3.2欧的,2瓦扬声器应当是6500:3.5欧的。
我们把这些扬声器线间变压器的次级圈分别都与每只扬声器的音圈接连好,再把它们的初级圈都并联在一个电路内,总的阻抗是多少欧呢?可以根据并联阻抗的公式加以计算。
1瓦扬声器所使用的45只线间变压器初级圈阻抗并联在一起的总阻抗是Z\(_{1}\)=13000÷45=289欧。2瓦扬声器所使用的10只线间变压器初级圈阻抗并联在一起的总阻抗是Z2=6500÷10=650欧。那么这些变压器初级圈并联在一个电路里的总阻抗应当是
Z=\(\frac{Z}{_{1}}\)×Z2Z\(_{1}\)+Z2=289×650;289+650=\(\frac{187850}{939}\)=200欧。
但是我们要连接到输出变压器接头上的阻抗是100欧。为使线间变压器初级圈的总阻抗与输出变压器接头上的阻抗相配合,可以从连接的假负载电阻考虑使整个扬声器网路的负载总阻抗也等于100欧。因此假负载电阻选用阻值为200欧、功率为65瓦的并联在线间变压器初级圈的电路内,这样一方面总功率就等于扩音机的额定输出功率130瓦,同时总负载阻抗也等于输出变压器接头上的阻抗100欧了。电路配接情况如附图。(本刊根据来稿编写)
