在业余条件下装置和修理收音机时,手头现有的电子管型号可能和电路所规定的不一样。如果我们对各级电路所用电子管的要求都很清楚,就可能利用现有的管子来代换或作变通使用。本文将谈谈收音机各部分所用电子管的基本要求及其代换或变通使用的方法。
高放和中放级
在高频和中频放大器中,我们要选用跨导高的电子管,这样可以获得较高的增益,并且还可以相对地压低电子管内部的噪声。另一方面,由于高放管或中放管输出端和输入端有着谐振频率相同的调谐回路,如果电子管的屏极和栅极之间的极间电容较大,输出端的能量就易通过极间电容反馈到输入端,到了一定程度,放大器就自激而不能工作,放大器增益愈高,则愈易自激。因此,要求屏、栅极间电容愈小愈好,否则单靠跨导高是没有用处的。
高放管和中放管的内阻是并联在谐振回路上的,如果内阻很小,就会使回路的Q值大大降低,选择性变得很差。必须要使电子管的内阻比回路的谐振阻抗大得多才好。
此外,高放管和中放管一般加有自动增益控制,栅偏压需要有很大范围的变化,为了在偏压很负时不至于使屏流截止而产生严重失真,还要求管子具有遥截止的特性,使偏压很负时仍有小量屏流而能不失真地工作。
总起来说,作为高放和中放用的电子管,需要跨导高、屏栅电容小、内阻大和具有遥截止的特性。这类电子管有专用的高频五极管,目前国产收音机中常用的是交流小型管6K4、八脚管6K3P和电池小型管1K2等。若手头没有这类型号的电子管,则可按上述性能的要求,找一些同类型的电子管来代换或变通使用,方法如下:
1.同类型管的换用:
表1列出和国产管相当的一些主要外国管,同一条横格内的各个型号的电子管表示性能近似及管脚接法相同,可以直接换用。但其中6K4(包括以前国产旧型号的6K4П)的阴极、抑制栅极和隔离都在管内连接在一起,从第2和第7脚引出,而苏联管6K4П以及其他同类外国管,则阴极单独从第7脚引出,抑制栅和隔离连接在一起从第2脚引出,当用外国管去代换6K4时,须将管座的第2脚单独接地。若用6K4去代换外国管时,如果原电路阴极接地,可直接插换管子,如果原电路阴极有电阻,则应将原管座的第2脚接地线断开。

电池式小型管中第一行横格内的管子如1K2,1K2П等都是较新式的省电管,第二行的管子如1K1П等则是较老式的管子,灯丝电流较省电管大一倍,这两类管子性能上仍相似,且管脚接法都一样,可以互相直接换用。
表中各电子管如果性能相似而管座类型不同的,例如小型管6K4和八脚管6K3P等,只要更换管座,也可以互相代换。
八脚管中还有金属壳管和玻璃壳管(G和GT管)之分,金属管的第1脚是接金属管壳,玻璃管的第1脚是空脚或内部隔离,在代换时需要注意第1脚的接地问题。
2.用变频管作高放和中放管:
变频管的跨导、屏栅电容和内阻也具有高放和中放所需要的性能,并且一般也是遥截止式,它的电极虽很多,但可以接成五极管使用,例如将6A2或6U1的七极部分第3栅与阴极相接,第1栅仍作信号栅,第2、4栅仍为帘栅,第5栅仍为抑制栅,就成为性能与6K4相似的五极管了。其他变频管也可作类似的变通使用。
3. 用锐截止式五极管代用:
锐截止式五极管中选用跨导高、屏栅电容小和内阻大的管子也可作高放和中放管,只是不能加自动增益控制偏压,否则当输入较强信号时偏压过大就会产生很大失真。比较适用的这类管子有小型管6J4和八脚管6J8P及其相当的外国管等,参看表1。另外一些作宽频带放大用的锐截止五极管如6J1~6J3和6J5等因屏栅电容较大(大于0.02微微法,而6K4小于0.0035微微法),作高放或中放管时,不易获得较高的稳定的增益,但在要求不高的情况下也可使用。在电池式收音机中,因信号较小,有不少外国收音机采用锐截止式的五极管如1AJ4、DF96等作高放和中放管,并适当加入自动增益控制偏压。
交流的高放管和中放管的屏极电压一般在200伏左右;帘栅极电压在100伏左右。因通常加有自动增益控制偏压,阴极可以直接接地,不过为了工作稳定起见,大都在阴极接有100~300欧的电阻,约有1伏左右的固定偏压。更换电子管以后,各极电压可能有些变化,但只要不发生自激,电路元件可以不必改变,仍能正常工作,只是增益大小有些变化。此外,跨导不同的电子管互换后,增益大小也会有些变化,如果加有自动增益控制偏压,上述增益的变化就能得到补偿,在收听一般电台时灵敏度变化不大。如果增益过高或使用了屏栅电容较大的管子以后产生自激时,可以适当增大阴极电阻,以加大固定负偏压,或适当加大帘栅电阻以降低帘栅电压,直至增益降低到消除自激为止。屏栅电容对稳定性的作用较大,交流的高频五极管屏栅电容最好选用小于0.005微微法的,电池管小于0.1微微法的。高频五极管的内阻一般较大,约在1兆欧的数量级,更换管子后,内阻虽有不同,但对选择性的影响不大。
在调幅收音机中,用三极管作高放或中放管是不适宜的。因为三极管的屏栅电容比起高频五极管大100倍以上,很易自激,增益不能提高。另外,三极管的内阻不到高频五极管的十分之一,如果配用一般售品线圈,将使Q值低落,失去选择性。
但在调频收音机中,将三极管接成栅地阴地电路等方法作为高放时却可获得很好的性能,这里就不多谈了。
变频级
变频级电子管的基本要求与上述高放管和中放管相同。不过变频管输出端连接中频调谐回路,而输入端连接高频调谐回路,两个回路的谐振频率不同,故由屏栅电容反馈而自激的可能性比高放级和中放级要小。变频管的代换和变通使用的方法如下:
1.同类型管的代换:
表2列出和国产管相当的一些主要外国管型。换用方法和前面高放和中放级的一样,其中6A7P一行中6A7P和6SA7GT的抑制栅已在内部与阴极相连,第1脚是空脚,而苏式6A7、6A10C和美式金属管6SA7的抑制栅则单独从第1脚引出。它们互相换用时需要注意。

2. 6A2和6U1系列的互换:
6A2和6A7P等是采用三点式有抽头的振荡线圈(或称S式线圈);而6U1、6K8等则是采用回输式(或称K式)振荡线圈,见图1。当这两系列的管子互换时,原则上振荡线圈应该更换,但在对性能要求不高的情况下,为了利用现有线圈,也可作变通使用,有以下几种方案:

(i)6U1的七极部分和6A2很相似,可以采用三点式线圈,这时可将七极部分接成6A2的电路,见图1a。6U1的三极部分空出来可作低放等之用。这种接法的性能同6A2作变频时相似,而比6U1按图1(b)正规的电路接法要差。因为6A2没有单独的振荡屏极和栅极,为了有较高的振荡跨导以得到稳定的振荡,必须用第1栅作振荡栅,于是信号只好从第3栅输入。第3栅离阴极较远,控制作用比第1栅要差,所以变频跨导比较低。此外,采用了三点式线圈以后,阴极对地之间有一段线圈的感抗,若信号栅和阴极之间的极间电容(包括两极之间外部的布线电容)较大的话,输入信号易通过这个极间电容在阴极线圈上降落一部分电压而进入本振回路,当输入信号较强时就会牵制本振回路的振荡频率,而本振信号也易窜入输入电路,使输入电路的谐振阻抗减小,降低收音机的灵敏度和选择性,同时也增加本振信号向外的辐射,干扰别处。同时,当频率较高时,在阴极阻抗上引起的负反馈分量也会降低变频器的增益。此外,如果灯丝对阴极有漏电,在阴极线圈上降落有电源频率的电压,或者阴极线圈直接从其他方面感应了电源频率的电压,于是,就加到了栅极,使信号受到它的调制,就会产生调制交流声。而6U1是结构比6A2先进的变频管,6U1有单独作振荡的三极部分,可以用七极部分的第1栅作信号栅,第1栅对阴极电流的控制作用最灵敏,故可获得较高的变频跨导,从而也可相对地压低管内噪声,提高信杂比。此外,6U1的七极部分和三极部分有云母片隔离,再加上采用回输式的线圈,阴极可以接地(如果有阴极偏压电阻时也可用大电容旁路通地)。这样一来,像上述6A2因阴极线圈的阻抗所引起的一些毛病就可免除。如果用七极部分接成6A2电路,上述优点则不能存在。
(ii)6U1采用三点式振荡线圈的另一种接法如图2。这时将三极部分接成三点式振荡器。这样接法可以用七极部分的第1栅作信号栅,以提高变频增益,但由于第1栅和阴极之间的电容较大,比起6A2接法时第3栅和阴极之间的电容要大得多(第3栅因有2、4栅的隔离),所以输入信号和本振信号的相互影响较大,在频率较高时工作不甚稳定。

(iii)6A2采用回输式振荡线圈时,一般接成调栅式,如图3。这时阴极可以是地电位,较有好处。但第2、4栅本来作第1栅和第3栅的隔离,应该是地电位,在接成三点式振荡时,第2、4栅可以接一只大电容通地(对交流是地电位),能满足这个要求,而接成回输式振荡后,第2、4栅就不能接旁路电容器到地,所以对第1栅和第3栅之间的隔离作用较差,而且在第2、4栅上直接加有振荡电压,使输入信号和本振信号之间会引起上述有害的牵制作用。不过接成调栅式振荡时,第2、4栅通过回输圈通地,回输圈圈数较少,阻抗较低,问题还不太严重。如果接成调屏式振荡,则第2、4栅对地阻抗较高,并且所加的振荡电压也较大,情况就更坏一些。

3.用其它电子管作变频:
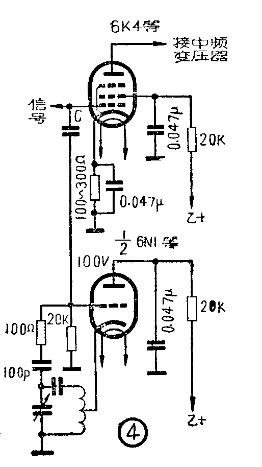
没有专用的变频管时,也可以采用其他电子管来作变频。如果只工作于中波波段,可以采用表1所列的那些适合于作高放或中放的高频五极管来作自差式变频,但不能配用一般的售品振荡线圈。这类电路可参看本刊以前介绍的方法(1963年第10期和1964年第5期)。如果要工作在中波和短波,则最好将本振用单独的三极管来担任,而用高频五极管作混频,如图4。作振荡的三极管可以用各种型号,但选用跨导高的中μ三极管较好,振荡较为稳定。也可以用各种五极管接成中μ三极管来应用,这时只要将帘栅极和抑制栅极与屏极相连 (有些管子抑制栅已与阴极内部连接的则不可与屏极相连,只单独将帘栅与屏级相连)即可。本振与混频管的耦合要尽量弱一些,以减少输入电路和本振电路之间的互相影响,一般用几个微微法的电容C将本振电压加到混频管的栅极,这种小电容实际上可用两根塑料导线相绞3~5圈即成。

用三极管也可作变频管,最好选用跨导较高的高频双三极管如6N3等,并将屏极输出引线经过电容分压接入一般售品中频变压器的初级,见图5。C\(_{2}\)比C1大2.5~4倍。这样三极管的低内阻只接入谐振回路的一小部分,对选择性的影响就小了。C\(_{1}\)和C2串联起来的总电容量仍应等于原来中频变压器所接的一只电容器的容量。再经过一些电路上的适当处理,也可以得到较好的灵敏度和选择性,也能配用一般售品线圈。这类电路可参看本刊今年第5期有关文章的介绍。

在变频器的电子管代用或交通使用中,有时因振荡管的跨导有高低,振荡线圈的耦合度不一定彼此适合,而发生振荡过强或过弱。过强的现象是同一个电台可以在刻度盘的好几个地方收听到,或发生叫啸和其他怪声。过弱的现象是波段的低端频率处停振或全部停振,或灵敏度低落,必要时应将振荡线圈的耦合圈或抽头点调整一下,也可以改变一下振荡屏压。此外,不同类型的管子代换后,因极间电容的变化可能较大,最好重新统调跟踪。(素华)