这里介绍的简易多用电表,实际是一只专供测试半导体管收音机和器件用的万能表,是把半导体管测验器和万能表的作用结合起来构成的。它可以测量直流电流、直流电压、直流电阻,还可测量半导体二极管和PNP型三极管的质量,是业余爱好者装配和检修半导体收音机的方便工具。
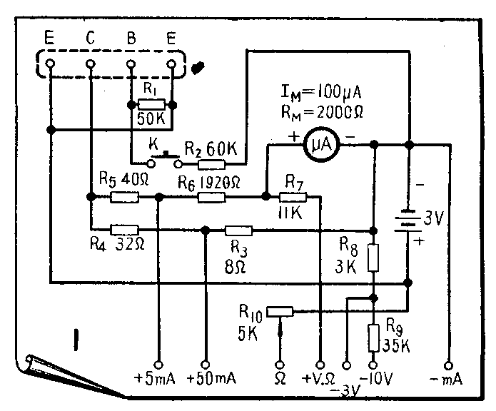
电表的全部电路如图1,它使用一只满刻度电流100微安、内阻为2000欧的磁电式微安表头,配上一个固定闭合环路分流器,因此可以省去转换开关,简化线路。环路中实际电流范围最低为0~200微安(直接跨在表头两端),最高为50毫安(跨在电阻R\(_{3}\)两端)。当作为电压表时,就利用电流表的最大灵敏度200微安。作为欧姆表时也是利用这一灵敏度。为了不影响其他测量刻度,测量电阻时的零欧调节采用串联方式。

(1)测量电流 量程分别为直流0~5毫安及0~50毫安,适合校配半导体管的工作点,以及测量收音机耗电情况,此时电路如图2。

(2)测量电压 量程分别为直流0~3伏及0~10伏,灵敏度为每伏5000欧,足够测量一般半导体机的电源电压和回路电压。此时电路如图3。
(3)测量电阻 电路如图4,可以测量二极管的正、反向电阻,并作为通表使用,表面刻度的中心阻值为15千欧,测试一般电阻可以准确地测量从500欧到500千欧。
(4)测量半导体三极管直流放大系数β-电路如图5。电表满刻度为10毫安,可测得的最大β-值为200。测量方法如下:
1.先求出半导体管基极馈电电流I\(_{B}\)。在这里
I\(_{B}\)=\(\frac{U}{R}\)2。
U为电池电压3伏,R\(_{2}\)为60千欧,所以IB≈50微安。
2.将三极管接入插座,当掀钮开关K为开路时,电表指示值为该管的集电极—发射极反向穿透电流I\(_{CEO}\),此值一般不宜大于0.2毫安。
3.闭合开关K,电表指示值为集电极电流I\(_{c}\),于是按照下式算出β-的值:
β-=\(\frac{I}{_{C}}\)IB。
例如电表指示为4毫安,则β-=4000÷50=80。这样测得的β-,比共发射极交流短路放大系数β略低10~20%。
本表实际制作中采用一只廉价处理的3寸表头,其动圈内阻为2000欧,配用固定环路分流器后,表头满刻度值为200微安,环路分流器各阻值即依此为根据计算。大多数100微安表头的内阻都小于2000欧,读者仿制时,如所用表头内阻低于此值,可以在表头一端串联上一只适当的电阻,以补足到达2000欧,则图1电路中所示各电阻阻值都可不必改动。如果表头内阻不详,须先测定。如果表头内阻超过上值,则R\(_{3}\)至R9各阻值须重新计算(测定表头内阻和计算电阻方法参见本年第2期“自制万用电表实验”)。半导体管插座采用电子管小七脚管座,使用其中的1、3、5、7四个脚,使分别为E、B、C、E,这样便于在测试时插接管脚位置不同的低频管和高频管。电表内各电阻都可以用 1/2或1/4瓦小型碳膜电阻。小阻值如8欧的(R\(_{3}\))可用两只15欧的并联起来使用。阻值偏小的话,可用刮薄碳层的方法加以调整。
表头表盘原为100微安分度,电流、电压刻度可以利用,不必另绘。并于电阻刻度,这只表的中心值是15千欧,就是在表盘50微安的刻度相当于电阻15千欧的位置。表盘上的其他欧姆刻度可按下式算出:
I=\(\frac{15000}{15000+R}\)×100
I是表盘上原来的微安刻度,R是应画的欧姆刻度。由于表盘很小,电阻刻度不宜画得太多,不必分得太细。
这只电表的制作很简单,实际是焊接在一块胶木面板上(图6)装在小木盒里。如果所用电阻都已经过测量准确的话,制成的电表误差是很小的。(鹏宛)
