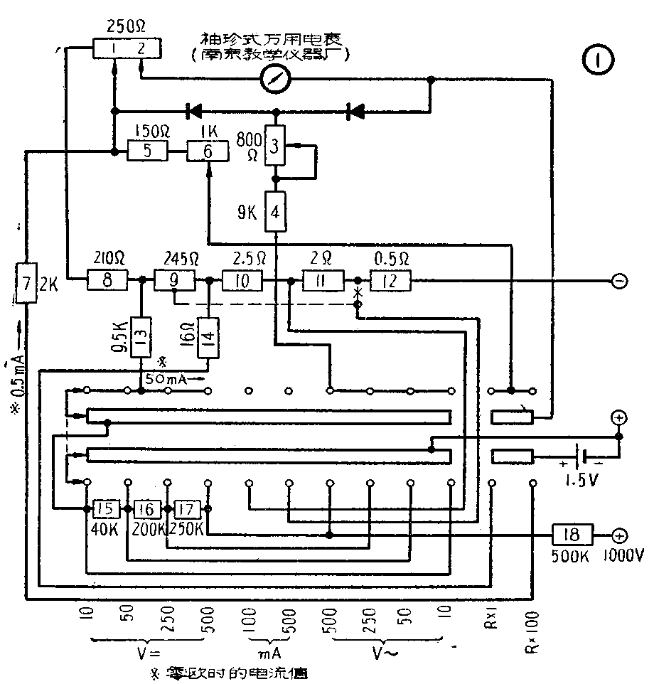
袖珍式万用电表(南京教学仪器厂产品)测量直流电流只有100毫安和500毫安两个测量档,不能满足对半导体管工作点电流等小电流测量的需要。这里介绍两项改装方法,可以使它能够准确地测量10毫安以下的小电流。电表的电路见图1,各电阻为实测值,电阻在表内的实际位置如图2。


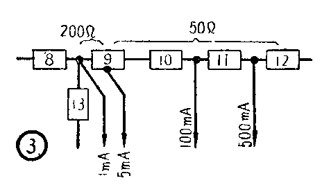
(一)500毫安档改成为5毫安档 先将500毫安档的引线(图1中电阻11与12相接处引至转换开关的接线)焊下来,然后改焊到电阻9的一个抽头上即可(如图1中虚线所示)。电阻9的抽头可以这样确定:原来电阻9+10+11+12是1毫安档的分流器,总电阻值为250欧左右(这个数值可能各个表不完全一样,最好经过实测,这是笔者所用电表实测值,以下计算亦以它为根据)。由于这种抽头式分流器各段阻值分配是按量程扩展的倍数成反比例关系减小的,所以5毫安档的分流器(包括电阻10、11及12)应为总阻值的1/5,即50欧。那么电阻9的左边阻值应为250-50=200欧(图3)。改好后应当与其他电流表校对一下,当电流偏大时,要将抽头往右移动;反之,则往左移动。比照同一方法,也可以把这一档改成为10毫安档。

(二)外加分流器 将电阻11与12之间的500毫安档引线焊下来,如图3改焊在电阻8与9之间,这样就将500毫安档改成为1毫安档,可以测量1毫安以内的电流了。这种万用表原说明书中有直流10伏电压档可以用作1毫安电流档使用的办法(参见1964年第6期18页图5乙),但是直流10伏电压档里还串联有一只倍增器电阻R\(_{13}\),因此这一档的内阻很大,只适合于测量高电压大电阻电路中的1毫安电流,所以对于低电压低电阻的半导体管电路,必须改按上述方法改接,才好进行测量。
经过上述改接以后,若在试笔的两个插孔上并联一只电阻,便可将量程扩展为5毫安、10毫安或几十毫安。在计算这只并联电阻之前,应当先了解1毫安档的内阻(即分流器和表头电路并联起来的阻值),最好是通过实测,它约为170欧左右。并联电阻(即外加分流器)的计算方法如下式
R\(_{s}\)=RMI;I\(_{M}\)-1,
式中R\(_{s}\)为要计算的并联电阻(欧);RM为1毫安档的内阻;I\(_{M}\)为电表满标度的电流(毫安),这里IM为1毫安;I为扩展量程的电流值(毫安)。若将量程扩展到10毫安,按照前述内阻计算,R\(_{s}\)应为19欧。
这种改装方法也可不经计算,用调试的方法来找出并联电阻适当阻值。如图4所示接成电路,增大并联电阻的阻值时,万用表针指示增大;反之,表针指示减小,这就可以直接找到合适的电阻了。这只电阻可以使用丝包冷阻丝绕制,也可以用碳膜电阻。

利用这一方法可以调试出几个不同数值的电阻,临时分别并联接到1毫安档上成为几个不同的电流测量档。但在使用其他各档时,要将这只并联电阻取下来。(永为)