一、概述
飞乐265—1型交流六管三波段收音机是上海无线电二厂的产品。采用超外差式电路,机内装有旋转式磁性天线,短波用箔形天线、五位琴键开关、拾音器插口、调谐指示器、连续调节式音调控制器,以及附有熔丝管的电源电压变换器。机箱采用中型台式木质结构,造型新颖美观。并选用了φ165mm的扬声器,再配以尺寸合适的机箱,使发音丰满和润。由于设计考虑比较周密,生产严格按照工艺操作,出厂前又经老炼处理,因此性能稳定,结构牢固,能经受各种气候和机械性试验的考验。在1964年第四届全国收音机评比会中,获得了一等奖和质量奖。
二、主要性能指标
频率范围:中波不狭于 535~1605千赫
短波\(_{1}\)不狭于 4~9兆赫
短波\(_{2}\)不狭于 9~18兆赫
中频频率:465±1千赫
灵敏度: 中波不劣于 0.5毫伏/米
短波不劣于 80微伏
选择性: 不小于 34分贝
拾音器插口灵敏度: 不大于100毫伏
不失真输出功率: 不小于1.5伏安
交流声级: 不劣于-44分贝
整机频率特性在150~3500赫范围内
声压不均匀度: 不大于14分贝
电压不均匀度: 不大于6分贝
整机谐波失真系数
声压: 不大于10%
电压: 不大于5%
高频机振抑制特性 不劣于-3分贝
三、电路特点
2.中波段采用φ10×140毫米铁淦氧磁棒作为机内磁性天线,既提高了接收灵敏度和选择性,并具有很强的方向特性,利用这一特性,当磁棒的一端指向干扰源时,可有效地减小干扰杂声,当磁棒的轴线与所接收电波来向成垂直位置时,可提高对微弱信号的接收效率。
3.考虑到使用室外天线,安装了外接天线插口。为使整个中波段范围内灵敏度均匀,以及减小回路在使用不同长度室外天线时的失调现象,天线线圈采取高阻抗松耦合方式。将天线线圈分为二段,圈数较少的一段通过磁棒与次级线圈耦合,圈数多的一段与次级线圈成垂直放置(参看图7),且减弱耦合。

4.为了简化电路与节约元件,设计波段划分时,将振荡级的中波、短波\(_{1}\)、短波2的覆盖系数设计得尽量接近(本机覆盖系数约为2.2),为此三个波段的本机振荡级垫衬电容器可合用一只(图2中的C\(_{6}\));同时短波1与短波\(_{2}\)输入回路的展阔电容器亦合用一只C5(一般须用二只)。由于短波段的覆盖系数取得较小,使频段得到适当的展阔,改善了接收短波电台时频率拥挤调节困难的情况。
5.整机的增益在中波段时较短波段为高,而中波电台的信号强度又较短波为大,在实际使用中常感中波台信号过强而使扬声器过荷而影响音质,故在检波回路中加接限幅电阻R\(_{9}\),由中波段琴键开关控制,接收短波时将它短路,使不受影响。
6.音调控制器采用单旋钮连续调节式负反馈网络,以获得高低音提升效果,电路如图3。当音调控制器在A端时,对高音频信号言,经R\(_{19}\)、R23、C\(_{26}\)组成的低通电路而被衰减,使加在6N2阴极上的负反馈电压减小,高音频的增益得到提高。当音调控制器在B端时,低音频反馈信号经C27、C\(_{28}\)、R22组成的高通电路而被衰减,达到低音提升效果。当音调控制器在其他位置时,可使不同的频率得到提升或衰减,特性曲线如图4所示。

7.在测试高频机振时常因电子管阴、丝极间漏电流影响而产生交流声,此种交流声为触发高频机振主要因素之一。防止的方法是在灯丝上加以较灯丝电压高的直流电压,这电压取自6P1的阴极,通过这一措施,此种交流声可由未加直流电压前的-20分贝改善至-36分贝。
8.交流声级的降低,除选择合理的通地点和防止输出变压器受交流磁场的感应外,采用了二级滤波方法,由一级滤波时的-34分贝改善为-46分贝。
四、工艺结构等特点
1.采用点焊与熔焊工艺,既节省工时,减少螺钉,并使接地良好,结构牢固,有利于大量流水生产。
2.改善高频机振的措施,是采取机座和双连电容器的减振装置,高频元件如电感、电容器、接线和双连电容器定片的胶固处理,以及将双连电容器安装于底板内部,防止声波的直接冲击等等,使高频机振指标不劣于-3分贝。
3.传动系统方面,双连电容器采用无间隙齿轮减速传动装置,使调谐精密,拉线方式合理安排,仅用滑轮二只,使摩擦减少,传动灵活,此外拉线用玻璃丝心涤纶编织线,使用寿命可达10000次以上。
4.照明清晰均匀,使用了角度合适的反光板和喷有白漆的照明指示灯。
5.度盘玻璃容易在运输途中碎裂,为防止这一缺点,在度盘玻璃支架上加装橡皮减震垫圈,此外出厂前机箱与机座用运输螺钉紧固,使在受振时机座不产生位移,但须注意使用时必须先将此螺钉拆除,否则将会引起严重的高频机振。
6.在跌落试验时一般由于电源变压器安装于底板上而使底板变形,因此本机的电源变压器安装于底板下方,不但重心降低,并起支撑作用,增加了机械强度,防止冲击变形现象,此外尚能使电源变压器散热良好。
7.元件排列的考虑:如电解电容器远离热源,防止受热干涸。磁性天线远离扬声器磁体,以防止调谐回路失调。振荡线圈与电源变压器线圈方向垂直,以防止调制交流声的产生。电源变压器与输出变压器间的相对位置选择合适,以防止交流嗡声。元件加固方面:如电容器用塑料线紧固,使加工方便。元件选用方面:采用了性能稳定的空气筒形微调电容器,接触良好的琴键开关,以及内部装有熔丝管的电源电压变换器,既安全又方便。
8.整机调试前经八小时的老炼处理,以保证使用的可靠性。
9.整机调试时使用中频图示仪,既保证了选择性和通频带,又能使中频频率偏差不超过±1千赫。高频回路的调试切实做到三点统调,确保灵敏度、选择性和像频、中频波道衰减等指标。
五、主要元件数据
1.电源变压器(图5):

线圈Ⅰ φ0.29mm漆包铜线510圈。
线圈Ⅱ φ0.29mm漆包铜线510圈。
线圈Ⅲ φ0.16mm漆包铜线2350圈,中心抽头。
线圈Ⅳ φ0.9mm漆包铜线32圈,中心抽头。
线圈Ⅴ φ0.55mm漆包铜线32圈。
铁心截面积30×30mm\(^{2}\)。
2.输出变压器(图6):
线圈Ⅰ φ0.12mm漆包铜线3300圈。
线圈Ⅱ φ0.74mm漆包铜线85圈。
铁心截面积16×16mm\(^{2}\)。
3.中频变压器:
输入级:放大倍数60~70;阻带15分贝;通带6~7.5千赫。
输出级:放大倍数80~90;阻带16分贝;通带6.5~8千赫。
4.高频线圈:
(1)中波输入线圈(图7):
L2a φ4×0.08mm丝漆包线10圈,电感量2.2微亨;
L2b φ0.lmm丝漆包线180圈,电感量220微亨;
L3 φ28×0.07mm丝漆包线50圈,电感量13.6微亭。
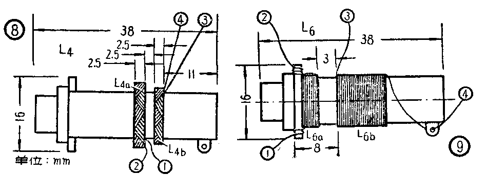
(2)中波振荡线圈(图8):

L4a φ4×0.08mm丝漆包线60圈,电感量60微亨;
L4b φ0.12mm丝漆包线16圈,电感量5.5微亨。
(3)短波\(_{1}\)输入线圈(图9):
L6a φ0.12mm漆包铜线2012圈,电感量6微亨;
L6b φ0.44mm漆包铜线23圈,电感量3.7微亨。
(4)短波1振荡线圈(图10):
L5a φ0.44mm漆包铜线19圈,电感量2.9微亨;
L5b φ0.12mm漆包铜线5圈,电感量0.55微亨。
(5)短波\(_{2}\)输入线圈(图11):

L8a φ0.12mm漆包铜线1512圈,电感量3.5微亨;
L8b φ0.59mm漆包铜线9圈,电感量0.65微亨。
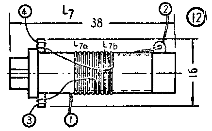
(6)短波2振荡线圈(图12):

L7a φ0.59mm 漆包铜线9圈,电感量0.65微亨;
L7b φ0.3mm漆包铜线4圈,电感量0.3微亨。
以上各线圈的电感量都是指无铁心的情况而言。(设计一组)

