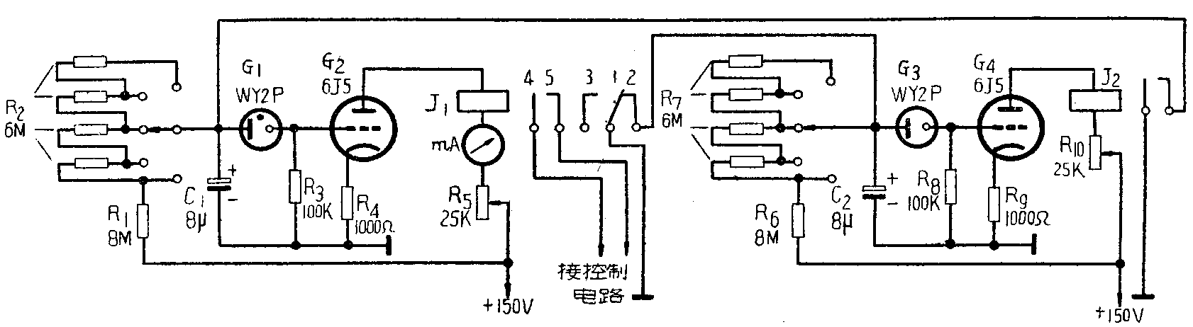
在很多自动控制设备中,都需要有周期性的自动接通和自动断开的开关,这个电子定时继电器就能完成这个任务。其电路如图所示。它的工作过程如下:开始时电子管G\(_{2}\)栅路上的电容器C1经电阻R\(_{1}\)和R2充电(由于G\(_{2}\)有一个较大的阴极电阻R4,故这时G\(_{2}\)的屏流很小),因而使C1两端的电压逐渐升高,当电压达到充气稳压管G\(_{1}\)的点火电压时,稳压管便起辉放电,于是接通了G2的栅极电路,使G\(_{2}\)的栅压升高,因而使其屏流迅速增大。这时G2屏路上的高灵敏继电器J\(_{1}\)开始动作,J1的一组接点1、2脱离,而1、3闭合,另一组接点4、5也闭合。在G\(_{4}\)栅路上原来处于短路状态的电容器C2就经电阻R\(_{6}\)和R7开始充电,同样,当电压增加到某一数值时,稳压管G\(_{3}\)开始放电,因而使G4屏路上的继电器J\(_{2}\)开始动作,J2的接点闭合,造成电容器C\(_{1}\)短路,使J1释放,即J\(_{1}\)的接点1、2闭合,1、3和4、5均释放。这时电容器C2短路,因而又使J\(_{2}\)释放,J2的接点脱离,整个电路又回到起始状态,形成一个周期。我们只要把J\(_{1}\)的另一组接点4、5引出来就可作为周期性通断的开关。接通的时间可调节R7,断开的时间可调节R\(_{2}\)。这个装置的控制时间可调节到1~4分钟。(张晨)
