黄河牌J5—S1型半导体收音机是郑州无线电厂的产品。它是一架可以收听中波波段的便携式五管超外差式收音机。本机声音宏亮、灵敏度高、选择性好,适合在无交流电源地区和广大农村使用,也可以随身携带,在旅途收听广播。
一、电路原理和结构特点
本机采用五只半导体三极管和两只半导体二极管组成超外差式电路。它包括一级变频、一级中放、一级二极管检波兼自动增益控制(并附加一级延滞自动增益控制)、一级前置低放和一级推挽输出。全机增益约90分贝。
本机全部机件和电池装在一只彩色塑料机壳内。机壳体积为22.5×13.6×6.5厘米,其外型及内部结构见本期封底所绘。机壳左上部为电源开关及音量控制的摩边旋钮;选择电台的调谐旋钮装在机壳的右侧,也是摩边式的,使用时操作方便。机内采用磁性天线,一般环境下不需要外加天、地线。为提高对远地电台接收能力,机顶备有外接天线插孔。考虑到使维修方便,全机大部采用普通元件,并经严格分选,质量可靠。
本机使用二号干电池四节,在正常情况下按中等音量每天使用3小时估计,每套电池可用两月之久。
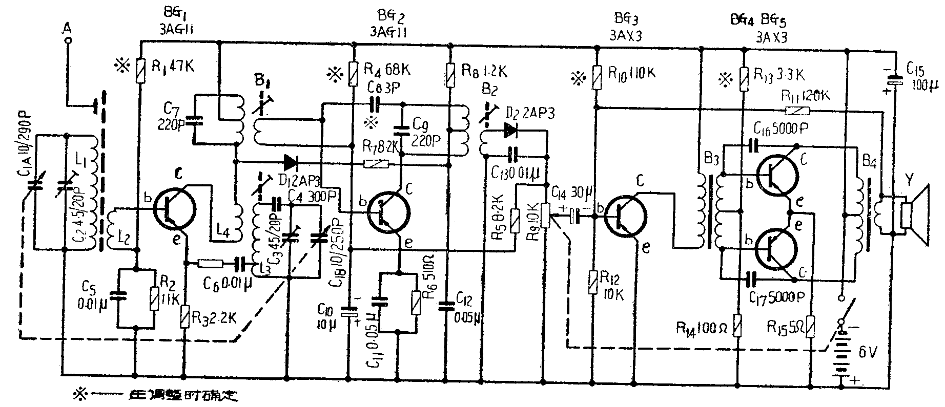
图一为电原理图。变频及中放管采用国产扩散型高频管3AG11(П401),低放及推挽管采用国产合金型低频管3AX3(П6В)。 部分产品内变频及中放管采用3AG22(3G1B),低频管前置级为3AX3(П6В),推挽级为两只3AX12(1G1B),使用这一套管子,其效果与前一套一样。变频级采用共基极电路,振荡信号从发射极注入,故而振荡电压平稳,谐波较小,调谐回路采用小型空气介质双连。为了得到一定的天线有效输入功率,提高谐振Q值,获得较好的灵敏度和选择性,采用了国产M4φ10×140毫米磁性棒。外接天线用一块铝箔敷在磁棒上作松的电容耦合,以减小外接天线的等效天线电容对调谐回路统调的影响,使整机灵敏度不致受到影响,并能减小当接上外接天线后的频率漂移现象。

增益分配:变频级的功率增益在20分贝左右,变频后的信号经单调谐回路中频变压器B\(_{1}\)以紧电感耦合于次级。本机只一级中放,为了充分发挥其作用,将工作点选用在最佳点,有较大的工作点电流,所以中放有较大的功率增益。并加强了中放级自动增益控制能力。
由于半导体管C\(_{c}\)较大,存在着内部反馈,所以在中放级加了3~5微微法的中和电容器C8,使其工作稳定,并避免机振啸叫。
D\(_{2}\)为检波二极管。检波后产生的正电压经过R5加到中放管BG\(_{2}\)的基极,控制它的工作点电流,从而改变它的增益。D1为附加的延滞式自动增益控制电路,在接收小电台信号时,它的阻抗较大,电路基本闭塞,对灵敏度、选择性无影响。只有大信号输入时才起控制作用。控制过程如下。当强信号输入时,D\(_{2}\)检波后产生的正电压抵消BG2基极负偏压,使它的集电极电流减小,R\(_{8}\)降压作用也随之减小,二极管D1开始导电,阻抗减小,一部分高频电流经R\(_{7}\)、C12入地,降低变频级增益,加强自动增益控制作用,同时降低第一中频变压器负截阻抗,使Q值下降,通带加宽,减小了自动控制作用所引起的阻抗失配现象,从而使整机频率响应改善,失真减小。
检波后的音频信号经耦合台电容器C\(_{14}\)送至低放级BG3进行放大。BG\(_{3}\)的工作点电流选用得偏大一些,以使它有足够的增益去推动推挽输出级。输出功率放大级BG4、BG\(_{5}\)采用乙类推挽放大,输出阻抗为194欧。为了改善音质,减小非线性失真,从功放级输出端通过R11(120K)将约4分贝的负反馈加至BG\(_{3}\)基极,并从两管的集电极各接入一只5000PF电容器(C16、C\(_{17}\))至基极,构成本级负反馈,以改善频率响应,大大减小了整个低频端的失真。
本机在生产时,对半导体管等主要元件经过严格分选老炼,同时由于采用一级中放和负反馈电路,噪音很小,放音清晰,其绝对灵敏度基本上等于相对灵敏度,没有一般6~8管机在收听远地电台时所产生的沙沙声。
二、电性能指标
①频率范围:535~1605千赫;
②中频频率:465±4千赫。(实际生产控制在±3千赫以内);
③灵敏度:<3毫伏/伏(实际<1.5毫伏/伏);
④选择性:偏调±10千赫时>14分贝;
⑤整机电压频率特性:300~3000赫时<10分贝(实际<5分贝);
⑥整机非线性失真系数:200~2000赫<10%;
⑦额定输出功率:>70毫瓦,(实际>100毫瓦);
⑧最大输出功率:>200毫瓦;
⑨中频波道衰减:>10分贝(实际>20分贝);
⑩假象波道衰减:>20分贝(实际>30分贝);
定性:当电源电压降至4伏时仍可工作,并且无啸叫现象;
量控制作用范围:>32分贝(实际>50分贝);
源消耗:无信号时电流<10毫安;
额定输出时电流<40毫安;
最大输出时电流<60毫安。
三、元件数据
1. 磁性天线:采用M4φ10×140mm 磁棒,离磁棒一端24毫米绕初级,用7股0.12mm丝漆包线绕55匝,相隔2mm后再用同号线绕5匝,初级回路宽载Q值>150。
2.振荡线圈:用φ0.12mm丝漆包线在8mm塑料管上按蜂房式绕110匝作初级,3匝处抽头。用同号漆包线在初级上绕12匝作振荡反馈线圈,并用φ3×14mm磁心调整其电感量。
3.中频变压器:第一中频变压器用φ0.12mm漆包线初级绕130匝,61匝处抽头;次级用同号线在初级上绕7匝。第二中频变压器初级用同号漆包线绕130匝,50匝处抽头,在初级外层绕21匝作次级。
两只中频变压器无载Q值>100。
4. 输入变压器:用原0.35mm硅钢片,铁心舌宽8mm,迭厚7mm,初级用φ0.9mm漆包线绕2200匝,次级用φ0.12mm漆包线绕688+688匝。
5. 输出变压器:铁心尺寸和型号与输入变压器相同,初级用φ0.21mm漆包线双线并绕350匝(初级总匝数为700匝),次级用0.41mm漆包线在外层绕92匝。
四、调试说明
1. 各级工作点:本机在生产时对半导体管进行过老炼和增益搭配,把各级工作点调整电阻限制在一定范围内(其阻值为电原理图中各级调整电阻±20%范围内),但由于半导体管一致性较差,需要按附表调整各级工作点电流(集电极电流)。

在测量各级电流时,可将各测试点之连接焊锡烫开,串入适当的毫安表,测毕应将连接点复原。
2. 中频频率:用电场发生环送出465千赫约50毫伏/米场强的信号,在双连全部旋入后音量开大,反复调整中频变压器磁心使输出最大。
3. 振荡频率:从电场发生环送出525千赫信号,双连全部旋入,音量开至最大,调整振荡线圈磁心,使输出最大。然后将双连全部旋出,改变电场频率到高于1605千赫,调振荡回路补偿电容器C\(_{3}\)使输出最大。
4.调同步:使电场发生环送出一适当强度约600千赫信号,将双连旋至谐振位置,音量开大,慢慢调整磁性天线线圈在磁棒上的位置至使输出最大,然后将电场发生环送出1500千赫,再旋转双连调到这个信号频率,微调C\(_{2}\)使输出最大,按上述方法反复进行,直到同步为止。
检查同步的方法:可用试棒(参考本期“实验室”的文章)两头分别移近磁性天线,此时输出均应下降。
五、使用和维护
本机在生产中定期作震动、冲击及温湿试验,能在-10℃~40℃温度范围内和98%高湿度环境下工作。但使用时仍应竭力避免受到这些影响,否则将缩减机器寿命。在收听电台时将收音机转至适当角度,可获得最佳收音效果。音量要开至适度。连续开机时间不宜过长,以延长电池使用时间。更换电池时可用硬币将后盖螺钉旋松,打开后盖便可更换,电池的极性不可接反,否则将会烧坏管子。长久搁置不用时应将背带、电池取出与机箱分别放置。
本机电源为6伏,使用一段时间后电池电压会下降,当低于4伏时应更换新电池。电池用尽的现象是收台数量减少、音轻,而且失真,或产生“扑扑”声。
检修时可用20000Ω/V万用表自后至前逐级检查各管电压。在无电台信号和常温下各部电压数据如附表(或测各级工作点电流)。
发现电压异常,可先检查各部分元件引线是否良好;然后从低频振荡器送出1000赫音频信号,串联一只20μf电解电容器后接到10K电位器上,并将电位器开满,逐渐加大振荡器之输出电压,在扬声器两端用电子管毫伏计测得0.5伏(70毫瓦),若振荡器电压小于12毫伏,说明整个低频级工作正常。然后继续检查高频级。将小于2毫伏的465千赫高频信号(调制频率1000赫,调幅度30%,串联一只0.05微法电容器先接至BG\(_{2}\)基极,若整机输出大于0.13伏即表示该级工作正常。再将输入电压降至小于10微伏,以同样高频信号送至BG1基极,整机输出应大于0.13伏。
在更换元件和在印刷电路板上焊接时应使用25瓦电烙铁,烙铁头直径不大于3毫米。并用直径小于1.2毫米的松香心焊锡丝,每次焊接时间不可超过5秒钟,否则会使导电铜箔板与绝缘板剥离。在拆换元件时最好用尖嘴钳夹住元件根部使散热。更换半导体管时要求:
①两只推挽管之β值力求对称,否则失真增大(其β值最好在不小于10毫安电流下测得)。
②低放管I\(_{co}\)应小,同时噪音要小,否则整机静止噪音将大,影响收听效果。
③两只高频管之增益不宜过大,但中放管β值应大于30,否则自动增益控制作用差,在强信号下整机失真增加。
在更换半导体管时应注意重新调整工作点电阻(偏流电阻),更换中放管后应适当调整中和电容器(范围在3~5微微法),使工作稳定。
经过修理后之机器应符合本机电性能指标。(东河阳 郑众人)