煤层埋在地下,从寻找煤田、了解它的埋藏情况,到凿井采掘,运到地面,以及筛分、洗选加工等等,是一个很复杂的生产过程,它涉及许多科学技术领域。所以煤炭工业是一个综合性很强的工业部门,这是煤炭工业的一大特点。此外,不管是露天采煤还是凿井采煤,对安全保护工作都有特殊的要求,这是另一大特点。从前一特点出发,电子技术能够被广泛地应用到煤炭工业的各生产过程中来;从后一特点出发,应用电子技术以实现煤炭生产过程的自动化就有更重要的意义。下面我们从地质勘探、矿井通讯、检测仪器、生产过程的自动化等几个方面举一些例子来谈谈电子技术在煤炭工业中的应用。
地质勘探
地质勘探的目的是寻找煤田、确定煤层的面积、厚度、倾斜角度、煤的类别和等级以及煤层附近的岩石分布情况等等。地质勘探的主要工作之一是打钻孔,以便将岩芯取出,然后再根据各段岩芯的顺序和对这些样品的分析,来判断钻孔所通过的岩层情况。为了得到一段岩芯,不得不把很长的钻杆从地下拔出,而且还必须特别小心,不能使岩芯受到损伤,也不能丢失和颠倒。可见用这个办法的效率是很低的。更糟的是岩芯(尤其是煤芯)往往在钻机的大压力下被压短了,因而不能正确地反映岩层和煤层的真实厚度。
采用γ- 测井法就可以不取岩芯,因而大大提高了钻进的速度,并能准确地知道岩层厚度。因为岩石中大多含有少量像钍、铀一类的元素,所以几乎各种岩石都具有一定程度的放射性。γ-测井就是根据钻孔内γ-辐射的强弱来判别岩层的。图1是γ-测井的原理图。放到钻孔里的是个细长的管子,其中装有探测器和放大器。探测器可以是盖缪计数管或是荧光晶体与光电倍增管。钻孔中的来自岩石的γ-辐射使探测器送出脉冲电流,经过放大送到地面,再经过放大器、定标器、鉴别器等,最后到记录仪表上,人们就可以从记录的曲线上来分析煤层的情况。

为了进一步测定出岩石密度,还可以采用γ-γ测井法。它不是探测岩石中的γ-辐射,而是探测岩石对γ-射线的吸收能力。在放到钻孔中的探侧器前面放一块比岩石的天然γ-辐射强得多的射源(如钴—60,见图2)。为了不使探测器受到射源的直接照射,两者之间用铅屏蔽起来。岩石密度不同,吸收γ-射线的能力就不同,因而散射回来的γ-射线强度也就不同。再经过与图1类似的一套电子仪器,就能区别岩石是密致的还是多孔的。特别是煤和岩石吸收γ-射线的能力有显著差别,所以用这种方法可以很快地找到煤层。

矿山通信
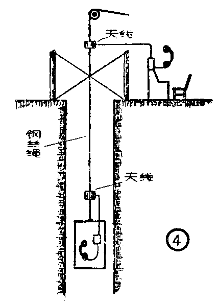
矿山的范围较大,工序复杂,目标分散而又不固定,还有特殊的安全上的要求。因此除了一般的电话联系外,还需要有一些特殊的通信工具才能及时掌握情况,组织生产。目前井上或井下的运输大都是靠电机车牵引矿车来完成的。架线电机车可以利用直流架线作高频载体,构成电机车调度电话。采用这种设备,司机便能随时和调度室联系。有些矿井使用蓄电池机车,没有架线,这时可以采用“感应电话”(见图3)。调度站收发话机的天线就沿运输巷道敷设。机车上的天线则与它保持一定距离。通话是依靠两天线间的耦合来完成的。

感应电话还可用在开凿井筒、安装井筒内的罐梁罐道,以及敷设水管、电缆和井筒检修等工作中。这时可用提升机的钢丝绳作为高频载体(图4)。同理,巷道中敷设的风管、水管、钢丝绳甚至钢轨都可作为高频载体。检修人员带上这种电话机便可以把天线靠近载体,在有效的距离内彼此联系或与固定的指挥点联系。

感应电话虽是一种高频通信设备,但它还不是一般的无线电话。因为在地下巷道中,周围都是岩石,巷道又多曲折,所以频率稍高,电磁波的衰减就很严重,但是频率低了又影响传输。一般使用频率在90—300千赫之间。发射功率也不能过大,因为雷管靠近天线时,可能会被加热而引起爆炸。检修人员带的感应电话机都是便携型的,可以挂在肩上。新型的感应电话机采用印刷电路和超小型元件,整个接收机可以装在矿工帽的夹层里。
检测仪器
对矿井安全生产威胁最大的是瓦斯(甲烷)、煤尘、涌水(突然间大断面出水)和冒落事故(煤层采空后,如果不充填,上边的岩层会落下来)。为防止发生这些事故,矿井中随时都有很多人作检测工作。随着电子技术的发展,一些老的检测方法已经被迅速、准确的电子仪器代替了。另外使用电子仪器还可以进行遥测,因此工作人员能够撤离不安全的地方。
岩石的裂纹目前都是用超声波来检查。将超声振动加在岩石表面,当这种振动向岩石内部传播而遇到裂纹时,就有一部分反射回来,电子仪器接收到这种回波以后,就能指示出裂纹的深度和范围,因而可以采取预防措施。还可以利用煤层受压时影响超声波传播这一特点,在煤层的一个钻孔孔壁上加上超声振动,从相邻孔壁上接收。用这种穿透法可以测量出煤层的受压情况,以便合理安排煤柱,保证安全,提高回采率。
将一个高灵敏度的拾音器放在岩石表面,再接上一个放大器,就可以听到岩石中水流的声音或岩石受到地层压力慢慢裂开的声音。这样也有助于预防突然的涌水事故或冒落事故。
检测瓦斯含量的电子仪器可以利用不同的原理作成。有一种瓦斯测定器的原理如图5所示。两个热敏元件接在电桥两臂上,并各有一个加热器。其中一个加热器被密封,另一个与含瓦斯的空气接触。瓦斯含量越大,后者发热越大。热敏元件受热不同,电桥便失去平衡,因而有电压输出,经放大后不但能从仪表上读出瓦斯含量,而且当超过危险含量时还能使继电器动作,发出警报,或自动打开局部扇风机。风量测定器则是利用风速越大带走的热量越多这一道理作成的,电路与图5类似。煤尘测定器电路也与图5相似,只是要将热敏元件换成光敏元件,并用小灯照射。空气中含有煤尘,光线被遮,使电桥失去平衡,仪表便指出含尘量。

生产过程的自动化
使用联合采煤机采煤时,一般都是在岩石的上层留有一定厚度的煤皮,以防挖到岩石中去。图6是自动控制煤皮厚度的电子仪器。

当煤皮厚度不合要求时,从煤—岩分界面散射回来的γ-射线有变化。探测器接收到的γ-射线强度不同,可以经过放大器和控制器去自动调整采煤机的相应机构。
提升机的自动控制过程如图7所示。图中的γ-射线源和探测器是控制提升机的工作的。当地面煤仓的煤已经全部运走,而井底煤仓又已经储满了煤时,各探测器由于受到的γ-射线的辐射情况不同,于是就输出不同的脉冲信号,并开动提升机,使之工作。相反的,当地面煤仓已经储满了煤或井底煤仓储煤很少时,提升机能自动停止工作。用压磁元件做成的重量继电器能保证箕斗装入一定量的煤,从而使箕斗的运行速度正常。

选煤厂不但要把煤与岩石分开来,而且还要按煤的质量不同分出等级。一般都是把煤和水(或比重比水大的液体)混合,利用不同质量的煤和岩石的比重不同,使它们在容器中分出层来。此外,在水力采煤矿井中,往往用煤水泵将煤水混合物打到地面。还有时通过管道用水把煤送到远地。以上这些地方用γ-浓度控制器就能自动调节煤与水的比例,保证产品质量,减少故障。用于选煤厂的γ-浓度控制器的原理图示于图8。控制器控制着煤仓的闸门,使它在适当的时候打开。

以上我们仅从几个方面简单地介绍了电子技术在煤炭工业中的应用。实际上它还有更广泛的应用,例如用工业电视监视采煤机的工作情况和矿井生产的枢纽地带;把超小型摄像机放入钻孔,直接从地面电视机上观看孔壁;以及用电子计算机选择经济合理的开拓方案等等。限于篇幅,这里就不介绍了。(谢寿炽)