对讲机的应用范围很广,可以便利一个组织机构的内部联系,例如工厂的管理单位与生产车间之间,机关、学校的传达室与办公室之间,医院的值班室和病房之间,剧团的导演与演员、灯光、效果、化装室之间,等等,都可采用。这里介绍的是一个单向式半导体管对讲机电路,结构简单,容易装制,可供需要者实验试用。
这个对讲机采用母子式遥控电路,只在母机装有半导体管放大器,利用一只动圈式扬声器作为两用的送、受话器。子机内则仅有一只作为受、送话两用的动圈式扬声器,因此装制成本很低,经济实用。对讲机的工作伏况如图1的各方框图。图中(甲)是母机在送话,子机在受话的情形;(乙)是母机在受话,子机在送话的情形;(丙)是一个母机分别对三个子机通话的情形。

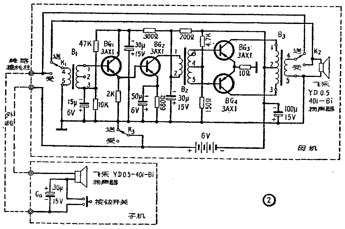
图2是对讲机母机和子机的电路图。母机的工作选位开关K\(_{1}\)、K2、K\(_{3}\)是双掷同步开关。当工作在送话位置时,扬声器当作送话器使用,把声音转变成为音频电流,通过K1输入至变压器B\(_{1}\),然后耦合到第一级半导体放大管BG1的基极。这一级放大是共集电极电路,信号由发射极直接耦合到第二级放大管BG\(_{2}\)的基极,经它放大后输送给由BG3和BG\(_{4}\)组成的推挽乙类功率放大器。输出变压器B3的次级经K\(_{2}\)接到外线和子机接通。此时子机应在等待受话的位置,按钮开关弹起不接触,母机送来的音频电流经过隔直流电容器Ca输送到子机的扬声器变成声音。

当母机工作在受话位置时,输入变压器B\(_{1}\)通过开关K1与线路A接通,输出变压器B\(_{3}\)通过开关K2与扬声器接通,但开关K\(_{3}\)这时断开,放大器的电源被切断,故不能工作。当子机需要送话时,按下按钮开关,隔直流电容器Ca被短路,母机电池的正极,通过子机扬声器的音圈,再经过母机输入变压器的初级圈通地完成了回路,所以放大器的电源可以由母机控制,也可以由子机来控制。当双方都在等待受话的位置时,电源断路不消耗电能,故用电很省。
对讲机所用的元件多是半导体收音机常用零件。半导体管第一级和第二级放大采用3AX1(П6A),推挽输出级采用两只3AX3(П6B)。扬声器为“飞乐”YD0.5—401—Bi型、直径100毫米,音圈阻抗为8欧的动圈式扬声器,同时亦作送话器使用。输入变压器B\(_{1}\)是以64B型输出变压器(国营北京有线电厂产品)充当输入用,以它的8欧4和5两端作为初级,而以1和3两端作为次级使用。级间变压器B2及输出变压器B\(_{3}\)则为64A型推挽输入变压器和64B型推挽输出变压器。送、受话选位开关K1、K\(_{2}\)、K3为三刀双向电键式扳闸(电话交换机上用的),也可用四刀双掷的波段开关代替。子机按钮开关采用小型电铃按手开关,它的工作功能是按下接触,弹起断开。
对讲机的调整方法很简单,主要是调整各半导体管的工作点。先在第一放大级的集电极电路中串入一只毫安表,调整R\(_{1}\)的数值,使BG1的集电极电流为2毫安。第二放大级BG\(_{2}\)的基极系直接耦合到第一级BG1的发射极,当第一级调好后,这一级就可以不再调整。推挽功率放大级工作在乙类状态,无信号输入时调整R\(_{6}\)使BG3和BG\(_{4}\)两管的静止电流为2~3毫安,最大信号时电流为30毫安左右。
这只对讲机放大器的额定输出功率为100毫瓦,最大可达150毫瓦。以扬声器代送话器输入信号电压不大于20毫伏。以四节手电筒干电池供电,电压为6伏,当输出功率最大时,电流消耗不大于35毫安。(杨得辑)