在半导体管超外差式收音机的变频电路中,对本机振荡部分的振荡电压,要求强弱适度,而且在整个频段内还要均匀一致,因为它对整机的稳定性和灵敏度影响很大。振荡电压过强,会使振荡不稳定,因而收音机的接收信号也不能稳定。振荡电压过弱,又可能随时产生停止振荡的现象,使收音机不能收音。振荡电压不均匀,则会造成一部分频段增益高,一部分频段增益低。怎样调整这一级的振荡电压,使它达到均匀稳定呢?下面是几个常用的方法。
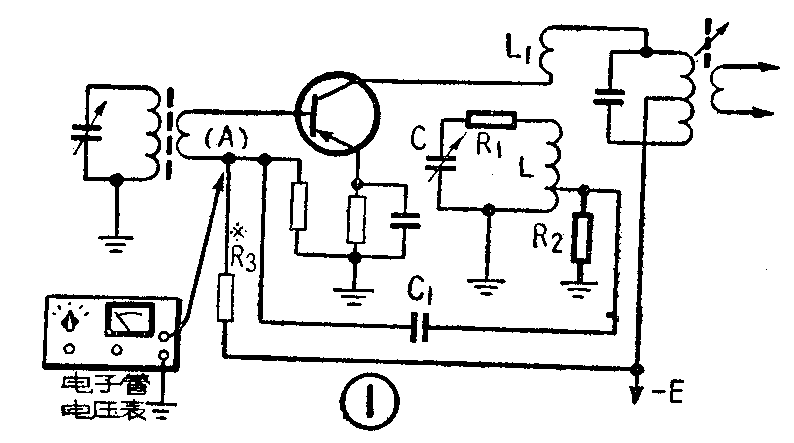
图1是一个常用典型的基极注入式半导体管变频电路。本机振荡电压由L、C和L\(_{1}\)组成电感反馈式电路产生,从L的抽头引出,经过耦合电容器C1,在(A)点注入变频管的基极。按照一般经验,加到(A)点的振荡电压,以100~400毫伏之间为佳。电压大小的调整,主要可借助于调整L上的抽头点和L\(_{1}\)的圈数来实现。除此以外,还有以下几项办法。

1.改变C\(_{1}\)的电容量 由振荡线圈抽头注入到(A)点的振荡电压是通过隔直流电容器C1来完成的。因此C\(_{1}\)的电容量也直接关系着注入到(A)点振荡电压的强弱。这个电容器一般用4700~5200PF,增大C1能提高注入到(A)点的振荡电压,减小C\(_{1}\)能降低注入(A)点的电压。
2.在振荡LC电路中串接电阻 当振荡电压过强时,可以在电感和电容谐振槽路中串联一个电阻(图1中的R\(_{1}\)),用来消耗一部分振荡功率,使输出振荡电压减弱。电阻R1的阻值一般约为10欧左右。电路中增加R\(_{1}\)后对本机振荡频率较低的一端影响较大。
3.在抽头和地之间并联电阻 在振荡线圈的抽头和地之间并联一个电阻(R\(_{2}\)),能使一部分振荡电能被它所消耗。因此也能达到减小振荡电压的目的。R2的阻值一般为200欧左右。
4.改变变频管的工作点 变频管集电极电流的大小(工作点)和本级增益关系很大。因此改变工作点也能达到控制振荡电压的目的。图1中电阻R\(_{3}\)是变频管的基极偏流电阻。改变这只电阻的阻值可调整工作点。变频管的集电极电流应在400~800微安之间调整选取,电流不应选得太大,因为过大就会增加整机的噪声和流水声。
在有短波波段的变频电路中,其本机振荡电压在不同频率时相差较大。一般是振荡频率越高时,振荡电压越强。有时由于本机振荡高频端电压过强,常会出现“闭塞振荡”的现象而发出啸叫声。为了使振荡电压在不同振荡频率时保持恒定,可以采用如图2所示的半导体二极管组成的电路加以稳定,当振荡电压正常时,由于二极管的检波作用,在电阻R上产生压降,并使电容器C充电。当RC时间常数选用适当时,RC两端就会出现一个反向偏压(对二极管而言)使二极管内阻增高,振荡电能被二极管旁路较少。但当振荡电压过强时,由于线圈两端的振荡电压高于RC电路的反向偏压,于是二极管导电,内阻变低,而将过强的振荡电压旁路,使振荡电压能以保持恒定。

由于二极管的非线性,将二极管直接并联在反馈线圈的两端时(图3),也能达到稳定振荡电压的目的。(王本轩)
