“海棠”牌TR2—1型普及式二管半导体收音机是武汉市无线电厂的产品。本机为小型台式,采用普通大型元件,结构牢固,使用简便,适合于广大农村和渔、牧、林区的无电源地区收听中波广播使用。音质优美,发音宏亮,在30平方米房间内各处都能清楚地听到。
一、电路一般工作原理
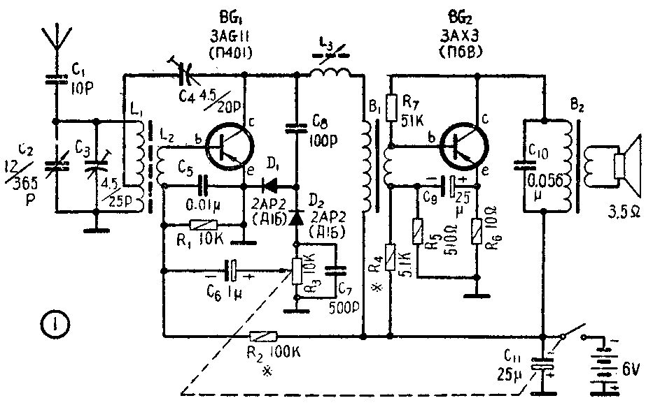
收音机电原理图见图1。

高频信号从外接天线经C\(_{1}\)耦合或从磁性天线直接感应到由L1、C\(_{2}\)、C3组成的调谐回路,经选择后,以电感耦合至L\(_{2}\),再送到高频半导体三极管BG1的基级b和发射极e进行高放。经放大后的高频信号,一部分经C\(_{4}\)组成的再生回路,并经过L1L\(_{2}\)的感应,重新返回BG1的输入端起再生作用,以提高灵敏度和选择性,另一部分经C\(_{8}\)送到两个半导体二极管D1、D\(_{2}\)组成的倍压检波电路进行检波。由于L3对高频信号的阻力很大,高频信号通不过去,所以高频信号不能传到后面低放电路去。经检波后的音频信号,以音量控制电位器R\(_{3}\)为负载;一部分残余高频经C7旁路到地,R\(_{3}\)上的音频信号经C6、L\(_{2}\)再加到BG1的基极进行来复低频放大。放大了的音频信号通过L\(_{3}\)后以输入变压器B1的初级圈为负载,并耦合至次级,再送到BG\(_{2}\)低放半导体三极管基极b进行功率放大。最后经输出变压器B2输出到扬声器,放送广播。
二、主要性能指标
1.灵敏度:600千赫、1000千赫、1500千赫三点测试均不劣于35毫伏/米,实际产品可达8毫伏/米以下。
2.选择性:1000千赫处偏调±10千赫时,衰减实测>10分贝。
3.电压不均匀度:在250~3000赫内实测为6分贝左右。
4.整机电压谐波失真系数:不大于15%,实测为8~10%。
5.输出功率:10毫瓦,实测15毫瓦,最大输出功率可达50毫瓦。
6.电流消耗:电压6伏,电流不大于16毫安。
三、元件数据
1.磁性天线(见图2):采用M\(_{4}\)型φ10×150毫米磁性棒,L1用0.06毫米七股丝漆包线,在φ11×20毫米浸蜡纸筒上单层密绕48圈,在44圈处抽头,也就是再生线圈为4圈,线圈在磁性棒一端。L\(_{2}\)是在距L1约7毫米处用0.15毫米七股丝包塑胶线密绕5圈,然后用内径为4毫米的塑胶套管将两线头套住,防止线圈散开。L\(_{1}\)电感量为17微亨,Q≥80,测量时,不装在磁性棒上。

2.高频扼流圈:见图3。高频扼流圈在φ8的塑胶管上,用0.12毫米单丝漆包线,宽度以3毫米为宜,二折点蜂房绕法分成二段,每段250圈,共绕500圈,线圈管内加M6×1×16的磁心。线圈电感量为2.5±10%毫亨,Q≥40,直流电阻为34欧。

3.输入变压器:初级以0.1毫米漆包线用杂乱绕法绕3000圈,电感量为9亨,直流电阻为320欧;次级以0.15毫米漆包线杂乩绕713圈,直流电阻为50欧。
4.输出变压器:初级以0.15毫米漆包线用杂乱绕法绕600圈,电感量为0.5亨,直流电阻为34欧;次级以0.35漆包线杂乱绕法绕116圈,配8欧扬声器。若配3.5欧扬声器时,初级以0.15毫米漆包线杂乱绕法绕900圈,电感量为0.5亨,直流电阻为50欧;次级以0.35毫米漆包线杂乱绕77圈。
输出、输入变压器均绕在用胶木粉压成的骨架上,在绕线时先衬上两层0.05毫米的电话纸,组与组之间和组外均用0.05毫米电话纸绝缘,并以真空浸渍法处理,以防中间短路。输入输出变压器的铁心采用EI形硅钢片,截面积6×8毫米。
5.扬声器:采用飞乐YD0.5—401—Bi型、直径105毫米、音圈阻抗为8欧的动圈式扬声器。
6.半导体三极管:在装配前均进行严格地测试,除个别的噪声特别大和增益太低的以及和电流调不上去的以外,一般的管子都可以用。业余爱好者试装也可以用其他类型的高频和低频半导体管来代替。管脚接法见图4。

四、装配
1.本机除扬声器装在木料机箱面板上外,全部元件均安装在由1毫米厚铁板组成的机座上,结构牢固。由于机座采用铁板,能避免高频扼流圈和天线棒等元件之间不必要的感应,使性能稳定,并适合于大批流水生产。
2.磁性棒用两个铝质支架固定在机座上,磁性棒和支架之间用塑料套管隔离,并作绝缘和固定之用(详见本期封底零件排列图)。磁性天线和其他元件离开一定距离,可以使磁性天线不受其他元件的影响,处于最佳工作状态。
3.高频扼流圈用螺钉固定在机座下面,由于机座为铁板,而其他高频元件都在机座上面,所以互不影响,线圈内有螺纹磁心,当调整磁心时,可以调整它的电感量。
五、调试
本机在大批生产时,均用高频信号发生器、电子管毫伏表、音频信号发生器、示波器等仪器进行精确仔细的调试。但为了广大业余无线电爱好者的仿制方便,特提供下述方法以供参考:
1.半导体管各级电流的调整:将各管的电流调在下列数值:
BG\(_{1}\)管——调节R2的阻值,使集电极的电流为1毫安;
BG\(_{2}\)管——调节R4的阻值,使集电极的电流为12毫安。
2.频率覆盖(530~1620千赫)一般低端都能达到,若少许有些误差,可适当地调整线圈在磁性棒上的位置,而高端可以调节4.5/25微微法的微调电容C\(_{3}\)来改善,直到频率完全正确为止。
3.灵敏度:先将再生电容器C\(_{3}\)逐渐加大以提高频率高端灵敏度,加大到离再生振荡有一定余量为止,这时若频率低端灵敏度不够,可以调节高频扼流圈C3的电感量,提高低端的灵敏度,再复调高端和中间,出现再生振荡时,可以适当地调整再生电容C\(_{3}\),或L1、L\(_{2}\)之间的距离,经反复调节使全波段内的灵敏度达到比较均匀和稳定为止。
六、几点说明
1.该机正面的小型旋钮为电源开关兼音量控制,大型旋钮为选择电台之用,机箱背面有天、地线接线柱,如欲收听较远距离电台时,可接上外加天、地线,以提高收音效率(使用外接天线时,必须加避雷器,以避免雷击危险)。
2.使用机内磁性天线收听时,当收到电台后可以转动收音机,使机内磁性天线方向改变,就能得到灵敏度最高和干扰最小的合适的位置,音量最佳。
3.当安装或更换电池时,先打开机箱的后盖板,取出电池,将四节一号电池每二节分成一组,共为两组,装入机内,在装接时注意所标注“+”“-”符号,千万不可装反,否则半导体管就有烧坏的危险!(杨文生 彭飞)