“长城”牌639型超外差式交流四灯机是天津市长城无线电厂的新产品。根据测试鉴定,它的各项电性能指标全部超过四级机的国家标准,收程及音质、音量方面与五灯机不相上下。
一、电路介绍
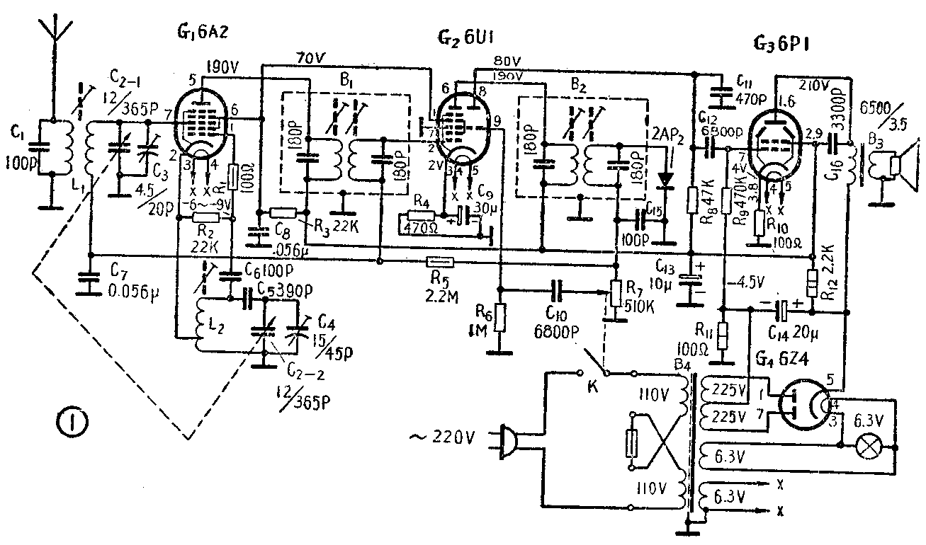
由于采用了复合管和半导体二极管,这种收音机的电路程式与典型的超外差式交流五灯机相当。从图1可知它是用6A2作变频;用6U1的七极部分作中频放大;二极管2AP2作检波;6U1的三极部分作电压放大;6P1作功率放大;6Z4作全波整流。

1.变频级的输入回路与本机振荡回路:这两个回路是决定整机高频电气性能好坏的关键。输入电路采用电感耦合方式。本机振荡采用一般的三点式振荡电路。按照理论计算,当天线回路固有谐振频率f\(_{0}\)取0.37兆赫,天地线间电容取150微微法时,天线线圈L1的电感量为1.23毫亨。但在一般使用短天线(拖线)的情况下,天、地线间的电容实际只有30~40微微法,这时f\(_{0}\)将升高,移入接收波段内,这是一般收音机在不接标准天线下产生谐波干扰的主要原因。当在天、地线间接上C1(见图1)后,则在使用拖线时f\(_{0}\)仍在接收波段的外面,低于波段低端的最低频率,这样虽然对高端增益有影响,但由于次级输入调谐回路的等效Q值与L/C成比例,在波段高端C小,Q值大,高端灵敏度高于波段低端,因此上述措施起了平衡作用,使全波段内灵敏度趋于均匀。
实验表明,按照一般收音机三点振荡回路的接线方法(如图2),对于低端灵敏度影响较大。当改变为图1接法时,低端灵敏度可提高近1/3,测量6A2振荡栅极对地振荡直流负压在波段内约在-6伏至-9伏之间。

天线线圈与本机振荡线圈均采用高频螺纹磁心,以提高线圈Q值。
2.中频放大电路与低频电压放大电路:按6U1的七极部分接成五极管使用的典型电路而言,其栅偏压应为0伏。为了使中频放大级工作稳定以及作为电压放大级的三极部分能取得-2伏的自给偏压,6U1的阴极电阻与电容分别取470欧与30微法。R\(_{4}\)在250~600欧范围内变化会影响整机增益与非线性失真,但变化不大;如果旁路电容改用小容量纸介电容器,如0.056微法时,则不能保证音频获得很好的旁路而势将加大交流声。实验证明,当6U1的偏压在-2伏左右时,中频放大倍数虽然略低,也可以达到32分贝左右,并且噪音较小,工作也比较稳定;电压放大级增益可达22分贝左右,虽然与五灯机比较起来有些偏低,但由于整机高频部分增益较高,检波后的电压较大,仍可满足功率放大级的要求。
3.检波电路:采用半导体二极管检波时,必须注意到它是中频谐振回路的负载,而它的输入阻抗比电子管低很多,因此在使用一般中频变压器的条件下,二极管必须选用正、反向电阻比值大的,而且正向电阻应不大于400欧,反向电阻应不小于500千欧,否则将使检波效率和选择性降低,而且中频谐振曲线也不对称。
自动增益控制电路的时间常数取0.123秒。变频与中放两级均采用串联式馈电。一般在变频级以并联式馈电较好,与串联式相比较,增益可高出1/8。但因只有中波波段,变频级已有足够高的增益,为了简化电路,我们仍采用串联式馈电。
4.功率放大电路:与一般电路相同,6P1的栅偏压一部分取自自给偏压,另一部分取自固定偏压,合计为-8.5伏。6P1阴极不用电容器旁路,可产生电流负反馈作用,以减小失真和改善频率特性,同时可减低6P1的屏耗,对该管起保护作用,延长使用寿命;另外还有降低交流声的效果。
二、调整
本机调整方法与一般超外差机跟踪统调方法完全相同,调整步骤如下:
1.将C\(_{2}\)旋至容量最小位置,自6A2信号栅极输入465千赫中频信号,由后向前逐级调整各级中频变压器的磁心,使整机输出最大。
2.将C\(_{2}\)旋至容量最大位置,自天线端输入所接收波段最低端频率的信号,调整L2的磁心,使整机输出最大。
3.将C\(_{2}\)旋至容量最小位置,自天线端输入波段最高端频率的信号,调整C4,使整机输出最大。
4.自天线端输入600千赫高频信号,调整C\(_{2}\)使与之谐振,调整L1的磁心,使整机输出最大。
5.自天线端输入1500千赫高频信号,调节C\(_{2}\)使与之谐振,调整C3使整机输出最大。
6.自天线端输入1000千赫高频信号,调节C\(_{2}\)使与之谐振,调整C2-1的花片使整机输出最大。
上述步骤必须在第1步反复一次后进行第2、3步,将这两步反复一次,然后进行第4、5、6步,并反复一次即告完成。
调整好的收音机,自6A2信号栅极以及自2AP2的正端输入的中频信号的电压值不应大于0.6伏(这时整机输出功率应为50毫瓦,即与输出变压器次级负载阻抗3.5欧相并联的电子管电压表读数为0.42伏)。调整时使用的高频信号,它的调制频率一律为400赫,调幅度M=30%。
三、线圈与变压器数据
1.天线线圈:外型及电原理图见图3。采用MXO—400M6×1×12螺纹磁心,在直径8毫米的聚苯乙烯塑料骨架上,初级①—②用直径0.12毫米单丝纱包线顺时针蜂房绕法,每圈两折,计绕360圈;测量频率300千赫,加磁心电感量为1.2毫亨,Q,直流电阻欧。次级③—④用直径0.07毫米×7纱包线顺时针蜂房绕法,每圈两折,计绕110圈;测量频率1兆赫,加磁心电感量为0.25毫亨,Q,直流电阻罚詈舷凳齂=0.15~0.18。

2.振荡线圈:见图4。采用与天线线圈相同的骨架及磁心,用0.12毫米单丝纱包线顺时针蜂房绕法,每圈两折,①—③绕96圈,①—②绕82圈,②—③绕8圈。测量频率1兆赫,加磁心后电感量①—③为0.14毫亨,Q,直流电阻罚佟诘绺辛课0.11毫亨。

3.输出变压器:电原理图见图5。用E型厚0.35毫米D42号硅钢片迭成截面积14×16平方毫米的铁心,在铁心上采取顺时针普通分层绕法,以减低高频漏感,初级线圈Ⅰ及Ⅲ以直径0.125~0.13毫米漆包线各绕1570圈;次级线圈Ⅱ以直径0.56~0.58毫米漆包线绕82圈。测量频率150赫的电感量>6亨。直流电阻①~④为360~520欧,⑤~⑥为0.54~0.66欧。

4.电源变压器:电原理图见图6。用E型厚0.35毫米D42号硅钢片迭成截面积22×32平方毫米铁心,在铁心上初级线圈Ⅰ及Ⅱ以直径0.25毫米漆包线顺时针各绕625±3圈,直流电阻24~30欧,次级线圈Ⅲ以直径0.83毫米漆包线顺时针绕40圈,直流电阻0.19~0.24欧。线圈Ⅳ以直径0.51毫米漆包线顺时针绕40圈,直流电阻0.49~0.6欧,线圈Ⅴ以直径 0.17毫米顺时针绕1400±5圈×2,直流电阻400~500欧。

四、使用与维护
1.本机在出厂时,电源电压一律按220伏连接,如需用110伏电源供电,应将220伏时的保险丝插片拔出,更换上机内所附110伏适用的保险丝插片。
2.机内要保持清洁干燥,防止受潮,在环境湿度较大的季节,宜每天开机使用1小时。
3.本机有相当高的灵敏度,在一般环境下收听时,不需将天线拖线放开,即可满足收听,以减轻环境干扰噪声。如需收听远地电台,可将天线拖线放开或加接室内或室外天线。但使用室外天线时必须装避雷设备,以防止雷击。 (宛愚,可诩)