关于怎样从调频信号中检出音频信号来,本刊已经介绍了一种方法,这就是双失谐回路鉴频器。但由于这种鉴频器非线性失真较大,调整比较困难,并且线路也比较复杂,因此目前在调频收音机中,已经很少采用,而应用较多的是双耦合回路鉴频器和比例式鉴频器。本文介绍双耦合回路鉴频器。
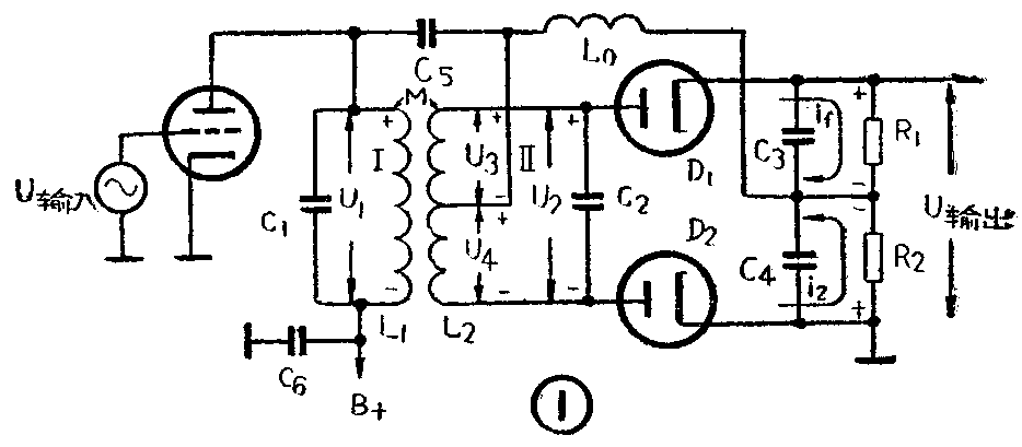
双耦合回路鉴频器的电路如图1所示。由图可见,这个电路的后面一部分,即二极管振幅检波器部分,基本上与双失谐回路鉴频器相同,其输出电压仍然由两个二极管检波器的负载电阻R\(_{1}\)和R2上的电压之差来决定。电路的前面部分,信号除通过L\(_{1}\)和L2线圈耦合外,还通过电容器C\(_{5}\)耦合,是一个双耦合谐振回路,它的谐振频率等于调频信号的中心频率(此处调频信号已经过变频,其中心频率即为超外差收音机的中频)。

为了说明工作原理,我们先分析一下二极管D\(_{1}\)和D2上的电压是怎么加上去的。
当调频信号加到双耦合回路上时,在线圈L\(_{1}\)上就产生一个信号电压U1,由于初次级回路的电感耦合,所以在线圈L\(_{2}\)上也产生一个电压U2。但由于L\(_{2}\)被中心抽头分成两半,所以电压U2也被分成两半,分别用U\(_{3}\)和U4来表示。另外,电压U\(_{1}\)也经电容器C5耦合到次级回路上。由于C\(_{5}\)对调频信号的阻抗很小,所以可认为U1直接加到次级回路L\(_{2}\)的中点。对调频信号而言,C3、C\(_{4}\)和C6可看成短路,L\(_{0}\)可看成开路,这样,从图1可看出,U1、U\(_{3}\)(或U4)、D\(_{1}\)(或D2)是串联的,因此加到二极管D\(_{1}\)屏阴间的电压是U1与U\(_{3}\)的代数和,加到D2屏阴间的电压是U\(_{1}\)与U4的代数和。如果L\(_{1}\)和L2感应的符号关系如图1所示,可以明显看出,U\(_{1}\)和U3是同方向加到D\(_{1}\)上的,而U1和U\(_{4}\)是反方向加到D2上的,因此加在D\(_{1}\)和D2上的电压分别为:U\(_{D1}\)=U1+U\(_{3}\),UD2=U\(_{1}\)-U4。
U\(_{1}\)是调频信号,它的频率随音频信号而变化。因此加到二极管D1和D\(_{2}\)上的总电压也要发生变化。下面分三种情况分析二极管上的总电压的变化情况,以及音频信号是怎样被检出来的。
第一,当调频信号的频率没有偏移,即双耦合回路处于谐振时的情况。这时初级线圈L\(_{1}\)上的电压U1,在次级回路上感应出一个电动势E(图1中未画出电动势E),E的相位与U\(_{1}\)相同(如果次级线圈的绕向倒过来,则E的相位与U1的相位相反)。
由于回路处于谐振情况,所以回路的感抗与容抗相等,回路呈现纯电阻性质。这时感应电动势E在次级回路中产生的电流I与E的相位相同。当I流过电感线圈L\(_{2}\)时,就在L2上产生一个电压U\(_{2}\)。因为电流在电感线圈上产生的电压的相位,是超前这个电流90°的,所以U2的相位比I超前90°,因而U\(_{2}\)比E也就是比U1超前90°(见图2a)。U\(_{3}\)与U4的相位,就是U\(_{2}\)的相位,因此我们可根据图2a曲线的相位关系画出U1+U\(_{3}\)的曲线,即画出UD1的曲线,如图2b。由于U\(_{D2}\)=U1-U\(_{4}\),所以把U4移动180°,即反相与U\(_{1}\)相加,就能画出UD2的曲线,如图2c所示。

从曲线U\(_{D1}\)和UD2可以看出,两个二极管的通流电流全是脉冲电流,而且两个脉冲电流的振幅相等,所以它们各自经电容C\(_{3}\)和C4滤波以后,就分别在检波负载电阻R\(_{1}\)和R2上产生两个相等的直流电压(即图2中的U\(_{输出1}\)和U输出2)。但由于流过两个负载电阻的电流(即图1中的i\(_{1}\)和i2)方向相反,所以U\(_{输出1}\)和U输出2的方向也相反。这时鉴频器的总输出电压是U\(_{输出1}\)和U输出2之差,因此为零。
第二,当调频信号的频率升高时,双耦合回路则处于失谐状态。这时调谐回路不是纯电阻,而是电感性,因此感应电动势E与它产生的电流I就不同相了,而电流I落后于电动势E(因而也落后于U\(_{1}\))一个角度(参看图3a)。电流I流过L2时,同样在L\(_{2}\)上产生一个比它超前90°的电压U2,结果U\(_{2}\)超前于U1的角度就小于90°。根据这样的相位关系画出的U\(_{D1}\)和UD2的曲线如图3b、3c所示。从图3b、3c可看出,这时加到二极管D\(_{1}\)上的总电压比加到二极管D2上的要大,因此U输出1大于U\(_{输出2}\)。由于总输出电压的U输出1—U\(_{输出2}\),因此这时鉴频器的输出为正。调频信号的频率向升高的方向偏移越大,回路失谐越严重,U1与U\(_{2}\)的相位关系变化越大,R1与R\(_{2}\)上的电压差别就越大,因而鉴颇器输出的电压也就越大。

第三,当调频信号的频率降低时,双耦合回路将处于另外一种失谐状况。这时由于调频信号的频率低于双耦合回路的谐振频率,因此回路的容抗大于感抗,回路呈电容性,次级回路电流I的相位超前于电动势E(因而也超前U\(_{1}\))一个角度(图4a)。电压U2的相位仍超前I90°,结果U\(_{2}\)比U1超前的角度大于90°。根据图4a的相位关系画出的U\(_{D1}\)和UD2的曲线如图4b、4c所示。由图可见,这时通过D\(_{2}\)的电流脉冲的振幅比D1要大,因此鉴频器的输出电压U\(_{输出1}\)—U输出2为负。调频信号向降低的方向偏移越大,输出电压就越负。

综合上述,调频信号的频率随音频信号的规律变化时,就使双耦合回路的初级电压与次级电压的相位关系发生变化,或者小于90°,或者等于90°,或者大于90°,从而使分别加到二极管D\(_{1}\)和D2上的总电压也不断变化。于是在检波器的负载电阻R\(_{1}\)和R2上,就得到与之相应变化的电压,而这两个电压之差,就是鉴频器的输出电压。当调频信号的频率升高时,输出电压为正;频率不发生偏移时,输出为零;频率降低时,输出为负。这种情况完全反映了调频信号的频率变化规律,从而也就反映了原来的音频调制信号的规律。这就是双耦合回路鉴频器的工作原理。
需要说明,这种鉴频器输出电压的振幅,不仅与调频信号的频率变化有关,而且还与信号本身的振幅有关。信号振幅越大,在双耦合回路上产生的电压U\(_{1}\)和U2的振幅就越大,因而输出电压的振幅就越大。如果调频信号在进入鉴频器之前受到外界干扰,使其振幅发生变化,即出现寄生调幅。这个振幅的变化就将和频率的变化一同被检出来,使输出电压失真。为此,在鉴频器前面要加一个限幅器,用来消除调频信号幅度的变化。
另外,由于双耦合回路也是一个谐振回路,所以当调频信号的频偏太大时,电压U\(_{1}\)和U2的大小也要随谐振特性曲线而变化,因此这种鉴频器只适合用于频偏较小的调频信号。
这种鉴频器的优点是传输系数较高,非线性失真较小。但因为要加一级限幅器,收音机的成本就比较高。所以目前只在较高级的收音机中采用,如电视接收机的伴音部分、路数不多的微波接收机等,此外,也常用在自动频率微调系统中。(琳田)