半导体管收音机采用超外差式电路可以得到比较高的灵敏度和良好的选择性。我们用图1来说明超外差式电路是由哪些部分组成的。其中的低频放大电路一般至少有二级:前一级用单管着重做低频电压放大;后一级则着重于功率放大,而且功率放大多半用两管组成乙类推挽电路。关于低频放大、检波以及高频放大电路,和一般再生式收音机中的一样,在本专栏的前几篇中都介绍过,所以在本篇中只着重谈谈本机振荡、混频和中频放大电路。

一、本机振荡电路
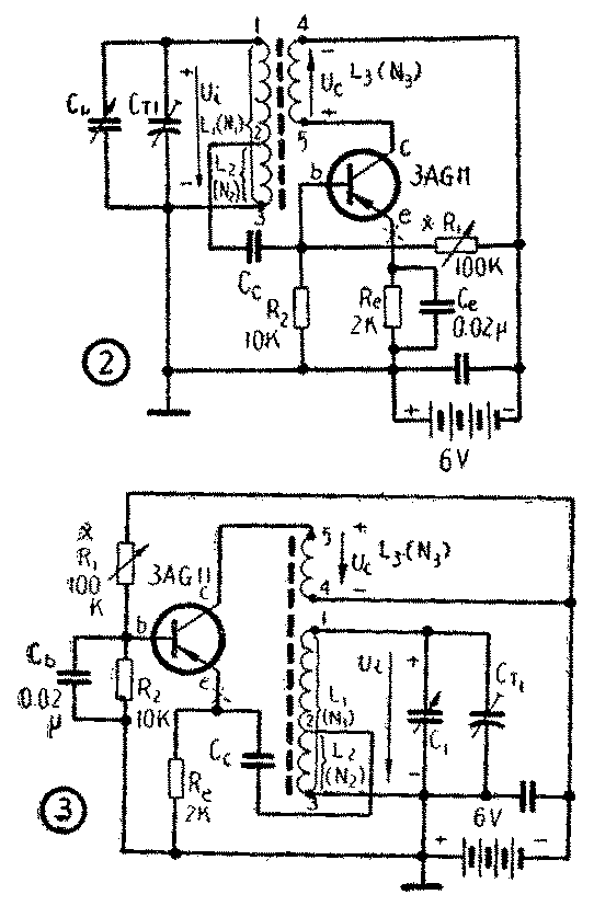
半导体管本机振荡电路型式也很多,不可能一一介绍,这里仅举半导体管收音机中最常用的两种电路作为例子(如图2、图3所示)。在图2中,C\(_{e}\)是高频旁路电容,它对高频电流而言是等于接向公共端的。调谐回路接在基极,因此输入端是基极——发射极,输出端是集电极——发射极。发射极是输出输入的公共端,故是共发射极电路。在图3中,基极被高频旁路电容器Cb所短接,基极逐为输出、输入的公共端,故是共基极电路。两图中的C\(_{c}\)是耦合电容,它的作用有二:首先是把调谐回路中的高频电流耦合到输入端,其次是隔断直流电源至调谐回路的通路,以防止电源通过线圈L2而将R\(_{2}\)或Re短路。R\(_{e}\)、R1、R\(_{2}\)是直流偏置电阻,用来得到合适的工作点。调节时可在图中有“×”处将发射极断开串入电流表,调节R1以得到需要的发射极电流I\(_{e}\)。

现以图2为例来说明振荡是如何产生的。接通电源时,由于振荡回路C\(_{1}\)、CT1、L\(_{1}\)中电子无规则的热运动,在回路两端是会出现一些微小的电流的,这电流包含极多的频率,但是只有频率和回路本身的谐振频率相同的那个电流能在回路两端产生较高的电压降,而其它频率的电流却被衰减了。这个微弱的高频电压一端从2点通过耦合电容Cc加到基极b,另一端通过R\(_{e}\)加到发射极e,从而被放大,引起集电极有较大的高频电流通过线圈L3而产生高频电压U\(_{c}\)。由于L3和L\(_{1}\)是绕在同一个磁心上的,通过感应也就使得L1上也产生感应电压U\(_{i}\)。如果L3和L\(_{1}\)两线圈绕的合适,将使得电压Uc通过感应在回路内引起的电流和原来回路的电流方向相同(即同相),因此回路中的电流被加强了,加强了的回路电流通过半导体管放大后又通过L\(_{3}\)感应反馈回来,再加强回路电流,如此重复下去,就产生了所谓“高频振荡”。当改变回路的可变电容器时,回路本身的谐振频率就会跟着变化,也就改变了振荡频率。所以超外差式收音机中的双连可变电容器,其中有一连就是用来使本机振荡频率能在一定范围,例如1015~2115千赫内变化(接收中波550~1650千赫时)。要能产生振荡必须使线圈L3和L\(_{1}\)的绕向和连接合适,即刚好使L3上的电压U\(_{c}\)通过感应所引起的回路电流和原来回路电流的方向相同,如接法不对,就会和原来电流方向相反,电流就越来越小,振荡就不会产生了。图中微调电容器CT1的作用是配合C\(_{1}\)使本振频率范围符合需要。其次L3和L\(_{1}\)的圈数、抽头比都很有关系,L3圈数少,电压U\(_{o}\)小,感应产生的Ui小,振荡不易产生。L\(_{1}\)抽头不合适,工作效率不高。最后,半导体管直流工作点也要合适,以保证半导体管有较大的放大量。一般圈数比要求为:对图2而言约N2/N\(_{1}\)=1/7~1/10,N3/N\(_{1}\)=1/10~1/15;对图3而言约N2/N\(_{1}\)=1/5~1/8,N3/N\(_{1}\)=1/10~1/15。工作点一般是以直流发射极电流Ie调在0.5~0.8毫安左右为宜。另外也有根据集电极电流来调整工作点的。
二、混频和变频电路
在得到本机高频振荡后,还必须设法使它和外来电台信号差拍而得到中频。这可以用一个管子专产生本机振荡,而用另一个管子把信号和本机振荡混频;或者更简单一些,就用一个管子既产生振荡又进行差拍。习惯上前一种方式称为混频,后一种方式称为变频。混频时,两管各有分工,故性能可靠、工作稳定,特别适用于短波。变频则仅用一个管子,故具有线路简单经济的优点。
变频时,可以把本机振荡信号和用台信号送到半导体管的两个电极上去(见图4),譬如说是发射极加有本振信号,基极输入电台信号,如工作点合适,会使得集电极电流中包含有这两种信号差拍的频率成分。也可把两种信号都送到一个电极上去,例如加到基极(见图5),则在基极中既有电台信号频率成分,又有本振信号的频率成分,同样会在集电极电流中包含这两种频率的差拍。

为了把这差拍(中频)分出来,我们在集电极电路中连接了一个调谐回路(图4、5中的L\(_{4}\)、C4)。把这个调谐回路调谐在中频,就可在回路两端取出中频信号,然后通过次级线圈把中频电压耦合到第一级中频放大电路去放大。这个调谐回路加上次级就称为中频变压器。变频电路的负载就是第一中频变压器。一般对混频管I\(_{e}\)可取0.2~0.4毫安,变颇管电流应该稍大,可取0.3~0.6毫安左右。
三、中频放大电路
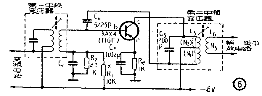
有人誉为中频放大器是超外差式收音机的心脏,其实确不夸张。如整机的增益,大部分赖自中放,相邻电台的选择性和适当的通带宽度亦由中放解决。半导体管中放和电子管中放比较,有很多相同点,例如:这两种电路都着重于使增益最大,电子管常用共阴极电路,半导体管用共发射极电路;工作区域都是准线性放大,同时它们都将负载设计为近于最佳耦合匹配情况等等。它们也有许多不同点,例如:(1)半导体管着重在功率放大,输出端要求近似匹配,故中频变压器须抽头联接;(2)半导体管输入电阻较低,为了避免影响回路选择性,以及为了减小回路损耗,一般都采用单调谐回路;(3)半导体管由于集电结电容而有反馈作用,必须设法加一电容来中和,以避免输出端变化影响输入端的工作,如果不加中和,会因输出反馈到输入而引起中频振荡。图6即示出半导体管中放级的具体电路,容易看出它采用单调谐回路,初级是抽头联接,同时加了中和电容C\(_{n}\)(一般在4~10微微法左右)。由变频电路送来的中频信号通过第一中频变压器送入基极,被半导体中频放大管放大后由第二中频变压器送到第二级中放电路去。中频调谐电容器C5目前多选用200微微法的,这个电容大一些,受分布参数的影响较小,对稳定性有好处,但过大了对增益不利。市售中频变压器(简称中周)成品如友谊XZP型或上海出品的都是配200微微法的。前者用在3AX4(П6Г)上较好,后者可用在一些扩散管上,如3AG11(П401)等。中频变压器的圈数比大致可在下列范围内选择。第一中周:N\(_{3}\)/N1=1/12~1/8,N\(_{2}\)/N1=3/10~4/5。第二中周:N\(_{3}\)/N1=1/10~1/6;N\(_{2}\)/N1=3/10~1/2。第三中周:N\(_{3}\)/N1=1/6~1/4,N\(_{2}\)/N1=3/10~1/2。中放电路工作点选择:第一中放因须加自动音量控制,I\(_{e}\)须较小,一般在0.3~0.6毫安左右;第二中放为求增益高一些,Ie一般可取在0.6~0.8毫安左右。中和电容接在初级时一般小于8微微法,如接在次级则约为集电极电容的N\(_{2}\)/N3倍,约在几十微微法范围内。要注意中和电容的一端在初级应接在高频低电位,而在次级则必须接在和初级反相的那一端,这可用试验确定。

四、超外差式收音电路的分析
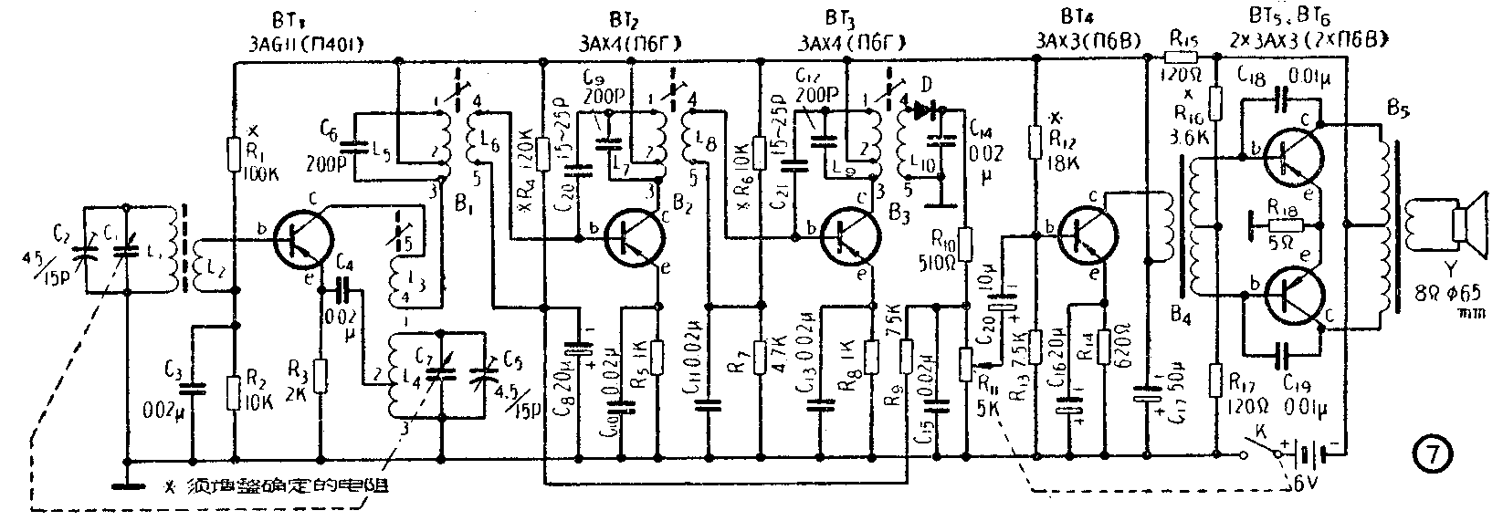
在图7中我们列出了典型的六管超外差式收音机的电路。现在我们从输入端看起,L\(_{1}\)和L2是绕在磁性天线上的,其中L\(_{1}\)和C1、C\(_{2}\)组成输入调谐回路,它的谐振频率应满足所收听的波段要求,如中波即为550~1650千赫。C1可采用国产超小型双连(如复旦250/12pF)中较大的即动、定片较多的那一连。BT\(_{1}\)采用3AG11(П401)扩散管,它的截止频率至少要高于10兆赫(对中波段而言)。利用R1来调节合适的工作点。需要的电台信号从输入回路L\(_{1}\)、C2、C\(_{1}\)选出,通过L2送入BT\(_{1}\)基极。另外由L4、C\(_{5}\)、C7组成本机振荡回路,振荡电流通过C\(_{4}\)注入发射极,这对本机振荡来讲是共基极电路。在BT1管中进行变频后经第一中周B\(_{1}\)选出中频信号送向第一级中频放大电路。在图7中振荡线圈和中周都采用友谊牌售品,其中XZhQ是本机振荡线圈,其接线端子号码已在图中标出(见L3,L\(_{4}\));第一、二、三中周(B1\(_{2}\)3)分别为XZP—10,XZP—20, XZP—30。在第一、二级中放电路中,集电极负载均采用单调谐中频回路,应严格调在中频465千赫,否则谐振曲线不对称,容易引起失真。C\(_{2}\)0、C21是中和电容器,应该把它们调到没有中频自激振荡,即没有啸叫声而音量最为宏大为止。中频管可选用扩散管(如3AG11)或合金结管(如3AX4),前者增益大,但工作稳定性不如后者。中放管截止频率至少要在1兆赫以上,否则中放增益太低。中频信号通过第三中周B\(_{3}\)由L10耦合到检波二极管D,在检波负载R\(_{1}\)0、R11上取出低频信号送至BT\(_{4}\)进行电压放大,R11是5K电位器兼作音量控制。另外R\(_{9}\)、C8组成自动音量控制电路,控制第一中放BT\(_{2}\)管偏流。当电台信号强时,R9上反向偏压大,使得BT\(_{2}\)增益自动降低,音量减小。由检波级取得的音频电流通过耦合电容C20加到BT\(_{4}\)进行低频放大,为了使收音机低频音质也好,C20取得较大(10微法)。音频信号通过BT\(_{4}\)放大后,再由级间变压器B4耦合到末级推挽功率放大电路(BT\(_{5}\),BT6)。由于半导体管输入电阻低,输出电阻高,为了要达到高的传输效率,在BT\(_{4}\)和末级之间采用级间变压器耦合。前置放大管BT4最好选用反向饱和电流I\(_{co}\)小一些的(一般是几微安),使工作稳定;另外希望电流放大系数β最好大一些,增益可高一些。音频信号通过变压器B4进入BT\(_{5}\)、BT6组成的乙类推挽放大后,由输出变压器B\(_{5}\)送到小扬声器Y放出声来。对于BT5、BT\(_{6}\)的选用,一方面希望Ico尽量小一些,使工作稳定性好,另一方面要求两管特性对称,即在工作点及其运用范围内两管的电流放大系数β尽可能相同或相近,否则失真会大,声音就不好听了。另外由R\(_{15}\)、C17组成电源滤波器,以防止通过公共电源内阻引起的寄生反馈,而使整机工作不稳定,甚至产生寄生振荡。此外由C\(_{18}\)、C19组成的负反馈能使高频多衰减一些,因为半导体管收音机一般采用口径较小的喇叭,对高音灵敏度高,如不衰减,声音就嫌太尖脆,音质不美。也有在B\(_{5}\)上并联一只0.04~0.05微法左右的电容器的,但效果不如前者。(良木)
