我们用两个电接触式水银温度计、一个电加热器,与恒温自动控制仪配合制成了一套恒温自动控制装置。这个装置可放在计量室或一些精密加工车间,以保持室内温度在某一恒定的范围。该装置的优点是电路简单,同时控制灵敏度也比较高,当室温为20℃时,变化范围可控制在±1℃以内。
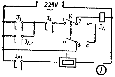
控制电路如图1所示。图中H是一个电加热器,H接上电源,则给室内加热,使室温升高;断开H的电源,则室温逐渐降低。图中K是一个双刀双掷转换开关。自动调整室温时,应特K打在左边,使1与2接通。当开关K打在右边时,自动控制部分便失去作用,电加热器就一直和电源接通,而给室内加热。这部分的工作原理,下面将结合恒温自动控制仪一起介绍。

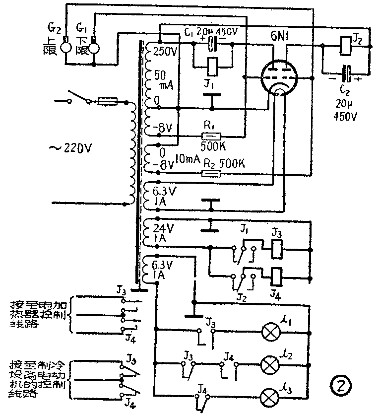
恒温自动控制仪的电路如图2所示。图中G\(_{1}\)和G2是两个测量范围为+16°~+25℃、0.2℃刻度的电接触式水银温度计,它们就作为感温元件,G\(_{1}\)调整到+19.2℃,控制下限温度;G2调整到+20.8℃,控制上限温度。

电源变压器次级绕组第一组为258伏,在8伏处抽头并接地,使这一绕组的上端与下端电压处于反相状态;而第二个8伏绕组与第一个8伏绕组接法相同,因而也与250伏电压处于反相状态。
当室温低于+19.2℃时,两个电接触式水银温度计均不接通,这时与250伏反相的二个8伏电压分别加到电子管6N1的左、右栅极上。当屏极电压为正时,因为两栅极上均有8伏的负电压,因此屏流很小,不超过0.2毫安;当屏极电压为负时,屏流截止。屏极电路中串联的高灵敏继电器J\(_{1}\)和J2(线圈电阻为3000欧,触点是一常开一常闭),是8毫安吸动、小于5毫安释放的,因此这时J\(_{1}\)和J2均不动作,它们的常闭触点闭合,使中间继电器J\(_{3}\)和J4(522型,触点二常开二常闭)动作。这时J\(_{3}\)、J4的常开触点闭合,Л\(_{1}\)蓝色指示灯亮,指示室温在下限以下;J3、J\(_{4}\)的常闭触点打开,Л2与Л\(_{3}\)指示灯均不亮;同时由于接至电加热器控制线路中的J3及J\(_{4}\)常开触点均闭合,因此使JA交流接触器动作,J\(_{A1}\)和JA2均闭合。J\(_{A1}\)闭合后,则接上电加热器H的电源,使室温渐渐升高;JA2闭合后,使交流接触器自锁。
当室温上升至+19.2℃及以上时,G\(_{1}\)接通,这时电子管左面的栅极与阴极处于同电位,因此,当屏极电压为正时,屏流很大(不小于11毫安),使J1动作,并且也使电容器C\(_{1}\)充电;当屏极电压为负时,C1放电,J\(_{1}\)仍维持可靠地动作,J2则仍不动作。这时,J\(_{1}\)的常闭触点打开,J3释放,J\(_{4}\)仍处于动作状态。J3的一个常开融点打开,使Л\(_{1}\)指示灯熄灭;J3的常闭触点复原闭合,因为J\(_{4}\)的常开触点仍是闭合着的,因此乳白色指示灯Л2亮,指示室温处于正常恒温。这时,接至电加热器控制线路中的J\(_{3}\)常开触点虽然打开,但因JA2已经自锁,所以电加热器仍不断电而继续加热。
当室温上升至+20.8℃及以上时,G\(_{2}\)也接通,使电子管右面的栅极与阴极也处于同电位,这时J2动作,因此,J\(_{2}\)的常闭触点打开,J4释放。J\(_{4}\)的一个常开触点打开使Л2熄灭;J\(_{4}\)的常闭触点复原闭合,红色指示灯Л3亮,指示室温处于或高于上限温度。这时,接至电加热器控制线路中的J\(_{4}\)常开触点打开,断开电加热器电源,停止加热,JA的自锁也打开,室温逐渐下降。
若室温下降至+20.8℃以下时,G\(_{2}\)断开,电子管右面栅极又加上与屏压反相的8伏电压,屏流显著减小,J2释放,J\(_{4}\)又动作,J4的常闭触点断开,Л\(_{3}\)熄灭;J4的常开触点闭合,Л\(_{2}\)又亮,指示室温又回复正常温度。这时接至电加热器控制线路中的J4常开触点虽又闭合,但因J\(_{3}\)的常开触点仍断开,电加热器电源不能合上去,故不加热。
当室温再下降至+19.2℃以下时,G\(_{1}\)也断开,电子管左面栅极又加上8伏反相电压,屏流显著减小,J1也释放,J\(_{3}\)又动作,J3常闭触点打开,Л\(_{2}\)熄灭;J3的一个常开触点闭合,Л\(_{1}\)又亮,指示室温在下限以下,同时接至电加热器控制线路中的J3常开触点闭合,使J\(_{A}\)动作,再接上电加热器电源加热,JA2又自锁,室温又逐渐上升。如此反复动作,便可使室温始终保持在20°±0.8℃恒温范围内。
在图2中,继电器J\(_{3}\)和J4各有一个常闭接点没有利用,如果将这两个接点接到制冷设备电动机的控制线路中去,便可强迫室温下降,这样比只断掉电加热器的电源,而使室温自然冷却效果更好。
如果要求室温保持在20°±2℃或20°±3℃,仍可采用上述的控制方式,只需按恒温范围,改变两个电接触式水银温度计的“下限”和“上限”的数值就可以了。
如要用于其他温度范围的控制,则只需选用两个适当刻度的电接触式水银温度计,根据温度要求调整其“下限”和“上限”值,便可以将温度控制在所要求的范围内。(张嘉强)