十进位计数管是一种多阴极的气体放电管。图1是双脉冲十进位计数管的结构示意图。靠近玻璃管泡顶部平放着一个圆片状的阳极。围绕着阳极,等距离的安置着30个棒状阴极。这些棒状阴极分成三组,每10个一组。其中一组称为指示阴极(K\(_{1}\)、K2……),另外二组分别称为第一导向极(1g\(_{1}\)、2g1……)和第二导向极(1g\(_{2}\)、2g2……)。指示阴极、第一导向极和第二导向极顺次交替放置。同组阴极在管泡内用阴极环连在一起,环上有引线接到管脚,只有零阴极K\(_{0}\)例外,它单独接到管脚上,作为输出阴极。

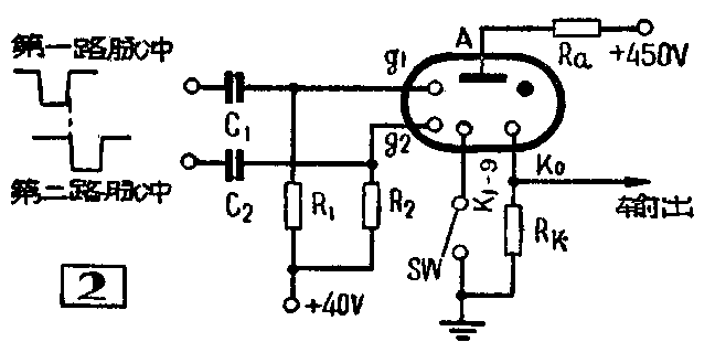
图2是双脉冲十进位计数管的连接电路。十进位计数管的电源电压(450伏)应高于它的起燃电压,第一导向极环和第二导向极环通过去耦电阻R\(_{1}\)和R2加有+40伏的偏压。这样,当断开开关SW时,管内就只有阳极A与零阴极K\(_{0}\)间的电压最高,于是K0起辉,辉光处于与K\(_{0}\)位置相对应的数字“0”上,这表示没有脉冲输入。

如果合上开关SW,并在第一和第二导向极环上,分别加一个宽度为40~80微秒,幅度为-80伏的负脉冲(两路脉冲按先后顺序加上去),那么辉光放电就由K\(_{0}\)通过1g1和1g\(_{2}\)转移到第一指示阴极K1上去了。这时辉光就处于与K\(_{1}\)的位置相对应的数字“1”上,表示有一对脉冲输入。由于需要在g1和g\(_{2}\)环上分别加一个负脉冲,才能使辉光由一个指示阴极转移至下一个指示阴极;又由于每输入十对负脉冲,辉光位置就回到零位(K0),同时在K\(_{0}\)电路中输出一个进位脉冲,使下一个十进位计数管中的辉光由K0转移至K\(_{1}\)(即由0转移至1),所以称这种管子为双脉冲十进位计数管。这种管子的工作原理,本刊1963年第5期已有过详细介绍。下面介绍一下十进位计数管的一些应用电路。
记录脉冲数目
用双脉冲十进位计数管可以记录脉冲串的脉冲数。为了使每输入一个脉冲,计数管中的辉光便转移至下一个指示阴极,可使用图3所示的电路。当电子管G\(_{1}\)的栅极加一个正脉冲时,由于电子管的放大和倒相作用,在屏极上便得到一个幅度更大的负脉冲,它通过电容器C2和电阻R\(_{4}\)加到g1环上,同时还通过R\(_{3}\)使C4充电。时间常数R\(_{3}\)·C4选择得使在输入脉冲的持续时间内,C\(_{4}\)两端上的电压升高到最大值。如此,当g1环上的负脉冲结束后,在g\(_{2}\)环上便加上一个负脉冲,所以每输入一个脉冲,就使计数管上的辉光转移至下一个指示阴极。图中C3的作用是加速辉光由g\(_{1}\)转移至g2,因为g\(_{1}\)的放电电流对C3充电,便减小了A与g\(_{1}\)间的电压。

如果要计数的脉冲数目远大于10,可将十进位计数管逐级级联起来。级数视需要计数的脉冲数而定。n个十进位计数管级联起来所能计的最大脉冲数为10\(^{n}\)—1。例如用3个计数管级联起来,其最大计数脉冲数为103-1=999。
记录正弦电压的周期
双脉冲十进位计数管除能够记录脉冲数目外,还能记录正弦电压的周期数。其电路如图4a所示。在第一和第二导向极环g\(_{1}\)和g2上都不加正偏压,在第一导向极环上接有移相电路CR\(_{1}\)。我们知道,当电压e加在电容器的两端时,流过电容器的电流将导前于电压90°。如果与电容器串联一个电阻,那么电流导前于电压的角度就减小,电阻越大,导前的角度就越小。电阻两端所产生的电压与电流是同相的,由于流过电阻R1上的电流导前于输入电压e,因此R\(_{1}\)两端的电压(即g1环上的电压)也就导前于输入电压e。又由于输入的正弦电压e是直接加到g\(_{2}\)环上的,g2环上的电压显然与e同相,因此它必落后于g\(_{1}\)环上的电压。设移相电路CR1产生60°的相移,则g\(_{2}\)和g1环上的电压将如图4,b所示。


当正弦电压为正峰值100伏(A点)时,由于g\(_{1}\)、g2环上的电压均大于+40伏,相当于加上正偏压,因此这时辉光不能转移。当e下降至零时,g\(_{2}\)环上相当于不加电压,而g1环上的电压约为-80伏(B点),这就相当于给g\(_{1}\)环先加了一个负脉冲。当e继续降低而到达负峰值时(C点),g2环上相当于加上-100伏的电压(即加上了一个负脉冲),而g\(_{1}\)环上的电压已经升高,即相当于加到它上面的负脉冲将要结束的时候。当e回到正值时,g2环上的电压升高,也相当于负脉冲结束。这时辉光便转移至K\(_{1}\)。如此,正弦电压每变化一周,辉光便转移至下一指示阴极。
计数管能够记录脉冲或正弦波的数目,在实际中应用很广,因为只要通过各种传感器把待测量的变化变成电脉冲或正弦波,就可用计数管来计数。例如工业产品常需要自动计数,为此,我们可将产品放在传送带上,在传送带的一侧放置光源,另一侧放置光电管。当产品随着传送带移动而遮断射至光电管的光线时,光电管便输出一个脉冲。将光电管输出的脉冲接至计数管电路,就可记录产品数量。测风速时,可使风车与发电机相连。风车旋转便使发电机发出相应频率的正弦波电压,送入正弦波输入的计数管电路,即能测得风速。此外,一般指针式电表只能粗略地读出三位有效数字。倘使用多级计数管电路来代替指针读致,则可大大提高读数的精确度等等。
分频器
大家知道,一般高稳定的振荡频率只能利用石英振荡器来获得,可是这种振荡器的频率下限为几千赫。为了得到测量中所需要的稳定的低频,只有使用分频器。用十进位计数管可以构成不同分频系数的分频器。
图5a是10∶1的分频器电路。由于g\(_{2}\)上接有R2C\(_{2}\)积分电路,因此g2上出现输入负脉冲串的时间比g\(_{1}\)落后,也就是说,每输入一个负脉冲,g1和g\(_{2}\)上按时间先后便都加上一个负脉冲,这时辉光便由一个指示阴极转移到下一个指示阴极。每输入10个脉冲,辉光便转回K0,这时K\(_{0}\)电路中的RK上就有电流流过,并输出一个脉冲,故得10∶1分频。

为了保证在下一个脉冲来到时,被前一个脉冲充电的C\(_{2}\)来得及放电,使g1、g\(_{2}\)均处于正偏压+Eg,不致因C2来不及放电,而又被相继输入的脉冲充电,使g\(_{1}\)、g2在各脉冲输入时处于不同的正偏压,影响计数管的正常工作,在电路上接了一个二极管D。在脉冲间歇期间,由于D的正向电阻很小,C\(_{2}\)上累积的正电荷便迅速通过D漏掉,使导向极处于原来的直流偏压(+Eg)下。
如果使用每个指示阴极都单独引出至管脚上的多输出型(换接型)计数管,那么每个指示阴极均可作为输出电极。如果将各指示阴极按不同的方法连接起来,就可以得到10~2的分频系数。例如在图5b中,把K\(_{0}\)、K2、K\(_{4}\)、K6、K\(_{8}\)接成一组,把K1、K\(_{3}\)、K5、K\(_{7}\)、K9接成另一组,每组分别接有电阻R\(_{k1}\)和Rk2,而在R\(_{k1}\)上接输出端,则得2∶1分频,因为在第2、4、6、8、10、12等脉冲到达时,Rk1上都有电压输出。把K\(_{0}\)和K5连接,再把K\(_{1}\)、K2、K\(_{3}\)、K4、K\(_{6}\)、K7、K\(_{8}\)、K9接在一起,并以K\(_{0}\)、K5电路中电阻上的电压降为输出电压,则得5∶1分频。

加减法电路
利用十进位计数管可以构成加减法电路。加法电路是利用十进位计数管的“正转”计数(前面所讲的各种工作情况均为正转),例如,当第1次输入5个脉冲,第2次输入4个脉冲时,计数管上的辉光便依次由K\(_{0}\)转移至第9指示阴极K9,表示两次输入脉冲之和为9。
减法电路则是利用十进位计数管的“反转”计数。如果要使第1次输入的5个脉冲减去第2次输入的4个脉冲,那么只要使计数管在第1次输入5个脉冲时作正转计数。而在第2次输入4个脉冲时作反转计数,辉光最后便停留在K\(_{1}\)上,表示两次输入脉冲之差为1。
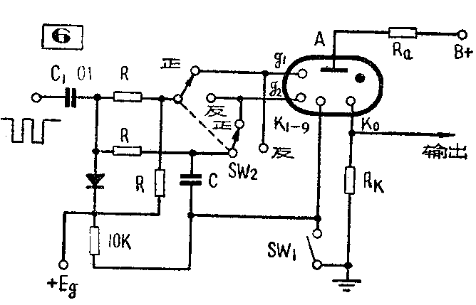
怎样才能使双脉冲十进位计数管反转计数呢?如果回想一下它是怎样正转的,就不难回答这个问题。正转的时候,是先将负脉冲加到g\(_{1}\)上,然后再将经过延迟的负脉冲加到g2上。如果将这两个脉冲的时间顺序倒过来,即先把负脉冲加在g\(_{2}\)上,然后再将经过延迟的负脉冲加在g1上,那么辉光便按K\(_{9}\)、K8、K\(_{7}\)……的方向转移,即反转。
反转变换电路分手动和自动两种。手动变换电路如图6所示。它与图5相似,只是增加了一个双刀双掷开关SW\(_{2}\)。当开关扳至正转时,积分电容器C接至g2,g\(_{2}\)上所加的负脉冲比g1上的负脉冲落后,因此辉光朝K\(_{0}\)、K1、K\(_{2}\)的方向转移。如果SW2扳至反转,电容C就接至g\(_{1}\),辉光便朝K0、K\(_{9}\)、K8……的方向转移。

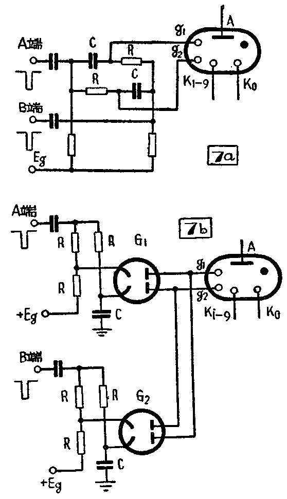
自动变换电路如图7所示。在图7a中,计数管的g\(_{1}\)和g2上并联着两套积分延迟电路,一套使加在g\(_{2}\)上的脉冲对g1延迟,另一套则使g\(_{1}\)对g2延迟。因此,如果在A端输入计数脉冲,计数管就正转;若改在B端输入,计数管就反转。图7b中使用了两个二极管,是利用它的高反向电阻,隔离两套延迟电路,使它们之间的牵连减至极小。

比较器
为了自动控制某一对象的位置或电动机的转速等,必须把实际的位置和速度与规定的位置和速度进行比较,两者之差用比较器变成控制信号,作用在调节被控对象的机构上。如果规定的状态和被控对象状态的信息都是在时间上分布的电脉冲串,则可用计数管电路作为比较器,它的电路示于图8。图中R\(_{1}\)=R3,R\(_{2}\)=R4,R\(_{5}\)=R6,C\(_{1}\)=C2。

A端输入的正脉冲,经电子管G\(_{1}\)放大和倒相后加至g1、g\(_{2}\)。由于g2接积分电容器C\(_{1}\),其上的电压滞后于g1,所以辉光正转。同样,B端输入的正脉冲则使辉光反转。如果两个输入脉冲串的重复频率相同(f\(_{1}\)=f2),且同时加至A、B端,那么因为第1个脉冲同时加至g\(_{1}\)、g2环上,而经延迟后的第2个脉冲也同时加在g\(_{1}\)、g2环上,所以辉光仍停留在原来的指示阴极上。当f\(_{1}\)大于f2时,辉光正转;而当f\(_{1}\)小于f2时,则辉光反转。使用这种比较器,即使A、B两路输入脉冲的重复频率相差几赫,也能指示出来。(王懋诩)