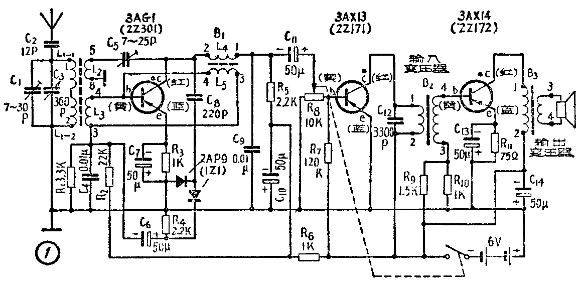
随着无线电工业的发展和人民群众需要,国产的普及型半导体收音机品种、数量日益增多。这类收音机一般是高效来复式三管机,已经大量供应的有宝石4B2型、东湖B一31型、飞乐2P1型、珠江SB3—1型等近十种。这些收音机各有特色,但电路程式基本是相同的。这里以宝石4B2型三管机(电路如图1,参见1964年第6期介绍)为例,谈谈这类收音机的维修方法。

故障寻找
检修来复式三管机时,首先应测量所用干电池的电压,一般不宜低过额定值的70%,即电池为6伏的,电压不应低过4.2伏。其次应测量全机总消耗电流。这类收音机末级都是采用甲类输出,整机正常耗电力20~30毫安。在测得电池电压正常后,为了迅速查出故障所在,可以采用下面两种方法进行:
一、直觉检查用 手捏着小螺丝刀的金属杆去触碰各级半导体管的基极(应注意不可以碰到其他元件),从扬声器里听人体感应声音的大小,来判断各级故障所在。可先用螺丝刀去触碰功率放大管的基极,这时能在扬声器里听到“咯咯”声,则功率放大级工作正常。再用螺丝刀去触碰前置低频放大管的基极,听到的“咯咯”声比前更响,说明这一级工作也正常。再用同法碰试高频放大管的基极,如听到更大的“咕咕”声,则为工作正常,这样故障可能是在调谐电路中。但在查到那一级不响时,则故障应在这一级里寻找。
二、电压测量一般确定故障,可以检查各级半导体管的集电极电流。但是这样往往要将电路断开,才能串入电流表测量,既费时又容易损坏元件。采用电压测量的方法则比较方便,只要将电压表或万用表的电压档,按照被测机的电源额定电压选择适当量程,将正表笔接收音机电池正端,用负表笔去测半导体管各极的电压是否正常。例如宝石4B2型机,各半导体管的各极电压正常值如下表。检查时发现哪一管的哪一极电压不正常,则可从这一极电路中去寻找故障。

常见故障
一、完全无声
1.电源部分:测得总消耗电流为零时,可能是①电池接触不良或用完;②电源接线开路;③电源开关接触不良或损坏。测得总消耗电流过大时,可能是①电源接线短路5②电源去耦合电容器(C\(_{14}\)或C10)短路。
2.功率放大级:①测得总消耗电流值正常时,可检查扬声器接线或音圈断线。②测得集电极电压为零时,可查输出变压器初级开路或断线。③测得基极电压为零时,可查基极偏流电阻R\(_{9}\)开路或R10短路,以及输入变压器次级开路。
3.前置低放级:①测得集电极电压为零时,检查输入变压器初级开路或接线断开。②测得总消耗电流值正常时,可查基极信号耦合电容器C\(_{11}\)是否开路。
4.高放来复级:①测得集电极电压为零时,可查集电极至检波级耦合电容器C\(_{8}\)是否与地短路。②测得集电极电压小至0.1~0.2伏时,可查高频扼流圈L4是否开路。③测得基极电压为零时,可查基极输入线圈L\(_{3}\)或偏流电阻R2开路。
5.调谐部分:一般是天线线圈L\(_{1}\)开路、短路或接线断开。这时测量整机电压、电流值还是正常的。
二、啸叫声
在来复式三管机电路中,为了提高高放增益,一般都在高放级加有正反馈,即再生电路,而且都为半固定式的。因此在再生调得接近临界点,或是电源电压、环境温度发生变化时,都容易引起再生过强,出现啸叫。这种故障一般是在以下情况产生:
1.更换新电池后,电源电压升高超过额定值(新电池每节一般可达1.6~1.7伏),使高放管基极偏流升高,集电极电流增大,引起再生过强产生啸叫。
2.调谐电路的元件或接线与再生电路的元件或高频扼流圈位置移动,会产生高频耦合,引起再生过强啸叫。例如宝石4B2型机的L\(_{1—1}\)与L1-2黄色接线,及L\(_{1}\)-1与单连电容器定片端的白色接线过分靠近高频扼流圈时,就会引起啸叫。
3.环境温度升高,或高效管的β值变高,会使集电极电流增大,引起再生过强啸叫。
上述故障一般可从减小再生电容G5的容量来消除。但有些是高频管的β值变化很大,稳定性太差,这时则须更换高频管解决。另外有时啸叫伴有汽船声,则多是电源电池使用日久,降压后内阻升高,或是电源去耦合电容失效引起。所以在检修啸叫声时,首先应测量电池电压是否正常,然后再去调节再生电容,或整理电路接线。对在波段的频率低端出现啸叫,可减小高频扼流圈电感,或将它的位置移动,使它离开天线线圈远一些,至啸叫停止再固定。例如飞乐2P1型机可按底板上的槽移动后再固定。宝石4B2型机可将高频扼流圈的铁粉心旋出些,甚至可以取去不用,以减小电感。
三、失真
1.测得总消耗电流值正常,整机选择性亦较好,这时失真度达到16%~30%,一般是再生调得过于接近临界点所产生的,只要将再生电容器调小一点即可改善。如仍有失真现象,则是功率放大管β值过低所引起。β值愈低,失真度愈大,甚至可达40%左右,这时只好更换新功率放大管。
2.测得总消耗电流下降,而且失真夹带沙哑,音量小,多是电池电压下降过大所引起,应当更换新电池。
3.开始收听时工作正常,收听十分钟到半小时后音量减低,且沙哑失真,测量总消耗电流值增大,这时触试功率放大管烫手。如将电源断开;待功率放大管冷却后再唱又恢复正常。这多是功率放大管集电极电流因环境温度升高而增大,严重的甚至接近击穿。这时应将它的偏流调小,或更换新管。
4.检波负载电阻变值,也会弓起失真,一般是阻值愈高、失真愈大。例如宝石4B2型机为提高音质,如将R\(_{4}\)由2.2千欧改为560欧,可大大改善大信号失真。
5.前置低放级输出过大,也会引起失真,一般是集电极电流增大所致,可以减小基极偏流来改善。
四、灵敏度低
来复式三管机的灵敏度一般为5~15毫伏/米,调到最佳可达0.5毫伏/米。但当它的电源电压下降为额定电压的75%,灵敏度将下降到25~50毫伏/米。所以检修灵敏度低时,应首先测量电源电压。
1.测得电源电压正常,常见为再生增益不足,影响灵敏度下降,一般可用增加再生电容量来提高,如遇再生不起作用,多为再生电路开路或再生线圈两头接反。
2.在波段的频率高端和低端灵敏度出现不均匀,可以重新反复调试再生电容与高频扼流圈电感来改善。
3.在维修中,也可以适当加大检波负载电阻R\(_{4}\)的阻值,以提高第一低放音频输入,或增加高放输入回路线圈L3的圈数,以提高传输系数,来提高整机灵敏度。但前者必须不影响大信号失真,后者不影响选择性。
五、选择性差(即串台)
1.除了近地有强力电台大信号输入,必须利用磁性天线的方向性来改善外,多是由于天线线圈的Q值下降引起。常见的是用多股线绕制的线圈有几股断线,或短路、受潮所致。
2.再生增益随电源电压降低而下降,影响全机灵敏度,特别是频率低端、中部(1000千赫)选择性变差。这可加大再生和增加高频扼流圈的电感量来改善。
3.如上述两点都是正常的话,将输入线圈L\(_{3}\)拆除几圈,可以使选择性得到改善。
六、噪声大
在简易型的半导体机中,“沙沙”的噪声一般是难以避免的,除了过大的噪声是由于半导体管的特性不良,必须更换管子解决外,一般在电路中增加某些元件,也可以改善。
1.在高放管或前置低放管的集电极与基极之间加接一只120~470PF电容,噪声可以降低。
2.前置低放级的增益过高,常会引起噪声增大,可以由减小这一级的偏流来改善。例如宝石4B2型机的R\(_{7}\)可选用80千欧至120千欧值,使偏流较低,以改善噪声。另外在它的集电极电路中串联一只1000~1500欧电阻,降低集电极电压,也可使噪声得到改善。
3.检修时将来复低放与前置低放级的耦合电容器断开(即宝石4B2型机中的C\(_{ll}\),也可只将它的电位器R8关小),来区分噪声产生于哪一级。开路后噪声显著减小或消除,则是由高放管产生的。如仍有则是由前置低效管产生的。
其他
1.工厂生产的半导体三管机,所用半导体管多是经过选择,按不同的β值分类搭配使用,以达到一定的性能指标。半导体管的β值是在管顶以色点为标记(见图2)。各种色点代表的β值意义如下:

橙20~40 黄40~50 绿50~65 紫65~85 白85~110 棕110~140 黑140~180(误差5%~10%)。
维修中需要更换半导体管时,应当尽可能按原来β值色点配换,以保持原有性能。原无色点标记的,可参考宝石4B2型机的色点搭配如下:
(1)3AX13原为40~85(黄、绿、紫)的,3AX14可配用65~140(紫、白、棕);
(2)3AX13原为20~50(橙、黄)的, 3AX14可配用 85~180(白、踪、黑);
(3)3AX13原为85~110(白)的,3AX14可配用65~85(紫)。
2.由于三管机输出功率有限,要获得较高的声压和音质,可将扬声器改用高效型的(如华北厂YDL1-1型8欧0.1瓦型),配上合理的机箱,可以获得更丰富的音色。曾试将宝石4B2型三管机换用上述高效扬声器,音质大有改善。(浩波)