测定粮食的含水量,是粮食保管工作中一项很重要的工作。如果只靠经验来估计粮食的含水量,是不够准确的,而采用秤量、烘干、计算等方法进行测量,操作、又太复杂,所需时间也比较长。我们试制了一架“快速粮食湿度测定器”,结构较简单,使用起来也比较方便,测量误差一般不超过±0.5%。下面我们把它介绍出来,供大家参考。
工作原理
如果我们在一个粮筒里装满粮食,再给这些粮食加上一个固定的电压,那么由欧姆定律可知,流过粮食的电流和粮食的电阻成反比。通过粮食的电流越大,说明粮食的电阻越小。而粮食的电阻,与粮食的湿度有一定关系。一般说来,湿度越大,粮食的电阻就越小。根据这种关系,我俩就可以求出通过不同湿度的粮食的电流,并根据湿度和电流的关系绘制出一条电流——湿度关系曲线,如图1所示(绘曲线时,可采用秤量、烘干、计算的方法确定粮食的湿度)。以后实际进行测量时,只要求出通过粮食的电流,就可以从曲线上查出相应的湿度了。

由于各种粮食的电阻与它本身的性质、结构有关,所以对不同品种的粮食应分别进行测量,绘出不同的电流——湿度关系曲线。
电路
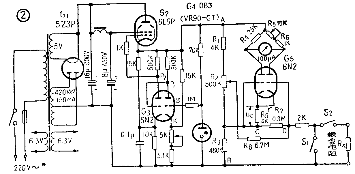
快速粮食湿度测定器的电路如图2所示。它是由电源和测量电桥两部分构成的。在电源部分中,220伏交流市电经电源变压器和整流管G\(_{1}\)以后,加到调整管 G2和控制管G\(_{3}\)上。调整管可以随着负载或电源电压的变动,自动改变内阻,因而可以改变它本身的电压降,使输出电压稳定。例如,当输出端(图2中A、B两点)电压升高时,控制管G3左边三极管部分的阴极(K点)电压将相应升高,而它的栅极(g点)由于通过1M电阻接到稳压管G\(_{4}\)上,所以电压保持不变。这就减小了G3左边三极管的屏流,使P\(_{1}\)点电位升高,P2点电位降低,因此调整管G\(_{2}\)的内阻变大,它本身的电压降也变大,使输出电压恢复正常。当输出端电压降低时,这个过程正好相反。

测量电桥的四个臂分别用电阻R\(_{4}\)、R6、电位器R\(_{5}\)和双三极管G5的两个三极管部分的内阻构成。在电桥的对角线上接一个100微安的直流电流表。电子管G\(_{5}\)左边三极管栅极上的负电压UC决定于电阻R\(_{9}\)上的电压降;而右边三极管栅极上的负电压则决定于电阻R9和R\(_{7}\)上的电压降之和。C点电位基本上是不变的(因为C点接在分压电阻R3上),但调节电位器R\(_{2}\)可以改变D点电位。当开关S1和S\(_{2}\)均打开时,可适当调整R2,使D点电位高于C点,这时电桥可达到平衡,电表指针指零。当开关S\(_{1}\)闭合以后,电桥的平衡被破坏,这时可适当调整R5,使电表指针指最大。把开关S\(_{1}\)打开,S2闭合,即接上粮食电阻以后,则电表指针将根据粮食湿度的不同而指出一个相应的电流数值来。
使用说明
使用时先接好电源,使仪器预热几分钟。然后调整R\(_{2}\),使指针指零,再按下开关S1,使指针指最大读数,如不能达到,可适当调整R\(_{5}\)。这样反复调整几次,一直到打开S1,指针指零,闭合S\(_{1}\),指针指100μA为止。这时把空粮筒装好,闭合S2(注意测量时S\(_{1}\)是打开的),测出未装粮食时的电流读数,并记下来。然后再把粮食倒入粮筒,得出另一个电流读数。根据两电流读数之差,再去查曲线,就可求出粮食的湿度了。
这个仪器的量程还不够宽。可以将R\(_{7}\)改为阻值不同的一组电阻,用转换开关改变阻值,这样可以扩大量程。
最后要说明一下,本仪器测量结果还不够十分精确,特别是绘制曲线的条件和实际测量条件不同时,将会引起较大的误差。仪器一次使用时间不能过长,否则由于温度过高,也会引起误差。这些都是有待于和大家共同研究改进的地方。(韩章乔)