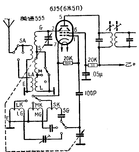
6J5(6Ж5Π)型电子管是一种具有五极管特性的高频锐截止四极管,主要用作高频宽频带电压放大或视频前置放大(参见1959年第2期介绍)。在变通使用时,它也可以用在普通广播收音机里作为变频管使用。例如本刊1964年第8期“六灯超外差收音机的实验”一文的变频电路,按照本文附图接法,用一只6J5可以代替原来由两只6J3构成的混频电路。在一般超外差收音机里,如果变频管6A2坏了,也可以临时用它担任变频,只要将原6A2管座的第2和第7脚接线互换,可以直接插上代替6A2,微调一下第一级中频变压器的初级调谐回路,就可以像6A2一样的使用。不过6J5是锐截止式电子管,它不能加接自动增益控制,变频增益也小些。(程培其)
