本刊最近几期介绍了一些在低乙电状态下工作的电子管收音机电路。经过我们多次实验,顾就此问题提出一点看法。
目前常用国产直流电子管是:2P2(2П2П)、 1A2(1A2П)、 1K2(1K2П)及1B2(1Б2П)。在低乙电下工作时,他们的效率和性能是有很大差别的。当工作乙电为6状以下时,用2P2装成的单管再生式收音机最好,其次是用1A2装成的,与双回路矿石机相比,灵敏度较高、收音效果较好,再生稳定。用1K2和1B2效率比一般矿石机高不多少,只是选择性提高一些。当乙电为9~12伏时,效果最好的是1A2,这时灵敏度显著提高,放音响亮,其次是2P2;但后者耗费甲电多,约为1A2的二倍。IK2及1B2的工作效果不够满意。当把乙电提高到15伏以上的,这四种电子管的效率基本一样,都能获得满意的结果。
本刊去年第3期上介绍的“电子管—晶体管混合式二管机”,它是用一只电子管2P2作再生式栅路检波,另一只低频半导体三极管3AX2(П6Б)作一级低放,乙电为9伏,具有较高的灵敏度。去年第7期介绍的“低乙电两管机”是用一个2P2作再生式检波,然后耦合到另一个2P2进行低放。工作乙电也是9伏,优点与上相同,但甲电消耗较大。在去年第9期上发表的“做一架低电压单管收音机”,除选择性比较好外,没有什么显著的优点。
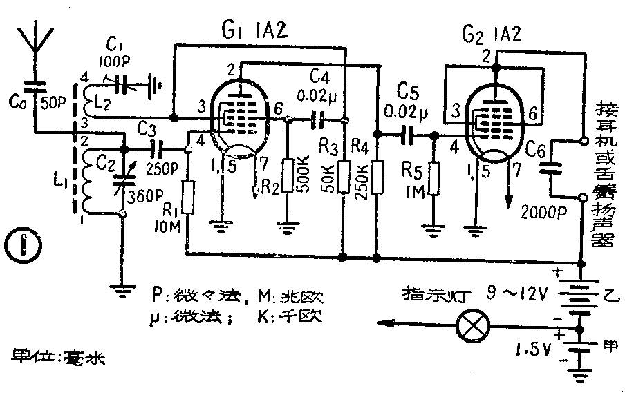
针对上述情况,我们曾用1A2电子管反复进行过多次试验,结果发现图1上画出的电路是效果比较好的一种。最初曾在乙电是6伏的情况下,对1A2和2P2同时进行实验,发现如前所述,前者的效果没有后者好,而后者耗甲电量是前者的二倍。当我们把乙电提高到9~12伏的时候,情况发生了显著的变化。实验证明,在9伏以上,1A2电子管的工作比较满意,不仅可用做检波及低放,而且担任高放和变频效果都很好。

图1的电路是利用两只1A2电子管做的低乙电二管机。电子管G\(_{1}\)作再生检波,它的第3栅与第2、4栅对交流而言是接在一起的,由它们供给再生,屏极输出音频信号。电子管G2接成三极管做功率放大。这个电路的特点是:(1)检波级的第一栅的栅漏电阻R\(_{1}\)用得很大(10兆欧),且接正电位,这样就有助于使阴极发出的电子较快地飞向屏极,大大克服了低乙电工作的缺点;(2)用电省,乙电消耗量总共不到1毫安;(3)用半可变电容器调节再生,调节合适后,就可固定不动了。此处可以600号垫整电容器拆去三片代用。
按这种电路装成的收音机如接上外天线,可以收听中波的很多电台,估计有2毫瓦以上的输出功率,可以带动舌簧扬声器。
线圈L\(_{1}\)、L2是绕在一根M\(_{4}\)型、10×140毫米或10×170毫米的磁性棒上(见图2),Ll是用0.12毫米径(40号)漆包线29股绞成多股线,绕45圈,线头为1和2。L\(_{2}\)是用0.31毫米径(30号)漆包线绕30圈,线头为3和4。要用绝缘纸把线圈与磁性棒隔开。

装配时最好用锡箔纸将G\(_{1}\)裹上,并用细裸线绑好后接“地”,外层再用薄绝缘纸包好。这样可防止杂音混入,且可省掉电子管插座,而直接往管脚上焊线,以缩小收音机体积,并且牢固可靠。
此机的缺点是电子管的热噪声比较大。但对于简单的收音机来讲,并不很重要。而且各个具体电子管的热噪声的大小也是不一样的,可以通过实验选择热噪声最小的。(杨文利)