(刘腾江)珠江SB3-1型收音机是广州曙光无线电仪器厂的产品,它是一种采用高放再生来复低放式电路的简易型半导体三管机,适合在农村、渔区和无交流电源地区,以及城乡旅行收听广播使用。
工作原理
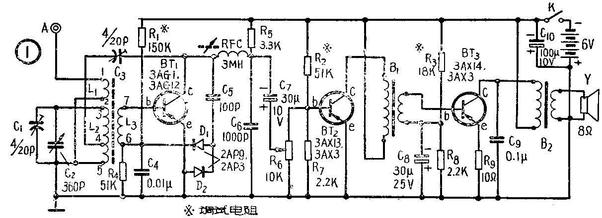
本机电原理图如图1所示。采用高频半导体三极管3AG1(2Z301)或3AG12(Π402)、3AGll(Π401)担任高放兼来复低放;用两只2AP9(1Z1)或两只2AP3(Д1B)半导体二极管作倍压检波;用低频半导体三极管3AX13(2Z171)或3AX3(Π6B)作低频电压放大(部分产品用181);用低频三极管3AX14(2Z172)或3AX3(Π6B)作低频功率放大(部分产品用182)。

工作时,高频信号从外接天线经L\(_{1}\)耦合或直接由磁性天线感应到L2、C\(_{1}\)、C2组成的调谐回路,再经L\(_{3}\)送到半导体管3AG1的基极进行高频放大。放大后的高频信号,一部分经半可变电容器C3正反馈到L\(_{2}\)调谐回路产生再生,以提高灵敏度和选择性;另一部分经C5送至两个二极管作倍压检波。经过检波后得到的音频信号,经L\(_{3}\)加到3AG1管基极作来复式的音频放大,放大后的音频信号,通过高频扼流圈(RFC)并经C7、R\(_{6}\)输入三极管3AX13的基极进行放大,然后用输入变压器B1耦合至另一三极管3AX14作功率放大,最后经由输出变压器B\(_{2}\)推动扬声器发音。
电路特点
(1)检波级采用倍压检波电路,可得到较高的检波效率,特别是对弱信号(比如场强在5~10毫伏/米时)的检波能保持一定的灵敏度,且失真较小,这对于在离电台较远的农村中使用来说,采用此电路是适宜的。由于检波管工作在正偏压,检波所得到的信号,除了所需的低频信号以外,还有一部分直流分量(在R\(_{4}\)上的电压降)同时反馈至3AG1的基极与发射极间,它所形成的电流与三极管原偏流方向相反,抵消一部分基极偏流,使集电极电流Ic相应降低,增益相应减小,而检波后的直流电流大小是正比于外来信号的载波电压的,因此能起自动增益控制的作用。
(2)输出级加入了串联反馈电路。主要是用来提高收音机的热稳定性、减小非线性失真和保证半导体管3AX14的工作安全。此电路实际上只在发射极串接了一个电阻R\(_{9}\)(10Ω),它和偏流电阻R8(2.2KΩ)等组成一个热稳定回路,回路内的电流与基极偏流方向相反,从而起温度补偿作用(参看上期半导体知识栏)。此外,由于在电阻R\(_{9}\)的两端没有加接交流旁路电容器,在R9上还产生了交流负反馈,这可以减小非线性失真和抑制整机噪声。
主要电气性能指标
1.频率范围:不狭于535~1605千赫。
2.灵敏度:不低于7毫伏/米。
3.选择性:在1000千赫偏调±10千赫时大于-12分贝。
4.电压频率特性:350~3000赫内不均匀度小于6分贝。
5.整机电压谐波失真:在标称功率(15毫瓦)时小于10%。
6. 最大输出功率:60~70毫瓦。
7. 电源电压:6伏,下降到4.5伏时仍能工作。
8.电源消耗:20~22毫安。
外形、结构和工艺上的特点
(1)本机的外壳是用酚基塑料(电木粉)压制,配上晒彩色的横度盘和金属装饰件,外形美观大方。
(2)调谐方式是采用拉线传动走针指示方式,刻度指示清楚,旋动灵活,选台稳定。
(3)为适应生产和方便维修,采用普通电子管收音机用的大元件,而在整机体积(220×145×75毫米)和重量(净重的1.6公斤)方面又保持了便携式的特点。
(4)元件全部安装在一块208×128毫米的胶纸板冲制成的绝缘基板上,排列整齐,且用仿印刷电路来走线焊接,可靠美观。
元件的选用和数据
1.半导体管:本机对半导体管的要求,高频管(3AG1或3AG12),其β值应不低于30,低频管(181、182或3AX3)的β值应不低于24,并注意配搭,则灵敏度可以达到上列指标。
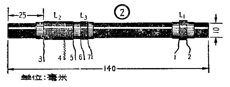
2.磁性天线:采用Man4φl0×140毫米的磁棒。L\(_{1}\)为5毫米宽的蜂房式线圈,用0.1单丝漆包线绕30圈,L2、L\(_{3}\)均用7×0.07毫米丝漆包线绕制,其中L2是单层密绕50圈,在47圈处抽头,L\(_{3}\)与L2相距3毫米,单层密绕5圈。线圈出头接向及在磁棒上位置见图2所示。

3.高频扼流圈:电感量2~3毫亨,在直径φ9毫米的塑料线圈管上绕成三节蜂房式,每节宽度2.5毫米,间距2毫米,每节180圈,并用M\(_{1}\)螺纹磁心(螺径6毫米,螺距1毫米,长12毫米)调节,见图3。

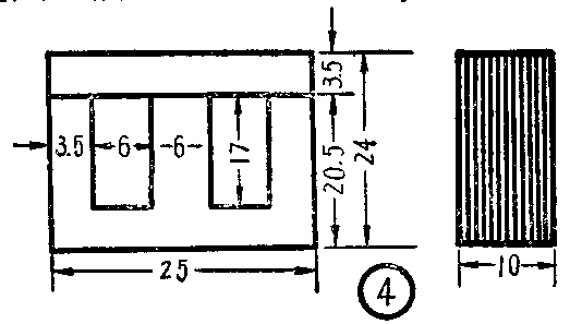
4.输入变压器:采用EI形硅钢片铁心(片厚0.35毫米),中心舌宽6毫米,迭厚10毫米,详见图4。线圈骨架是由六块0.6毫米厚的胶纸板冲制成的骨架板拼凑成,结构牢固,能耐高温,适合各种浸渍。线圈的初、次级均用0.11毫米的高强度漆包线平乱绕,圈数见图5所注。在骨架上垫绝缘漆绸二层后先绕次级,级间垫绝缘漆绸二层,然后绕初级,最外包绝缘漆绸二层。在20℃时,初级直流电阻不大于310Ω,次级不大于32Ω。初级电感量不小于4亨。


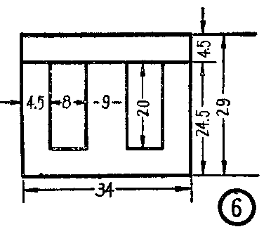
5.输出变压器和扬声器:输出变压器电路图见图6。采用EI形硅钢片铁心,中心舌宽9毫米,迭厚10毫米,详见图6。线圈骨架使用0.8毫米胶纸板,骨架结构和线圈绕法与输入变压器相同。绕制圈数见图7所注。20℃时,初级圈直流电阻不大于10Ω,次级不大于0.5Ω。初级圈电感不小于0.2亨。配合飞乐牌YDO.5—401—Bi四吋8欧扬声器。


收音机的调整
1.本机各级半导体管的工作状态分别由R\(_{1}\)、R2、R\(_{3}\)偏流电阻进行调整,各管集电极电流调整范围为:
使用以下一套半导体管时
3AG12(П402) 0.5~1毫安;
3AX3(П6B) 2.3~2.8毫安;
3AX3(П6B) 16~18毫安。
使用另一套半导体管时
3AGI(2Z301) 0.5~0.6毫安;
3AX13(2Z171) 1.2~2毫安;
3AX14(2Z172) 17~19毫安,
2.高频扼流圈的位置调整:高频扼流圈与输入回路的磁性天线调谐线圈基本上是保持垂直(90°角)放置,但在校试收音机时,还可以调整高频扼流圈放置角度,以取得合适的低端灵敏度,使收音机的高、低端灵敏度均衡,见图8示意。

3.对再生电容器C\(_{3}\)(圆片微调瓷介电容器)的调整:本机在出厂时,按当时环境温度,兼顾到灵敏度、选择性、频率响应和失真度等几个电气指标调整在最佳位置,但用户在不同地区使用过程中,也可根据当时收音灵敏度情况加以调整。当接收时带有啸叫声,即说明是再生过强了,可用螺丝刀将电容器C3的动片慢慢旋动,直至啸叫声停止;若收音机在同一地点收听同一电台,音量比原来变小时,而电池电压是在5.6伏以上的话,可将再生电容器动片向音量增强方向慢慢旋动,直到声音最大而又没有啸叫出现为止。