最近我装了一架矿石收音机,体积只有火柴盒大小,便于携带。它在离电台近的地方只用磁棒做天线就可以收音;在远离城市的农村,加接上室外天线和地线,也能很好地收音。如果离电台不太远,加上好的天、地线,还能接扬声器放音。

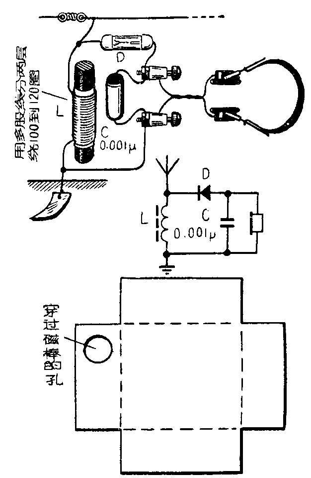
本机电路如图。磁棒无线的尺寸是10毫米直径、50毫米长;将它插在线圈L的管子里,抽到一定地方就可以收到电台播音。
D用固定矿石或半导体二极管都可以。本机机壳可按图示形状(长40毫米、宽35毫米、高15毫米)用木板、硬纸板等适合切割加工的材料制作。为了坚固起见,可在四角加上四根支条。(张志鹏)