这里介绍一项采用低中频的半导体超外差机业余制作实验,目的是向大家提供一个电路方案,看它是否能够代替干电池式五灯机,成为一种费用低、性能好、适合广大农村和无交流电源地区普遍使用的广播收听工具。
超外差式电路性能优越,原因在于它具有中频放大级。我国收音机的中频频率采用465千赫,为的是使收音机的抗假像能力和选择性得以兼顾(参看1961年第4期“中频为什么选用465千赫”)。但是半导体管有高频管和低频管之分,价格相差较大,而半导体机采用465千赫标准中频时,两个中放级就须配用两只高频管,是经济上值得考虑的问题。现在我们试将中频降低为150千赫左右,这就使3AX(П6)一类的廉价低频管也可以用在中频放大级。在第二中放级里,还使中放管兼作来复式低频放大。这样仅用一只高频管,搭配四只低频管,便装成了一台具有一级变频、两级中放、一级前置低放和一级推挽功率输出相当完备的超外差机。实验表明,中频用150千赫,整机的选择性和灵敏度都很令人满意,装制调整没有什么困难。至于假像干扰,由于输入回路使用磁性天线,回路的Q值高,选择性能好,在只收中波一个波段的收音机里,情况并不严重,在整个收听波段以内,还没有某一电台信号会在度盘另一刻度上重复出现造成干扰的情况。

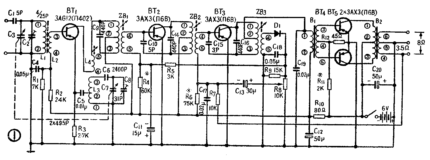
本机的电路原理如图1所示。变频级BT\(_{1}\)采用一只高频管3AG12(П402),线路接法是标准式的,振荡部分接成为共基极调发射极反馈振荡器,和一般不同的是,在这里中频为150千赫,所以本机振荡频率高出输入信号频率不是465千赫,而是150千赫。两级中放的线路结构也是标准的,中放管BT2和BT\(_{3}\)都用低频管3AX3(П6B)。经过试验,其他型号的低频管也都可用。三只中频变压器谐振频率均为150千赫。并联谐振电容选为440PF,电容量较小,目的是使回路的谐振阻抗较大,两级中放的增益较高。为了避免在收听本地强力电台时中放管过载引起失真,在第一中放级上加有自动增益控制。自动控制电压是由中频信号通过BT3第二次中频放大,经二极管D\(_{1}\)进行信号检波后取得,经过R5和C\(_{11}\)组成的滤波电路,然后送到BT2的基极上。滤波时间常数选为0.04秒上下。经过D\(_{1}\)检波后的音频信号电压,通过Cl3又回送到BT\(_{3}\)的基极,进行一次低频放大,这和一般简单的来复式高放机的结构是相同时。放大后的音频经过输入变压器B1,激励由两只3AX3(П6B) 组成的未级(BT\(_{4}\)和BT5)进行甲乙类推挽式功率放大输出。为了改善音质,低放和输出级还采用了负反馈电路,将输出变压器B\(_{2}\)次级的音频电压一部分经R7反馈到BT\(_{3}\)的基极,以校正一部分非线性失真,使扬声器放声优美,低音丰富。
本机基本上是由一台旧长江牌干电池五灯机改装起来的。原五灯机除了电子管以外,其他零部件如机箱、扬声器、双连电容(2×495PF)、中频变压器、电阻、电容器等,很多都保留或改装应用。关于零件的选择及制作,情况如下:
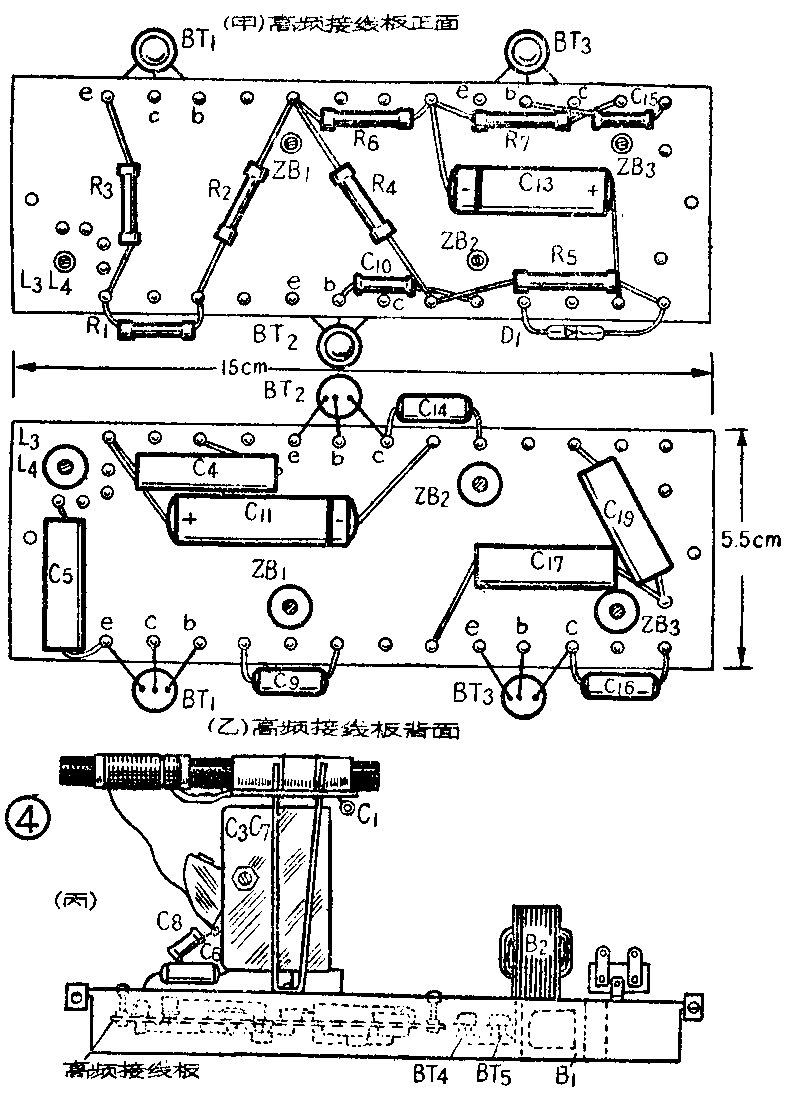
1.磁性天线 用M4型φ10×140的磁性瓷棒,在它上面用两层牛皮纸粘成一个纸管,用以绕制线圈L\(_{1}\)和L2,并使线圈能在磁棒上左右移动。线圈绕制数据见图2甲。如果双连(C\(_{3}\)、C7)是用2×360型的,L\(_{1}\)应绕52圈。

2.振荡线圈及中频变压器 配合150千赫中频的振荡线圈和中频变压器,没有成品可以利用,必须自制。长江机内原有中频变压器为两只带有磁环及调整磁心的小型中周(即华北厂ZPO型)。拆下它的线圈骨架四只(图2乙),恰好可以利用改绕本机用的振荡线圈一只及中频变压器三只。绕制时振荡线圈L\(_{3}\)用0.13毫米(39号)漆包线在一个槽内绕85圈,并在始端第6圈处抽头。L4用同号线在骨架另一槽内同方向绕20圈,接线次序见图2丙。中频变压器用0.1毫米(42号)漆包线,初级在骨架两个槽内共绕400圈,150圈处抽头。次级用0.13毫米漆包线直接在初级上面按同方向绕20圈。ZB\(_{1}\)2相同。ZB\(_{3}\)初级亦绕400圈,但在100圈处抽头,次级用0.1毫米漆包线绕100圈。接线次序见图2丁和戊。双连用2×360型时,振荡线圈L3应绕90圈,并在始端第7圈处抽头。这时垫整电容C\(_{6}\)须改为4000PF,补偿电容C8改用10PF的(改绕线圈的计算方法参看本年第10期“半导体起外差机振荡线圈的绕制和配用”)。
3.半导体管的选配 变频级各种型号高频管都可只用。由于变频级的工作频率较低,曾试将3AX5(П6Г)及3AX3(П6B)用在本级里,也能很好地收到频率高端的电台。低频管截止频率一般为1兆赫左右,所以大多都能满意的用在本机的中放级里。第二级中放管(BT\(_{3}\))担任中频及低频放大工作,对全机的性能影响较大,应当选用β产值较大的管子。推挽放大的两只管子参量应当相近,这样可减小静态工作电流及失真程度。

4.低频变压器 输入变压器B\(_{1}\)利用原五灯机的输出变压器铁心改制,初级用0.13毫米漆包线绕1800圈,次级用同号线双线并绕250圈,然后首尾相接成为500圈,层间加一或两层电容器纸作绝缘(图3甲)。输出变压器用窗口面积为7×7毫米的小铁心,初级用0.15毫米(38号)漆包线双线并绕300圈,首尾相接成为600圈层间垫电容器纸。决级用0.3毫米(30号)漆包线绕125圈,在40圈处抽头,层间可用薄牛皮纸作绝缘(图3乙)。如不自制,可选购如63\(^{A}\)B0 64A\(_{B}\)等型适当的成品使用。
组装及调整
本机利用长江牌五灯机的原有机箱和底板组装。在输入变压器B\(_{1}\)以前的高频和中频部分的零件全部先焊接在一块厚约2毫米、面积55×150毫米的布胶板上 (图4),中频变压器和振荡线圈都可不加隔离罩,装时位置应交错安放,使它们之间距离最远。

整机组装时,双连及电位器仍在原底板的相应位置,磁棒用铁片架高固定在双连的后面。此外底板上面只有输出变压器B\(_{2}\),其余地方留出放置四只l号干电池(另装在小木盒内,便于随时取换)。高频部分的接线板和输入变压器B1装在底板下面。输出管BT\(_{4}\)、BT5也在底板下面另用支架焊接装牢。
调整时为了便于检查,高频接线板部分先不装入底板内,并与末极输出部分先不连通。把R\(_{7}\)断开,用耳机接在B1初级两端,把输入部分接好,检查按线无误,接通电源,旋动双连即可收到本地电台播音。调整各中频变压器的磁心,使三个回路基本同调。改变中和电容(C\(_{1}\)0、C15),以使中频级不致产生寄生振荡。调整BT\(_{1}\)、BT2、BT\(_{3}\)的偏流电阻R2、R\(_{4}\)、R6,使各管工作电流分别为0.5、0.8、2.5毫安左右。如发现没有广播声青,可加天线试听,逐级检查。高频部分调好后,再用长螺丝将接线板固定在底板的下面(图4丙),并使可调整的部分问外,然后与推挽放大部分连通,调整R\(_{1}\),使BT4和BT\(_{5}\)两管无信号时集电极电流为2毫安。收听一个电台,旋大留量(R8在五灯机原为500K电位器,在它的内外两接点上并联上一只10K固定电阻,即可代替充作10K电位器使用),扬声器即发出宏亮的播音。最后接通R\(_{7}\)加入负反馈,音质会有显著改善。如发生强烈叫声,将B2的①、③两端对调即可消除。
关于统调校准,在没有信号发生器的条件下,可利用外来信号作调整依据。将双连旋出30°左右,转动振荡线圈磁心收听中央台(640千赫),移动L\(_{1}\)在磁棒上的位置使声音最大;再将双连旋出150°左右收听河北台(1280千赫)或其他邻近的台,旋动C2使声音最大。这样反复调整几次,高低频端就可达到统调,一般中点频率就不需校准了。如果调高频端时,C\(_{2}\)全部旋出而且还须将L1向磁棒外端移动,才能使这点灵敏度最高,说明垫整电容C\(_{6}\)有些过大,应适量减小,与此相反应将C6适量增大,然后再将中频及跟踪严格校准,最后用蜡将各调整磁心固定。
本机具有两级中放,回路谐振阻抗较大,所以整机灵敏度是很高的。调试时如发现有机震情况,可在C\(_{9}\)、C14、C\(_{16}\)两端并联50千欧的电阻,使中频回路谐振阻抗减小些。也可在设计中频变压器时,适当地减小些电感值,增大些回路电容,这样回路的通频带及稳定性还可以得到改善。(王起源)