可靠的放大器件
目前,磁放大器在自动控制、自动调整和遥控技术中,都得到了广泛的应用。例如,它可以用在电压、转速、温度、压力等的调节器里,用在机床和各种机器的自动监测系流里,可以用来放大传感器产生的温差电势、光电电流以及其他微弱信号。宇宙火箭的控制和遥测,也广泛地利用了磁放大器。这是由于和电子管放大器比较起来,磁放大器具有很多显著的优点。磁放大器是由磁心和线圈构成的。由于它不用电子管(也就没有炽热的阴极、易碎的玻璃泡、高度的真空和精致的结构)因此它非常坚固,可靠性高,寿命很长,不怕震动和颠簸,能够容许相当大的过负荷等等。磁放大器的这些优点,在具有成千上万个电子器件的复杂设备中特别显著。设想在某个复杂的自动装置中有10000个电子管,而电子管的寿命最多只有约2000小时。这样,在长期工作中,平均说来,每一小时就可能有五个电子管损坏。或者说,机器平均每工作12分钟,就可能要停下来换一个新电子管。这真是难以容许的事情。因此,在自动控制装置中,用坚固可靠的磁放大器来代替“脆弱的”电子管,便是十分自然的事了。
事情还不仅如此。大家知道,电子管虽然能很好地放大音频和高频电流,但是在几赫以下的低频范围,它的工作就很差。要用电子管放大变化极其缓慢的电流,或者说放大“直流”,那就十分困难了。磁放大器最适于放大缓变电流,而在自动装置系统里,又大都是需要放大直流或较低频率的电流。因此在这些设备中,磁放大器就排挤了电子管放大器。
磁放大器的另一个优点是稳定度高。当电源电压在额定值的±30%的范围内变动时,磁放大器仍然能够稳定地工作。它的灵敏度也很高,可以测量出零点零几微安的电流,放大弱到10\(^{-19}\)—10-17瓦的直流信号。一级磁放大器的放大系数可以高达一百万倍!
磁放大器的主要缺点是惰性较大,不宜放大高频电流。即使放大音频电流,问题也比较复杂。但是,最近由于不断研制新的高质量磁合金和采用新的线路,磁波大器的应用也正在向音频和更高的频率范围扩展。
磁放大器的工作原理

磁放大器是利用电路中线圈的电感量的变化来控制负载电流的。为了说明这个道理,我们先来看一下图1,a的电路。在这个电路中,把负载R\(_{L}\)和带有铁心的电感线圈L1串联起来接到交流电源u\(_{a}\)上。用电流表A指示电路中的电流。有铁心的线圈的电感量较大,因此对交流的感抗很大,使整个电路中的电流(I1)较小,负载R\(_{L}\)中得到的功率也小。
如果突然把铁心从线圈中抽出去,如图1,b所示。这样,线圈的电感量就急剧减小到L\(_{2}\)。它的感抗突然减小,就使电路中的电流突然增加(由I1增加到I\(_{2}\)),因而在负载RL中得到了很大的功率。
用手抽掉铁心时所花费的功率只相当于几个瓦,但却能使负载R\(_{L}\)增加好几千瓦的功率。由此可见,图1这个简单的装置就是一个磁放大器。
实际的磁放大器当然木是用手去移动铁心,从而使电感量发生变化。它是用改变铁心磁化程度的办法来改变电感量,从而控制负载电流的。

大家知道,铁心的磁通量密度(磁感应强度)B并不和产生这个磁通量的磁提强度H成正比。如图2中的曲线B所示,当磁场强度H从零开始增加时,B一开始增加得很快,随后就增加得较慢,最后,当磁通量达到饱和时,即使再增加磁场强度H,磁通量密度B也不会再增加。我们把B和H的比值叫做导磁率,用μ来表示。写成公式就是μ=\(\frac{B}{H}\)。既然在H均匀增加时,相应的B值的增加越来越小,所以μ=B;H这一比值就随着H的增加而逐渐减小,如图2中的μ曲线所示。
铁心上绕的电感线圈,它的电感L和铁心的导磁率μ有密切的关系。μ越大,电感L就越大;μ减小,电感L也就减小。由此可见,改变铁心的磁化强度,或者说改变H,就可以控制电感量L。

在前述电感线圈L的铁心上另外绕一个线圈,用来控制铁心的磁化强度(改变H),就构成了一个简单的磁放大器(图3)。这个新加的线圈(W\(_{c}\))叫做控制线圈,相应的电路叫做控制电路,在控制电路中加入我们所要放大的电压信号(uc)。接在负载电路中的、电感量受控制而变化的线圈叫做工作线圈 (W\(_{a}\)),相应的电路叫做工作电路或负载电路。在工作电路中必须接交流电源ua。在控制电路中接一个扼流圈,是为了防止工作电路中的交流电流感应到控制电路中来,破坏磁放大器的正常工作。但是对于直流或缓慢变化地交流信号(u\(_{c}\))来说,扼流圈所呈现的阻抗则很小。
当控制电路中的电流很小时,磁场强度H也很小,而铁心的导磁率μ就很大。因此,工作线圈W\(_{a}\)的电感L很大,工作电路中的电流就很小。但是只要稍微增大控制电路中的电流,铁心导磁率μ就急剧减小,工作电路的电流就急剧增大,负载RL上的电压和得到的功率也急剧增加。这样就把输入信号(u\(_{c}\))放大了许多倍。
如果把磁放大器和电子管放大器比较一下,就可以发现它们有某些类似的地方。磁放大器的控制线圈起着电子管控制栅极的作用,控制着负载中的电流。但是,应当注意到,电子管中的屏极电源是直流电源。当没有信号时,电子管的展流是直流;当加了控制信号时,屏流的大小随着控制信号而变化,可以直接得到放大了的信号电流。磁放大器工作电路中的电源是交流电源。即使没有外加信号,工作电路和负载中通过的也都是交流电流,它的频率和工作电路中电源u\(_{a}\)的频率一样。当控制电路中没有直流电流时,负载中的交流电流幅度很小,当控制电路上通过直流电流时,负载中的交流电流幅度增大。当控制电路中加上缓慢变化的信号uc时,磁放大器的负载电流i\(_{L}\)就是幅度随控制信号缓慢变化的交流电流,如图4所示。换句话说,负载电流iL就是经过信号调幅的“高频”电流。这里所谓“高频”,实际上就是工作电路中交流电源u\(_{a}\)的频率。

在自动控制技术中,常常使用一些能对交流电流的幅度变化起反应的元件,例如交流继电器。如果把交流继电器作为磁放大器的负载(R\(_{L}\)),那么,当控制电流增大到某一预定的数值时,工作电路中的交流电流幅度就会增大到使交流继电器动作,吸动衔铁,把要控制的设备接通。
但是,有时也需要在负载中得到和输入信号形状相同的放大信号,这时就需要在负载电路中接一个检波器,把信号从已调幅高频电流中检出来。道理和收音机中检波器的工作是一样的。
和采用调幅的普通无线电设备一样,磁放大器在放大交变信号时,其电源频率(载波频率)应为被放大信号最高频率的5~10倍。
几种磁放大器电路

在各种控制设备中,常常采用双环形铁心的磁放大器,如图5所示。这里两个工作线圈是按相同方向串联起来,而两个控制线圈却是方向相反地串联在一起。这样,两个工作线圈中的交流电流分别在两个控制线圈中感应的电动势,在控制电路中刚好是方向相反,因而不会在控制电路中产生出交流电流。这样,在控制电路中就不需要再用扼流圈了。此外,磁放大器中采用双铁心,可以使工作线圈电流随控制电路信号的变化更接近于线性关系,并且还能提高磁放大器的灵敏度。

磁放大器也可以采用Ш形铁心,如图6所示。这里工作线圈W\(_{a}\)(交流线圈)是绕在两边心柱上,绕向也相反,因此铁心中由于工作电路交流电流而产生的交变磁通,只通过两边的心柱,而不进入绕有控制线圈Wc的中间心柱。这样,控制线圈里便不会感生出交流电动势,因此控制电路中就不需要再用扼流圈了。
5~10瓦以上的大功率磁放大器的铁心,多采用制造普通变压器的硅钢片迭制而成。功率较小的磁放大器,利用坡莫合金作铁心,可以得到很高的灵敏度。但是坡莫合金只能在很低的频率上应用。在较高的频率上,就需要用铁淦氧(铁氧体)来作铁心。

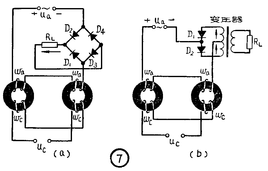
下面我们举出带有检波器的磁放大器电路的两个例子(见图7)。图7,a是桥式检波电路。D\(_{1}\)、D2、D\(_{3}\)、D4是硒整流器或氧化铜整流器。在电源电压的正半周,电流经工作线圈、D\(_{1}\)、RL、D\(_{4}\)流回电源。在电源电压的负半周,电流经D2、R\(_{L}\)、D3、工作路圈流回电源。和普通收音机中检波器的情况一样,流过负载R\(_{L}\)的是单方向的脉动电流,它的平均分量的数值和输入控制信号的大小成正比。在图7,b的电路中,由于采用了变压器,所以可以少用两个整流器。在电源电压的正半周,电流流经变压器初级圈的上半部(自下而上)及整流器D1;在负半周,电流经过D\(_{2}\)后,再流经初级圈的下半部,其方向仍然是自下而上。因此,在负载电阻RL中,同样也是流过单方向的脉动电流。
和电子管的情况相似,磁放大器中也可以采用附加的偏磁线圈,使铁心中建立一定的起始磁化,以选定合适的工作点。也可以采用反馈线圈,引入适当的反馈,以改善磁极大器的特性,特别是可以减小磁放大器的惰性,以提高它的运用频率。最后,也可以利用几个磁放大器组成多级放大器,得到更高的放大率。(黎明)