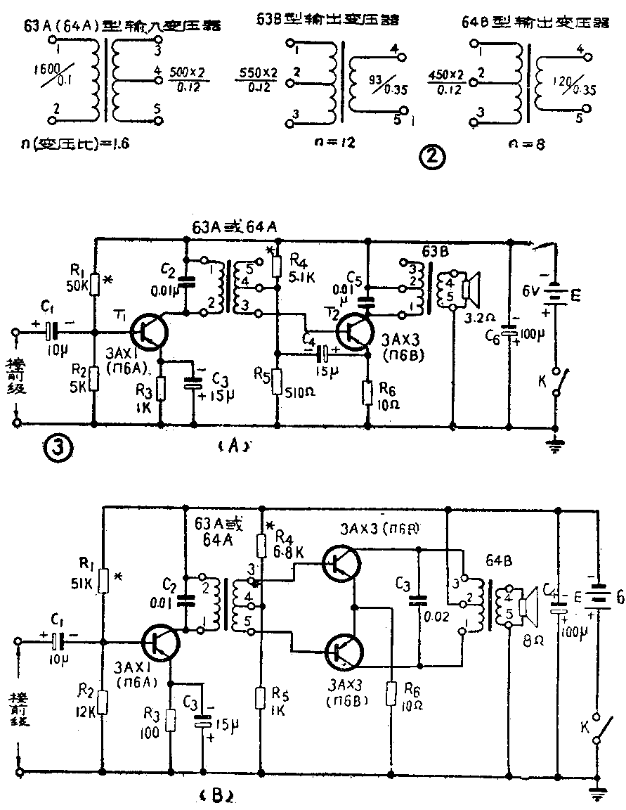
63\(^{A}\)\(_{B}\)型和64AB型输入、输出变压器(国营北京有线电厂产品)是供半导体收音机用的小型变压器。这两种变压器的结构完全一样,输入变压器(63A、64A)是通用的。输出变压器的两种型号只是匝数比不同, 63B型运合与音圈阻抗力3.2欧的电动式扬声器匹配,64B型适合8欧阻抗的扬声器。这种变压器结构小巧,引出头有清楚的标志,在输出不失真功率、电压谐波失真、阻抗匹配、频率特性等电气性能方面,能够满足便携式半导体收音机的要求。
结构
变压器的线圈绕在由苯铵酚醛粉压制成的线图架上。为了适合印刷电路和便于固定其他元件,采用硬的接线脚。这种接线脚是用φ0.8毫米的紫铜线经达冲压制成,在线圈内部与漆包线焊牢。铁心片采用D42型硅钢片冲成斜山型,由两片对插而成。为了便于固定,在变压器外面装有用厚为0.3毫米钢带冲成的外壳,作为固定架(图1)。为了防潮,在变压器制成后喷有一层绝缘清漆。

使用
这两种变压器都用于半导体收音机的低放部分,适用国产任何型号的低频小功率半导体三极管,最大输出功率可达100毫瓦。变压器的绕制数据见图2。

为了便于业余爱好者使用,这里给出两个低放部分线路(图3),供大家参考。(张振骐)